TOP
|
特許
|
意匠
|
商標
特許ウォッチ
Twitter
他の特許を見る
10個以上の画像は省略されています。
公開番号
2025164970
公報種別
公開特許公報(A)
公開日
2025-11-04
出願番号
2024068750
出願日
2024-04-22
発明の名称
レンズ鏡筒、及び撮像装置
出願人
キヤノン株式会社
代理人
個人
,
個人
,
個人
主分類
G02B
7/02 20210101AFI20251027BHJP(光学)
要約
【課題】簡素な構造で、レンズ鏡筒の全長短縮化を可能とするレンズ鏡筒を提供する。
【解決手段】可動部材に保持されたレンズの中心軸が光軸上に位置する挿入位置と、レンズの中心軸が光軸上から退避した退避位置に、操作部の操作に応じて可動部材を挿抜可能とするレンズ鏡筒であって、操作部の操作力を可動部材に伝達する操作力伝達機構を有し、可動部材は、挿入位置と退避位置間で回転するための光軸と平行な軸を有する第1の回転軸を有し、操作力伝達機構と第1の回転軸とは、光軸に沿った方向から見たときに、少なくとも挿入位置と退避位置の間で重ならない。
【選択図】図1
特許請求の範囲
【請求項1】
可動部材に保持されたレンズの中心軸が光軸上に位置する挿入位置と、前記レンズの中心軸が光軸上から退避した退避位置に、操作部の操作に応じて前記可動部材を挿抜可能とするレンズ鏡筒であって、
前記操作部の操作力を前記可動部材に伝達する操作力伝達機構を有し、
前記可動部材は、前記挿入位置と前記退避位置間で回転するための光軸と平行な軸を有する第1の回転軸を有し、
前記操作力伝達機構と前記第1の回転軸とは、光軸に沿った方向から見たときに、少なくとも前記挿入位置と前記退避位置の間で重ならないことを特徴とするレンズ鏡筒。
続きを表示(約 1,200 文字)
【請求項2】
前記操作力伝達機構は、前記挿入位置と前記退避位置に前記可動部材を保持するための付勢力を前記可動部材に加える付勢部材を有することを特徴とする請求項1に記載のレンズ鏡筒。
【請求項3】
前記操作力伝達機構は、
前記操作部の操作に応じて光軸と平行な軸を有する第2の回転軸周りに回転可能な操作部材と、
光軸と平行な軸を有する第3の回転軸周りに前記操作部材に対して相対回転可能に連結される第1の連結部と、を有する、
ことを特徴とする請求項1に記載のレンズ鏡筒。
【請求項4】
前記操作力伝達機構は、前記可動部材を前記第1の回転軸周りに前記挿入位置から前記退避位置、若しくはその反対方向へと回転させるために駆動力を伝達する第2の連結部を有し、
前記第2の連結部は、前記可動部材に設けられたガイド部と係合することで前記挿入位置から前記退避位置間で前記ガイド部内を移動することを特徴とする請求項1に記載のレンズ鏡筒。
【請求項5】
前記第2の連結部は、前記可動部材の前記挿入位置と前記退避位置において、前記ガイド部内を移動し、前記ガイド部と係合する位置が変わることで、前記可動部材に加わる前記第1の回転軸周りのモーメントの方向が反転することを特徴とする請求項4に記載のレンズ鏡筒。
【請求項6】
前記第2の連結部には移動部材が取付けられ、前記移動部材が前記ガイド部内を移動することで前記第2の連結部も連動して移動することを特徴とする請求項4に記載のレンズ鏡筒。
【請求項7】
前記可動部材は、
光軸に直交する平面内に設けられたガイド部と、
前記挿入位置において前記可動部材の前記第1の回転軸周りの回転を規制する第1の規制部と、を有する、
ことを特徴とする請求項1に記載のレンズ鏡筒。
【請求項8】
前記可動部材の前記第1の回転軸周りの回転を規制する第2の規制部を有し、
前記可動部材が前記第1の回転軸周りに回転した際に、前記第2の規制部に前記第1の規制部が当接することで前記第1の回転軸周りの回転が規制されることを特徴とする請求項7に記載のレンズ鏡筒。
【請求項9】
前記操作力伝達機構は、
前記可動部材に設けられたガイド部と係合する第2の連結部を有する中間部材と、
一端が前記操作部の操作に応じて光軸と平行な軸を有する第2の回転軸の軸部に設けられる第1の係合部に係合し、他端が前記第2の連結部に設けられる第2の係合部に係合する付勢部材と、を有する、
ことを特徴とする請求項1に記載のレンズ鏡筒。
【請求項10】
前記付勢部材は、光軸に沿った方向から見て、前記第1の係合部と前記第2の係合部とを互いに引き付け合うコイルバネであることを特徴とする請求項9に記載のレンズ鏡筒。
(【請求項11】以降は省略されています)
発明の詳細な説明
【技術分野】
【0001】
本発明は、レンズ鏡筒、及び撮像装置に関するものである。
続きを表示(約 2,500 文字)
【背景技術】
【0002】
従来、デジタルカメラ等の光学機器のレンズ鏡筒において、撮影シーンに応じてより望遠で撮影できる焦点距離に変更する手段として、エクステンダーがある。カメラ本体とマスターレンズの間に装着して使用するもので、例えば1.4倍、2.0倍に焦点距離を伸ばすものがある。ただし、マスターレンズに対して着脱するようなエクステンダーは、着脱の手間や、着脱時のごみの侵入等の懸念がある。そこで、レンズ鏡筒内にエクステンダーを内蔵させることで、着脱の手間や、着脱時のごみの侵入等の懸念を防ぐレンズ鏡筒がある。このようなレンズ鏡筒内にエクステンダーを内蔵させた場合には、撮影者がエクステンダーの拡大光学系の中心軸が光軸上にある位置と、光軸上から退避した位置に移動させるための挿抜操作が必要となる。撮影時の利便性を考慮すると、この撮影者によるエクステンダーの挿抜操作がより簡単で快適であることが望まれる。
【0003】
特許文献1では、撮影者はカメラを右手でグリップした際に、そのまま右手の指を伸ばしたところにエクステンダーの挿抜操作をするための操作部がある。これにより撮影者は左手でレンズ鏡筒を支えたまま、右手だけでエクステンダーの挿抜操作が可能である。そのため撮影に集中しながら撮影シーンに応じた焦点距離に変更ができる。
【0004】
この特許文献1におけるエクステンダーの挿抜機構には、可動部に保持されたエクステンダーの拡大光学系の中心軸が光軸上にある位置と、光軸上から退避した位置との間で可動部を回動する機構がある。また撮影者の操作によって可動部の回動を操作する操作部がある。可動部は回転軸A4周りに回動し、撮影者の操作力が操作力伝達手段としてのギア列によって、可動部に伝達される。その際、撮影者がエクステンダーの拡大光学系の中心軸が光軸上にある位置、あるいは光軸上から退避した位置のどちらかに操作した際には、その位置にエクステンダーの拡大光学系が保持される必要がある。そこで、特許文献1では、可動部を付勢し、一端がレンズの外周よりも外側に位置する可動部の少なくとも一部に固定された弾性部材を有する。エクステンダーの拡大光学系の中心軸が光軸上にある位置と退避した位置との間の、所定位置よりも光軸上にある位置側になると、可動部を光軸上にある位置に向けて付勢する。また、可動部が所定位置よりも光軸上から退避した位置側になると、可動部を光軸上から退避した位置に向けて付勢する機構を有している。
【先行技術文献】
【特許文献】
【0005】
国際公開第2019/131186号
【発明の概要】
【発明が解決しようとする課題】
【0006】
しかしながら、上述の特許文献1では、弾性部材はエクステンダーの拡大光学系の中心軸が光軸上にある位置と、退避した位置との間を移動する際、可動部の回転軸A4周りの可動部材に加わるモーメンの方向が反転するように移動する。可動部側の第1の取り付け部と、内筒側の第2の取り付け部に、弾性部材であるバネ部材の両端がそれぞれ固定されている。可動部が光軸上にある位置では、バネ部材の張力により引寄せられ、可動部は光軸上にある位置に向けて付勢されるようなモーメントが働き、保持される。そして、可動部材は光軸上にある位置から退避した位置へ移動する途中で、バネ部材は可動部材の回転軸A4と光軸直行視において重なり合う。そして、バネ部材が可動部材の回転軸A4を通り越すと、可動部材は光軸上から退避した位置側へ向けて付勢されるモーメントが働き、保持される。つまり、このような構成をとることで、必ず可動部材の回転軸A4とバネ部材は光軸方向でズレた位置に配置することになるため、光軸方向における配置スペースを取る必要がある。そのため構成部品のレイアウト上の制約が発生し、レンズ鏡筒の全長を短縮する上での阻害要因となり得る。
【0007】
そこで本発明は、簡素な構造で、レンズ鏡筒の全長短縮化を可能とするレンズ鏡筒を提供することを目的とする。
【課題を解決するための手段】
【0008】
上記目的を達成するために、本発明の一側面としてのレンズ鏡筒は、可動部材に保持されたレンズの中心軸が光軸上に位置する挿入位置と、前記レンズの中心軸が光軸上から退避した退避位置に、操作部の操作に応じて前記可動部材を挿抜可能とするレンズ鏡筒であって、前記操作部の操作力を前記可動部材に伝達する操作力伝達機構を有し、前記可動部材は、前記挿入位置と前記退避位置間で回転するための光軸と平行な軸を有する第1の回転軸を有し、前記操作力伝達機構と前記第1の回転軸とは、光軸に沿った方向から見たときに、少なくとも前記挿入位置と前記退避位置の間で重ならないことを特徴とする。
【発明の効果】
【0009】
本発明によれば、簡素な構造で、レンズ鏡筒の全長短縮化を可能とするレンズ鏡筒を提供することができる。
【図面の簡単な説明】
【0010】
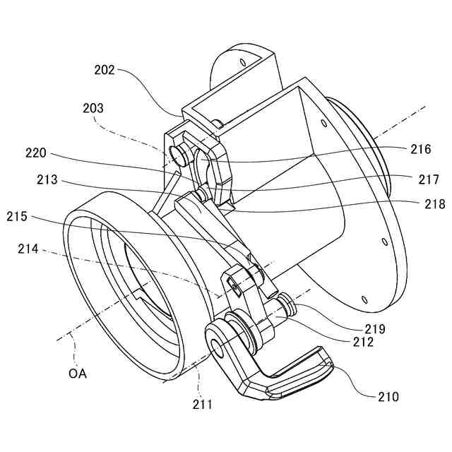
実施形態に係るレンズ鏡筒における特徴的な個所を示す斜視図である。
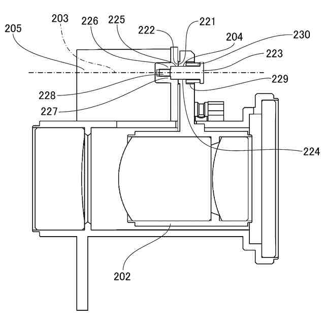
実施形態に係るレンズ鏡筒の概略断面図である。
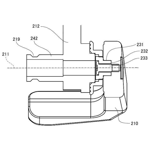
実施形態に係る第1の回転軸部の断面図である。
実施形態に係る4群鏡筒が挿入位置にある状態を、所定の光軸上の撮像面側から見た断面図である。
実施形態に係る4群鏡筒が退避位置にある状態を、所定の光軸上の撮像面側から見た断面図である。
実施形態に係る操作部材の第2の回転軸部の断面図である。
実施形態に係る第1の連結部における第3の回転軸部の断面図である。
実施形態に係る第2の連結部における中間部材の光軸方向へ延伸する第2の延伸部の断面図である。
実施形態に係るレンズ鏡筒を操作部側で且つ真横から見た図である。
実施形態に係るレンズ鏡筒の特徴的な箇所を図9と同じ視点で示した図である。
【発明を実施するための形態】
(【0011】以降は省略されています)
この特許をJ-PlatPat(特許庁公式サイト)で参照する
関連特許
キヤノン株式会社
容器
1か月前
キヤノン株式会社
容器
1か月前
キヤノン株式会社
トナー
1か月前
キヤノン株式会社
トナー
1か月前
キヤノン株式会社
トナー
1か月前
キヤノン株式会社
トナー
1か月前
キヤノン株式会社
トナー
26日前
キヤノン株式会社
撮像装置
1か月前
キヤノン株式会社
撮像装置
5日前
キヤノン株式会社
電子機器
26日前
キヤノン株式会社
記録装置
26日前
キヤノン株式会社
撮像装置
5日前
キヤノン株式会社
表示装置
5日前
キヤノン株式会社
定着装置
19日前
キヤノン株式会社
撮像装置
1か月前
キヤノン株式会社
撮像装置
1か月前
キヤノン株式会社
定着装置
19日前
キヤノン株式会社
記録装置
1か月前
キヤノン株式会社
記録装置
19日前
キヤノン株式会社
表示装置
5日前
キヤノン株式会社
電子機器
26日前
キヤノン株式会社
記録装置
26日前
キヤノン株式会社
定着装置
13日前
キヤノン株式会社
撮影装置
1か月前
キヤノン株式会社
記録装置
1か月前
キヤノン株式会社
撮像装置
27日前
キヤノン株式会社
表示装置
1か月前
キヤノン株式会社
撮像装置
1か月前
キヤノン株式会社
撮像装置
7日前
キヤノン株式会社
表示装置
5日前
キヤノン株式会社
測距装置
28日前
キヤノン株式会社
現像装置
1か月前
キヤノン株式会社
撮像装置
21日前
キヤノン株式会社
電子機器
21日前
キヤノン株式会社
現像容器
1か月前
キヤノン株式会社
定着装置
1か月前
続きを見る
他の特許を見る