TOP
|
特許
|
意匠
|
商標
特許ウォッチ
Twitter
他の特許を見る
10個以上の画像は省略されています。
公開番号
2025165225
公報種別
公開特許公報(A)
公開日
2025-11-04
出願番号
2024069200
出願日
2024-04-22
発明の名称
画像形成装置
出願人
キヤノン株式会社
代理人
弁理士法人大塚国際特許事務所
主分類
G03G
15/20 20060101AFI20251027BHJP(写真;映画;光波以外の波を使用する類似技術;電子写真;ホログラフイ)
要約
【課題】トナー像の定着性と画像形成装置の生産性とを両立する。
【解決手段】画像形成装置は、トナー像を形成する画像形成手段と、定着手段と、温度を検知する検知手段とを有する。画像形成装置は、検知手段により検知される第一温度と、第一温度が検知された後に検知手段により検知される第二温度とから温度パラメータを求める。温度パラメータは、たとえば、温度の傾きまたは温度差である。画像形成装置は、温度パラメータと閾値との判定結果に基づき給送手段によるシートの給送タイミングまたは画像形成手段による画像の形成タイミングを制御する。
【選択図】図6
特許請求の範囲
【請求項1】
シートを給送する給送手段と、
前記シートに画像を形成する画像形成手段と、
前記画像を前記シートに定着させる定着手段であって、
第一回転体と、
前記第一回転体に当接してニップ部を形成する第二回転体と、
前記第一回転体と前記第二回転体の少なくともいずれかを加熱する発熱手段と、を有する定着手段と、
前記第一回転体、前記第二回転体、または前記発熱手段のいずれかに近接して配置される検知手段と、
前記検知手段により検知される第一温度と、前記第一温度が検知された後に前記検知手段により検知される第二温度とから傾きまたは温度差である温度パラメータを求め、当該温度パラメータと閾値との判定結果に基づき前記給送手段による前記シートの給送タイミングまたは前記画像形成手段による前記画像の形成タイミングを制御する制御手段と、を有し、
前記閾値は前記第一温度に応じて決定される、画像形成装置。
続きを表示(約 1,000 文字)
【請求項2】
前記制御手段は、温度を入力値とし、閾値を出力値とする数式を用いて、前記第一温度に対応する前記閾値を取得する、請求項1に記載の画像形成装置。
【請求項3】
前記数式は、所定の第一係数と前記第一温度との積に第二係数を加算することで、前記第一温度に対応する前記閾値を出力する数式である、請求項2に記載の画像形成装置。
【請求項4】
前記数式を記憶した第一記憶手段をさらに有し、
前記制御手段は、前記第一記憶手段から前記数式を取得する、請求項2に記載の画像形成装置。
【請求項5】
前記第一記憶手段は、前記定着手段に設けられている、請求項4に記載の画像形成装置。
【請求項6】
前記数式を補正するための補正値を予め記憶した第二記憶手段をさらに有し、
前記制御手段は、前記第二記憶手段から前記補正値を取得し、前記補正値により補正された前記数式に基づき前記閾値を決定し、前記決定された閾値と、前記温度パラメータとを比較する、請求項2に記載の画像形成装置。
【請求項7】
前記数式を用いて取得された前記閾値を補正するための補正値を予め記憶した第二記憶手段をさらに有し、
前記制御手段は、前記第二記憶手段から前記補正値を取得し、前記補正値により補正された閾値と、前記温度パラメータとを比較する、請求項2に記載の画像形成装置。
【請求項8】
前記定着手段の製造工程において取得された個体情報を予め記憶した第二記憶手段をさらに有し、
前記制御手段は、熱容量に関する基準となる基準定着手段から取得された基準情報と、前記第二記憶手段から取得された前記個体情報とに基づき補正値を決定し、前記補正値により前記数式を補正し、前記補正された数式を用いて決定された閾値と、前記温度パラメータとを比較する、請求項2に記載の画像形成装置。
【請求項9】
前記第二記憶手段は、前記定着手段に設けられている、請求項6から8のいずれか一項に記載の画像形成装置。
【請求項10】
温度と閾値とをペアとする複数のペアを記憶した第一記憶手段をさらに有し、
前記制御手段は、前記第一温度に対応する前記閾値を前記第一記憶手段から取得する、請求項1に記載の画像形成装置。
(【請求項11】以降は省略されています)
発明の詳細な説明
【技術分野】
【0001】
本発明は画像形成装置に関する。
続きを表示(約 2,200 文字)
【背景技術】
【0002】
トナー像をシートに対して定着させるためには加熱装置の温度を精度よく目標温度に制御することが要求される。加熱装置の温度が目標温度に到達するために必要となる時間は、商用交流電源から供給される電圧に応じて変化する。特許文献1によれば、温度の傾きを検知することで、電源電圧の変化に伴う定着器へ供給される電力の変化を推測し、温度のオーバシュートを軽減することが提案されている。
【先行技術文献】
【特許文献】
【0003】
特開平5-333944号公報
【発明の概要】
【発明が解決しようとする課題】
【0004】
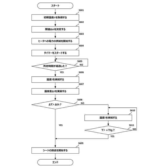
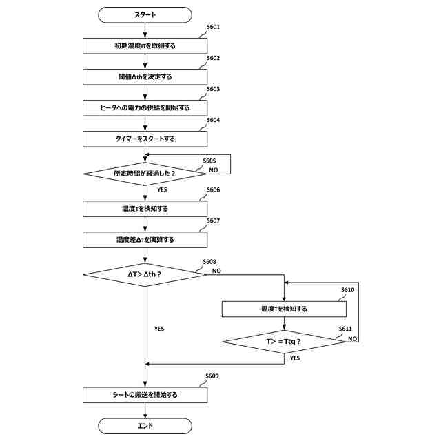
ところで、画像形成装置の生産性を向上させるためには、加熱装置の温度が目標温度に到達する前に、シートの搬送を開始したり、トナー像の形成を開始したりすることが有効である。ただし、加熱装置の温度が目標温度よりも低いときにシートが加熱装置に到着してしまうと、トナー像の定着不良が発生する。そこで、温度の傾きに応じてシートの給送が開始されるタイミングを決定すれば、画像形成装置の生産性が向上するだろう。しかし、温度の傾きは、温度センサの初期温度に応じて変わるため、温度の傾きに基づく開始タイミングの決定精度には改良の余地があった。そこで、本発明は、トナー像の定着性と画像形成装置の生産性とを両立することを目的とする。
【課題を解決するための手段】
【0005】
本発明は、たとえば、
シートを給送する給送手段と、
前記シートに画像を形成する画像形成手段と、
前記画像を前記シートに定着させる定着手段であって、
第一回転体と、
前記第一回転体に当接してニップ部を形成する第二回転体と、
前記第一回転体と前記第二回転体の少なくともいずれかを加熱する発熱手段と、を有する定着手段と、
前記第一回転体、前記第二回転体、または前記発熱手段のいずれかに近接して配置される検知手段と、
前記検知手段により検知される第一温度と、前記第一温度が検知された後に前記検知手段により検知される第二温度とから傾きまたは温度差である温度パラメータを求め、当該温度パラメータと閾値との判定結果に基づき前記給送手段による前記シートの給送タイミングまたは前記画像形成手段による前記画像の形成タイミングを制御する制御手段と、を有し、
前記閾値は前記第一温度に応じて決定される、画像形成装置を提供する。
【発明の効果】
【0006】
本発明によれば、トナー像の定着性と画像形成装置の生産性とを両立することが可能となる。
【図面の簡単な説明】
【0007】
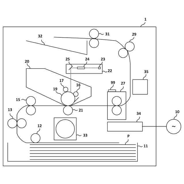
画像形成装置を説明する図。
定着器を説明する図。
温度推移を示す図。
初期温度と温度差との関係を説明する図。
コントローラを説明する図。
制御方法を示すフローチャート。
熱容量と電圧との組み合わせに応じた温度推移を説明する図。
閾値または数式の補正方法を説明する図。
コントローラを説明する図。
制御方法を示すフローチャート。
【発明を実施するための形態】
【0008】
以下、添付図面を参照して実施形態を詳しく説明する。なお、以下の実施形態は特許請求の範囲に係る発明を限定するものではない。実施形態には複数の特徴が記載されているが、これらの複数の特徴の全てが発明に必須のものとは限らず、また、複数の特徴は任意に組み合わせられてもよい。さらに、添付図面においては、同一若しくは同様の構成に同一の参照番号を付し、重複した説明は省略する。
【0009】
<実施例1>
(1)画像形成装置の構造
図1が示すように、画像形成装置1は、電子写真記録技術を用いたプリンタである。シートカセット11は複数のシートPを収容する収容庫である。シートPは、記録紙、記録材、または転写材と呼ばれてもよい。ピックアップローラ12は、シートカセット11からシートSを一枚ずつ搬送路へ送り出す。給送ローラ13は、シートPの搬送方向において、ピックアップローラ12よりも下流に配置された搬送ローラである。レジストレーションローラ15は、シートPの斜行を補正したり、さらに下流への搬送タイミングを調整したりする、搬送ローラである。
【0010】
プロセスカートリッジ20は、トナー像を形成してシートPに転写する画像形成部である。プロセスカートリッジ20は、帯電器16、現像ローラ17、および感光体ドラム19を有している。帯電器16は感光体ドラム19の表面を帯電させる帯電ローラまたは帯電ワイヤである。露光器22は、レーザ光を感光体ドラム19の表面に照射し、静電潜像を形成する露光光源である。現像ローラ17は、トナー容器に収容されているトナーを用いて、静電潜像を現像し、トナー像を形成する。感光体ドラム19は回転することで、トナー像を転写ニップへ搬送する。転写ニップは、感光体ドラム19と転写ローラ21とが当接することで形成される。シートPが転写ニップを通過することで、感光体ドラム19からシートPへトナー像が転写される。
(【0011】以降は省略されています)
この特許をJ-PlatPat(特許庁公式サイト)で参照する
関連特許
キヤノン株式会社
容器
8日前
キヤノン株式会社
容器
14日前
キヤノン株式会社
トナー
17日前
キヤノン株式会社
トナー
今日
キヤノン株式会社
雲台装置
今日
キヤノン株式会社
測距装置
2日前
キヤノン株式会社
記録装置
今日
キヤノン株式会社
記録装置
今日
キヤノン株式会社
電子機器
今日
キヤノン株式会社
記録装置
14日前
キヤノン株式会社
撮像装置
14日前
キヤノン株式会社
撮像装置
14日前
キヤノン株式会社
撮像装置
14日前
キヤノン株式会社
撮像装置
1日前
キヤノン株式会社
表示装置
8日前
キヤノン株式会社
電子機器
今日
キヤノン株式会社
測距装置
23日前
キヤノン株式会社
撮像装置
今日
キヤノン株式会社
撮像装置
8日前
キヤノン株式会社
現像装置
21日前
キヤノン株式会社
液体収容体
3日前
キヤノン株式会社
液体収容体
2日前
キヤノン株式会社
視線検出装置
2日前
キヤノン株式会社
光電変換装置
11日前
キヤノン株式会社
画像形成装置
3日前
キヤノン株式会社
画像形成装置
11日前
キヤノン株式会社
画像形成装置
11日前
キヤノン株式会社
画像形成装置
1日前
キヤノン株式会社
画像形成装置
11日前
キヤノン株式会社
画像形成装置
1日前
キヤノン株式会社
情報処理装置
10日前
キヤノン株式会社
画像形成装置
1日前
キヤノン株式会社
画像形成装置
1日前
キヤノン株式会社
画像処理装置
3日前
キヤノン株式会社
画像形成装置
10日前
キヤノン株式会社
画像形成装置
2日前
続きを見る
他の特許を見る