TOP
|
特許
|
意匠
|
商標
特許ウォッチ
Twitter
他の特許を見る
10個以上の画像は省略されています。
公開番号
2025165205
公報種別
公開特許公報(A)
公開日
2025-11-04
出願番号
2024069170
出願日
2024-04-22
発明の名称
画像形成装置
出願人
キヤノン株式会社
代理人
個人
,
個人
,
個人
,
個人
,
個人
主分類
G03G
15/08 20060101AFI20251027BHJP(写真;映画;光波以外の波を使用する類似技術;電子写真;ホログラフイ)
要約
【課題】 従来の技術を発展させた新たな形態の画像形成装置を提供することを目的とする。
【解決手段】 カートリッジを着脱可能な画像形成装置であって、カートリッジから供給された現像剤を収容するように構成された収容部と、収容部に収容された現像剤を用いて感光体上に現像剤像を現像する現像部材と、を備えるロータリと、装着位置と、退避位置と、にカートリッジを移動させる移動装置と、カートリッジの移動指示を受信し、カートリッジを移動させるよう移動装置を制御する制御部と、を備え、カートリッジが装着位置に位置する状態でカートリッジを利用して画像形成動作を行う画像形成装置であって、制御部は、画像形成動作が行われている状態で移動指示を受信した場合、画像形成動作が完了した後に移動指示に従ってカートリッジを装着位置から退避位置へ移動するように移動装置を制御する画像形成装置。
【選択図】 図14
特許請求の範囲
【請求項1】
現像剤を収容するカートリッジを着脱可能な画像形成装置であって、
前記カートリッジから供給された前記現像剤を収容するように構成された収容部と、前記収容部に収容された前記現像剤を用いて感光体上に現像剤像を現像する現像部材と、を備える回転可能なロータリと、
前記カートリッジが前記ロータリの内部に位置される装着位置と、前記カートリッジが前記ロータリの外部に位置される退避位置と、に前記カートリッジを移動させる移動装置と、
前記カートリッジの移動指示を受信する制御部であって、前記移動指示を受信した場合に前記カートリッジを移動させるよう前記移動装置を制御する制御部と、を備え、
前記カートリッジが前記装着位置に位置する状態で前記カートリッジを利用して画像形成動作を行う画像形成装置であって、
前記制御部は、前記画像形成動作が行われている状態で前記移動指示を受信した場合、前記画像形成動作が完了した後に前記移動指示に従って前記カートリッジを前記装着位置から前記退避位置へ移動するように前記移動装置を制御する、
ことを特徴とする画像形成装置。
続きを表示(約 2,300 文字)
【請求項2】
前記画像形成動作の完了とは、前記画像形成装置によって画像が記録された記録材が前記画像形成装置の外部へ排出されたことである、
ことを特徴とする請求項1に記載の画像形成装置。
【請求項3】
前記ロータリは、前記カートリッジが前記装着位置から前記退避位置に移動可能な交換姿勢を取ることが可能であり、
前記画像形成動作が行われている状態で前記移動指示を受信した場合、前記制御部は、前記画像形成動作が完了した後に、前記ロータリを回転させて、前記ロータリに前記交換姿勢を取らせ、
前記ロータリが前記交換姿勢へ到達した後、前記制御部は、前記カートリッジが前記装着位置から前記退避位置へ移動するよう前記移動装置を制御する、
ことを特徴とする請求項2に記載の画像形成装置。
【請求項4】
前記移動装置は、前記カートリッジを着脱可能に保持することが可能なトレイを備え、
前記移動装置は、前記トレイが前記ロータリの内部に位置する収容位置と、前記トレイが前記ロータリの外部に位置する取出位置と、に移動させ、
前記制御部は、前記トレイを前記収容位置から前記取出位置へ移動させることで前記カートリッジを前記装着位置から前記退避位置へ移動させる、
ことを特徴とする請求項3に記載の画像形成装置。
【請求項5】
前記感光体から現像剤像が転写される像担持体を有し、
前記制御部は、前記画像形成動作が完了した後に、前記像担持体の動作を停止させる後処理を行い、
前記画像形成動作が行われている状態で前記移動指示を受信した場合において、前記制御部は、前記後処理中に、前記ロータリを回転させて前記ロータリに前記交換姿勢を取らせる、
ことを特徴とする請求項4に記載の画像形成装置。
【請求項6】
前記画像形成動作が行われている状態で前記移動指示を受信した場合であって、かつ画像形成装置が所定の条件を満たした場合、前記制御部は前記画像形成動作を停止させ、さらに、前記カートリッジが前記装着位置から前記退避位置へ移動するよう前記移動装置を制御し、
前記画像形成動作が行われている状態で前記移動指示を受信した場合であって、かつ画像形成装置が前記所定の条件を満たしていない場合、前記制御部は、前記画像形成動作が完了した後に、前記カートリッジが前記装着位置から前記退避位置へ移動するよう前記移動装置を制御する、
ことを特徴とする請求項5に記載の画像形成装置。
【請求項7】
前記制御部が前記画像形成動作を停止させ、前記カートリッジが前記装着位置から前記退避位置へ移動するよう前記移動装置を制御した後に、前記制御部が前記移動指示を受信した場合、前記制御部は、前記カートリッジが前記退避位置から前記装着位置へ移動するよう前記移動装置を制御し、さらに前記制御部は前記カートリッジが前記装着位置へ移動した後に、停止していた前記画像形成動作を再開する、
ことを特徴とする請求項6に記載の画像形成装置。
【請求項8】
情報を表示可能な表示部と、
情報を入力可能な操作部と、
を備え、
前記画像形成動作が行われている状態で前記移動指示を受信した場合において、前記制御部は、前記表示部が前記画像形成動作を停止するか否かの確認を行う通知を表示するよう制御し、
前記表示部が前記通知を表示した後、前記操作部へ前記画像形成動作を停止するよう入力があった場合に、前記制御部は前記画像形成動作を停止し、前記カートリッジが前記装着位置から前記退避位置へ移動するよう前記移動装置を制御し、
前記表示部が前記通知を表示した後、前記操作部から前記画像形成動作を継続するよう入力があった場合に、前記制御部は、前記画像形成動作が完了した後に、前記カートリッジが前記装着位置から前記退避位置へ移動するよう前記移動装置を制御する、
ことを特徴とする請求項1乃至7のいずれか一項に記載の画像形成装置。
【請求項9】
前記制御部が前記移動指示を受信した時に、前記画像形成装置が第一動作中であって、かつ前記画像形成動作を行っていない場合、前記制御部は前記第一動作を停止して、前記カートリッジが前記装着位置から前記退避位置へ移動するよう前記移動装置を制御する、
ことを特徴とする請求項1乃至5のいずれか一項に記載の画像形成装置。
【請求項10】
前記制御部は、前記収容部にある前記現像剤の残量に関する第一の値と、前記カートリッジにある前記現像剤の残量に関する第二の値を算出し、
前記画像形成動作が行われている状態で前記移動指示を受信した場合において、前記制御部は、前記制御部が算出した前記第一の値と前記第二の値を参照し、
前記第一の値が第一閾値より大きい、又は、前記第二の値が第二閾値より大きい場合は、前記画像形成動作が完了した後に、前記カートリッジが前記装着位置から前記退避位置へ移動するよう前記移動装置を制御し、
前記第一の値が第一閾値より小さく、かつ前記第二の値が第二閾値より小さい場合、前記制御部は、前記画像形成動作を停止し、前記カートリッジが前記装着位置から前記退避位置へ移動するよう前記移動装置を制御する、
ことを特徴とする請求項1乃至7のいずれか一項に記載の画像形成装置。
(【請求項11】以降は省略されています)
発明の詳細な説明
【技術分野】
【0001】
本発明は、記録材に画像を形成する画像形成装置に関する。
続きを表示(約 1,800 文字)
【背景技術】
【0002】
電子写真方式の画像形成装置において、複数本の現像ローラを備えたロータリを回転させることでカラー画像を形成するロータリ現像方式が知られている。特許文献1、2には、複数本の現像ローラを備えたロータリと、該ロータリに対してそれぞれ着脱可能な複数のトナーカートリッジ(トナー収容容器)と、を備えた画像形成装置が記載されている。
【先行技術文献】
【特許文献】
【0003】
特開2007-183305号公報
特開2008-096852号公報
【発明の概要】
【発明が解決しようとする課題】
【0004】
本発明は、従来の技術を発展させた新たな形態の画像形成装置を提供することを目的とする。
【課題を解決するための手段】
【0005】
本発明の一態様は、以下のようなものである。
【0006】
現像剤を収容するカートリッジを着脱可能な画像形成装置であって、
前記カートリッジから供給された前記現像剤を収容するように構成された収容部と、前記収容部に収容された前記現像剤を用いて感光体上に現像剤像を現像する現像部材と、を備える回転可能なロータリと、
前記カートリッジが前記ロータリの内部に位置される装着位置と、前記カートリッジが前記ロータリの外部に位置される退避位置と、に前記カートリッジを移動させる移動装置と、
前記カートリッジの移動指示を受信する制御部であって、前記移動指示を受信した場合に前記カートリッジを移動させるよう前記移動装置を制御する制御部と、を備え、
前記カートリッジが前記装着位置に位置する状態で前記カートリッジを利用して画像形成動作を行う画像形成装置であって、
前記制御部は、前記画像形成動作が行われている状態で前記移動指示を受信した場合、前記画像形成動作が完了した後に前記移動指示に従って前記カートリッジを前記装着位置から前記退避位置へ移動するように前記移動装置を制御する、
ことを特徴とする画像形成装置。
【発明の効果】
【0007】
本発明によれば、従来の技術を発展させた新たな形態の画像形成装置を提供することができる。
【図面の簡単な説明】
【0008】
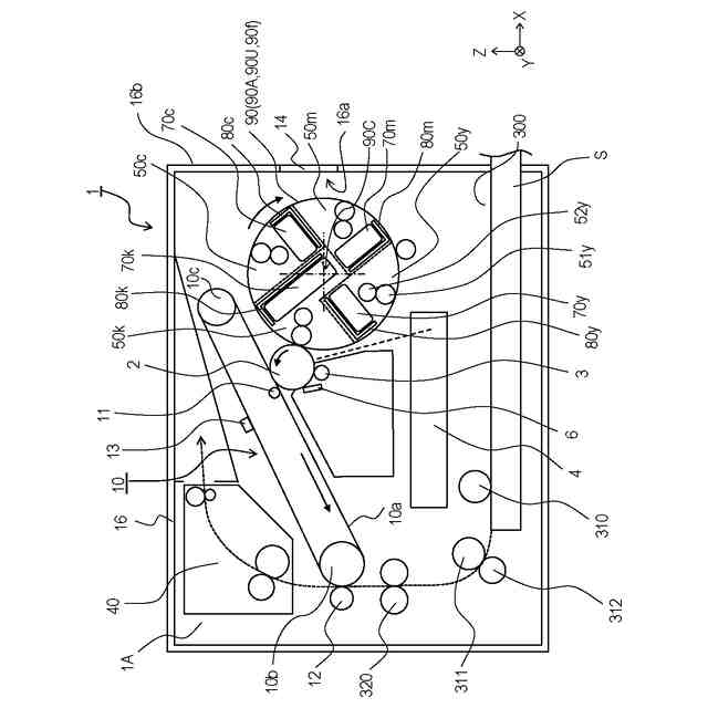
実施例1に係る画像形成装置の概略図。
実施例1に係る画像形成装置の構成図。
実施例1に係る現像ユニット、トナーカートリッジ及びトレイの模式図。
実施例1に係る画像形成装置の断面図(a、b)。
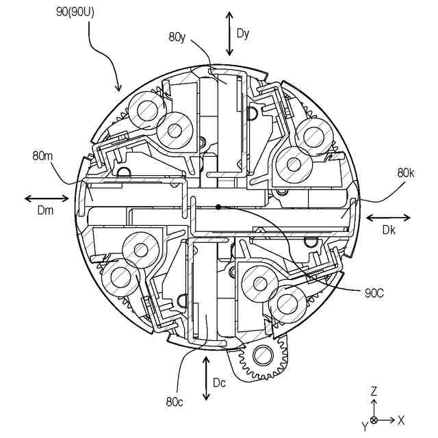
実施例1に係るロータリ本体の斜視図。
実施例1に係る画像形成装置の斜視図(a~c)。
実施例1に係る画像形成装置の断面図(a、b)。
実施例1に係るロータリ本体の説明図。
実施例1に係るロータリ本体の説明図。
実施例1に係るロータリ本体の説明図。
実施例1に係るトレイの移動に関する構成の説明図(a、b)。
実施例1に係るトレイの移動に関する構成の説明図(a、b)。
実施例1に係る画像形成装置の制御に関する構成図。
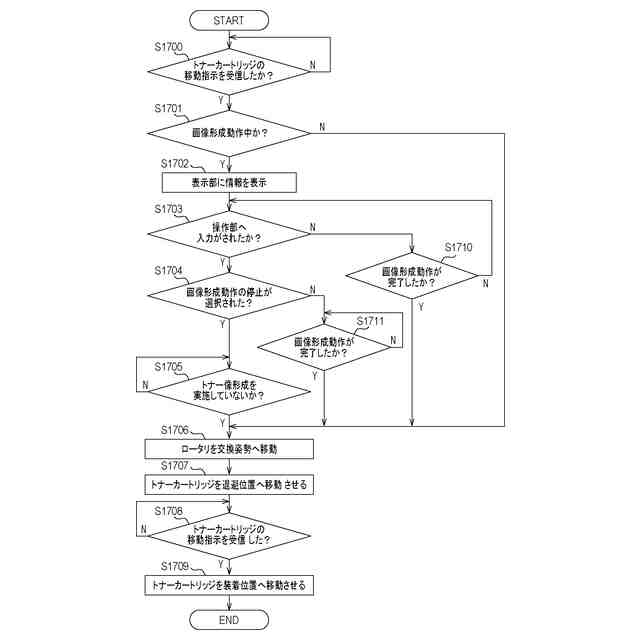
実施例1に係る制御に関するフローチャート。
実施例1に係る表示部を示す図。
実施例2に係る制御に関するフローチャート。
実施例3に係る画像形成装置の制御に関する構成図。
実施例3に係る制御に関するフローチャート。
【発明を実施するための形態】
【0009】
以下、本開示に係る実施形態について、図面を参照しながら説明する。
【実施例】
【0010】
図1~図16を用いて、実施例1に係る画像形成装置1について説明する。以下の説明及び各図面において、画像形成装置1が水平面に設置された場合の鉛直方向をZ方向とする。Z方向と交差する方向であって、後述するロータリ本体90の回転軸線90Cの方向(ロータリの回転軸線方向)をY方向とする。Z方向及びY方向の双方と交差する方向をX方向とする。X方向及びY方向は、好ましくは水平方向である。また、X方向、Y方向、Z方向は、好ましくは互いに直交する。また、必要に応じ、各図面に図示した矢印X、Y、Zの方向をそれぞれ+X側、+Y側、+Z側と表し、その反対側をそれぞれ-X側、-Y側、-Z側と表す。
(【0011】以降は省略されています)
この特許をJ-PlatPat(特許庁公式サイト)で参照する
関連特許
他の特許を見る