TOP
|
特許
|
意匠
|
商標
特許ウォッチ
Twitter
他の特許を見る
10個以上の画像は省略されています。
公開番号
2025126515
公報種別
公開特許公報(A)
公開日
2025-08-29
出願番号
2024022754
出願日
2024-02-19
発明の名称
画像形成装置
出願人
キヤノン株式会社
代理人
個人
主分類
B41J
29/393 20060101AFI20250822BHJP(印刷;線画機;タイプライター;スタンプ)
要約
【課題】生産性を維持しつつ安定した画質で画像形成を行う画像形成装置を提供する。
【解決手段】画像形成装置は、画像形成条件に基づいて像担持体に画像を形成する画像形成部(220、221、222、223)と、画像形成条件に対して、相対的に高精度で処理時間が長い割込型のリアルタイム多階調補正制御と相対的に低精度で処理時間が短い画像濃度予測制御とを行うことができるコントローラ300と、を備える。コントローラ300は、印刷ジョブで割込型のリアルタイム多階調補正制御の実行が有効に設定されていれば割込型のリアルタイム多階調補正制御を実行し、割込型のリアルタイム多階調補正制御の実行が有効に設定されていなければ画像濃度予測制御を実行する。
【選択図】図1
特許請求の範囲
【請求項1】
画像形成条件に基づいて像担持体に画像を形成する画像形成手段と、
前記画像形成条件に対して、相対的に高精度で処理時間が長い第1補正処理と相対的に低精度で処理時間が短い第2補正処理とを行うことができる補正手段と、
所定の設定に基づいて前記補正手段に前記第1補正処理と前記第2補正処理とを実行させる制御手段と、を備えることを特徴とする、
画像形成装置。
続きを表示(約 1,200 文字)
【請求項2】
前記像担持体に形成された前記画像形成条件の補正用のテスト画像を読み取る読取手段と、
前記テスト画像の読取結果を予測する予測手段と、をさらに備え、
前記補正手段は、前記第1補正処理として前記読取手段による前記テスト画像の読取結果に基づいて前記画像形成条件を補正し、前記第2補正処理として前記予測手段による前記予測の結果に基づいて前記画像形成条件を補正することを特徴とする、
請求項1記載の画像形成装置。
【請求項3】
前記制御手段は、画像形成を指示する印刷ジョブで前記第1補正処理の実行が有効に設定されていれば前記補正手段に前記第1補正処理を実行させ、前記第1補正処理の実行が有効に設定されていなければ前記補正手段に前記第2補正処理を実行させることを特徴とする、
請求項1又は2記載の画像形成装置。
【請求項4】
前記制御手段は、前記印刷ジョブで前記第1補正処理の実行が有効に設定されている場合に、当該印刷ジョブで用いる用紙の情報が前記第1補正処理の実行を有効に設定されていれば前記補正手段に前記第1補正処理を実行させることを特徴とする、
請求項3記載の画像形成装置。
【請求項5】
前記制御手段は、前記印刷ジョブで前記第1補正処理の実行が有効に設定されている場合に、当該印刷ジョブで用いる用紙の情報が前記第1補正処理の実行を無効に設定されていれば前記補正手段に前記第2補正処理を実行させることを特徴とする、
請求項4記載の画像形成装置。
【請求項6】
前記第1補正処理の実行を有効に設定するための設定手段をさらに備えることを特徴とする、
請求項3記載の画像形成装置。
【請求項7】
前記第1補正処理は所定の第1間隔で実行され、
前記第2補正処理は所定の第2間隔で実行され、
前記制御手段は、前記第2間隔が前記第1間隔より小さい場合、前記補正手段に前記第2補正処理を行わせた後に前記第1補正処理を行わせることを特徴とする、
請求項1又は2記載の画像形成装置。
【請求項8】
前記制御手段は、前記第2間隔が前記第1間隔より大きい場合、前記補正手段に前記第1補正処理を行わせることを特徴とする、
請求項7記載の画像形成装置。
【請求項9】
前記第1間隔と前記第2間隔を設定するための設定手段をさらに備えることを特徴とする、
請求項7記載の画像形成装置。
【請求項10】
環境条件を検出する検出手段をさらに備えており、
前記予測手段は、前記環境条件に基づいて前記予測を行うことを特徴とする、
請求項2記載の画像形成装置。
(【請求項11】以降は省略されています)
発明の詳細な説明
【技術分野】
【0001】
本発明は、プリンタ、複写機、複合機等の画像形成装置に関する。
続きを表示(約 1,900 文字)
【背景技術】
【0002】
画像形成装置は、設置環境の変動や装置内部の内部環境の変動に起因する短期的な変動や、構成部品や現像剤の経時変化に起因する長期的な変動等の影響で、出力画像の画像濃度や階調性が理想的な状態から変化する。そのために画像形成装置は、様々な変動要因に応じて、随時、画像形成条件を補正することで画像濃度や階調性を理想的な状態に戻す。このような画像濃度や階調性を適切に補正して画質を安定させる処理は、一般的にキャリブレーションと呼ばれる。従来、キャリブレーションは、画像濃度が一様なテスト画像を用紙、感光体、或いは中間転写体等の像担持体に形成し、該テスト画像の画像濃度を測定してその目標値と比較し、その比較結果に基づいて画像形成条件を適宜調補正することで行われる。
【0003】
近年、画質の安定性と同時にユーザビリティの向上、特に待機時間やダウンタイムの短縮による生産性の向上に対する要求が高まっている。画質安定化のためのキャリブレーションも、より短時間で行われることが強く望まれている。特許文献1には、キャリブレーションの時間短縮に関する技術が開示される。特許文献1では、テスト画像の作像及び測定にかかる制御時間を短縮するために、外部環境の変動とテスト画像の変動との相関関係をモデル化することで、画像濃度が瞬時に予測される。
【0004】
特許文献2には、用紙上の画像をインラインセンサで読み取る印刷システムが開示される。この印刷システムは、リアルタイム多階調補正制御を行うことができる。リアルタイム多階調補正制御は、印刷装置が印刷ジョブの処理中に階調補正用のテスト画像の印刷を割り込みで行い、当該テスト画像をインラインセンサで読み取り、この読取結果を画像形成条件にフィードバックする処理である。
【先行技術文献】
【特許文献】
【0005】
特開2017-37100号公報
特開2022-178634号公報
【発明の概要】
【発明が解決しようとする課題】
【0006】
リアルタイム多階調補正制御は、有効な印刷ジョブが限られており、有効ではない印刷ジョブでは実行されない。そのためにリアルタイム多階調補正制御が有効ではない印刷ジョブで形成される画像は、画質安定性が低下する。また、リアルタイム多階調補正制御が有効な印刷ジョブの場合にも、画質安定性のためにはキャリブレーションの頻度を高くする方がよいが、高頻度で行うことで生産性が低下する。
【0007】
本発明は、上述の問題に鑑み、生産性を維持しつつ安定した画質で画像形成を行う画像形成装置を提供することを主たる目的とする。
【課題を解決するための手段】
【0008】
本発明の画像形成装置は、画像形成条件に基づいて像担持体に画像を形成する画像形成手段と、前記画像形成条件に対して、相対的に高精度で処理時間が長い第1補正処理と相対的に低精度で処理時間が短い第2補正処理とを行うことができる補正手段と、所定の設定に基づいて前記補正手段に前記第1補正処理と前記第2補正処理とを実行させる制御手段と、を備えることを特徴とする。
【発明の効果】
【0009】
本発明によれば、生産性を維持しつつ安定した画質で画像形成を行うことができる。
【図面の簡単な説明】
【0010】
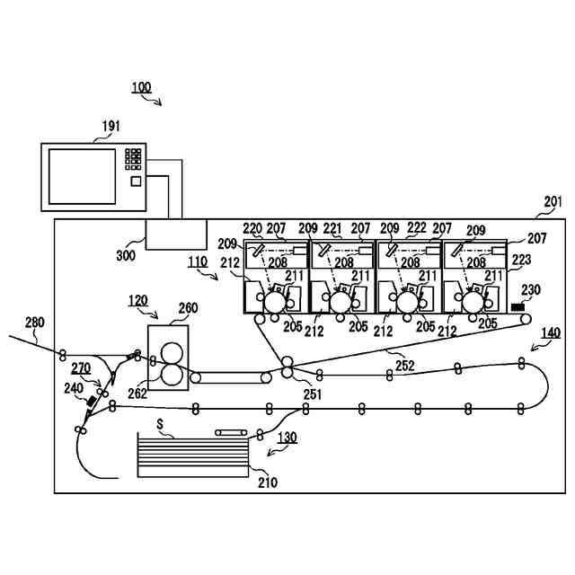
画像形成装置の説明図。
画像形成装置の構成図。
(a)、(b)は、設定画面の例示図。
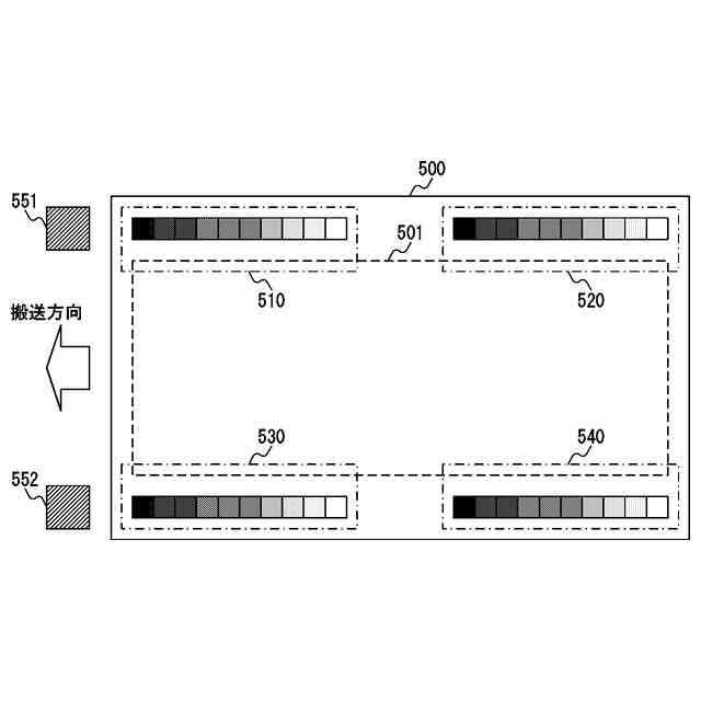
階調補正用チャートの例示図。
予測濃度算出部の説明図。
基本信号値及び基本画像濃度の取得処理を表すフローチャート。
2点電制による電位制御の説明図。
パッチ画像の例示図。
画像濃度と露光強度との関係を示すグラフ。
階調補正テーブルの説明図。
合成補正LUTの作成処理を表すフローチャート。
合成補正LUTの作成処理の説明図。
合成補正LUTの作成処理の説明図。
合成補正LUTの作成処理の説明図。
画像濃度値の取得処理を表すフローチャート。
予測画像濃度値の取得処理を表すフローチャート。
画像濃度予測モデルを予め作成する処理を表すフローチャート。
印刷ジョブによる印刷処理を表すフローチャート。
用紙情報の説明図。
設定画面の例示図。
印刷ジョブによる印刷処理を表すフローチャート。
【発明を実施するための形態】
(【0011】以降は省略されています)
この特許をJ-PlatPat(特許庁公式サイト)で参照する
関連特許
キヤノン株式会社
トナー
7日前
キヤノン株式会社
トナー
7日前
キヤノン株式会社
トナー
7日前
キヤノン株式会社
トナー
12日前
キヤノン株式会社
記録装置
27日前
キヤノン株式会社
記録装置
12日前
キヤノン株式会社
撮像装置
26日前
キヤノン株式会社
定着装置
20日前
キヤノン株式会社
収容装置
20日前
キヤノン株式会社
記録装置
28日前
キヤノン株式会社
電子機器
28日前
キヤノン株式会社
撮像装置
12日前
キヤノン株式会社
現像容器
5日前
キヤノン株式会社
現像装置
5日前
キヤノン株式会社
表示装置
19日前
キヤノン株式会社
現像容器
5日前
キヤノン株式会社
撮像装置
28日前
キヤノン株式会社
発光装置
19日前
キヤノン株式会社
電子機器
16日前
キヤノン株式会社
現像装置
5日前
キヤノン株式会社
撮像装置
8日前
キヤノン株式会社
電子機器
20日前
キヤノン株式会社
記録装置
5日前
キヤノン株式会社
定着装置
6日前
キヤノン株式会社
定着装置
26日前
キヤノン株式会社
撮影装置
5日前
キヤノン株式会社
撮像装置
20日前
キヤノン株式会社
撮像装置
27日前
キヤノン株式会社
電子機器
14日前
キヤノン株式会社
電子機器
20日前
キヤノン株式会社
半導体装置
14日前
キヤノン株式会社
モジュール
7日前
キヤノン株式会社
現像剤容器
13日前
キヤノン株式会社
光学センサ
7日前
キヤノン株式会社
画像形成装置
6日前
キヤノン株式会社
画像形成装置
16日前
続きを見る
他の特許を見る