TOP
|
特許
|
意匠
|
商標
特許ウォッチ
Twitter
他の特許を見る
10個以上の画像は省略されています。
公開番号
2025150814
公報種別
公開特許公報(A)
公開日
2025-10-09
出願番号
2024051921
出願日
2024-03-27
発明の名称
画像形成装置
出願人
キヤノン株式会社
代理人
弁理士法人近島国際特許事務所
主分類
B41J
2/01 20060101AFI20251002BHJP(印刷;線画機;タイプライター;スタンプ)
要約
【課題】シートを搬送するベルトへの張力の付与及び解除を行う際の操作性を向上する。
【解決手段】画像形成部において画像が形成されたシートを搬送する乾燥ベルトユニットは、回転によりシートを搬送する可撓性を有する無端状のベルトと、ベルトを張架する複数の張架ローラと、ベルトを付勢可能な張力ローラ10と、張架ローラ及び張力ローラ10の少なくとも1つに設けられて加熱するヒータと、張力ローラ10がベルトを付勢しない第1状態と、張力ローラ10がベルトを第1付勢力で付勢する第2状態と、に切替可能な第1加圧部31と、第1加圧部31によって切り替えられた第2状態と、張力ローラ10がベルトを第1付勢力より大きい第2付勢力で付勢する第3状態と、に切替可能な第2加圧部32と、第1加圧部31及び前記第2加圧部32を操作可能な第1レバー3316a及び第2レバー3317aと、を有する。
【選択図】図5
特許請求の範囲
【請求項1】
シートに画像を形成する画像形成部と、
前記画像形成部において画像が形成されたシートを搬送するシート搬送部と、を備え、
前記シート搬送部は、
回転によりシートを搬送する可撓性を有する無端状のベルトと、
前記ベルトを張架する複数の張架ローラと、
前記ベルトを付勢可能なテンションローラと、
前記張架ローラ及び前記テンションローラの少なくとも1つに設けられて加熱するヒータと、
前記テンションローラが前記ベルトを付勢しない第1状態と、前記テンションローラが前記ベルトを第1付勢力で付勢する第2状態と、に切替可能な第1加圧部と、
前記第1加圧部によって切り替えられた前記第2状態と、前記テンションローラが前記ベルトを前記第1付勢力より大きい第2付勢力で付勢する第3状態と、に切替可能な第2加圧部と、
前記第1加圧部及び前記第2加圧部を操作可能な操作部と、を有する、
ことを特徴とする画像形成装置。
続きを表示(約 1,700 文字)
【請求項2】
前記第1加圧部は、前記テンションローラの回転軸線方向において前記シート搬送部の異なる2か所に配置され、
前記第2加圧部は、前記回転軸線方向において前記シート搬送部の異なる2か所に配置されている、
ことを特徴とする請求項1に記載の画像形成装置。
【請求項3】
前記操作部は、前記回転軸線方向において、前記シート搬送部の片側に配置されている、
ことを特徴とする請求項2に記載の画像形成装置。
【請求項4】
前記操作部は、前記第1加圧部を操作可能な第1操作部材と、前記第2加圧部を操作可能な第2操作部材と、を有する、
ことを特徴とする請求項1に記載の画像形成装置。
【請求項5】
前記第1加圧部は、
前記テンションローラを回転可能に支持し、前記テンションローラの回転軸線方向に直交する直交方向に移動可能な支持部材と、
前記支持部材を、前記第1加圧部が前記第1状態から前記第2状態に切り替わる方向に付勢する第1付勢部材と、
前記第1付勢部材による付勢力に抗して前記支持部材を位置決めする第1カムと、
前記第1カムに固定されて回転可能な第1軸と、を有し、
前記第1操作部材は、前記第1軸に固定され、前記第1軸を回転させることで、前記第1加圧部を前記第1状態と前記第2状態とに切り替える、
ことを特徴とする請求項4に記載の画像形成装置。
【請求項6】
前記第2加圧部は、
前記支持部材を、前記第2加圧部が前記第2状態から前記第3状態に切り替わる方向に付勢する第2付勢部材と、
前記第2付勢部材による付勢力に抗して前記支持部材を位置決めする第2カムと、
前記第2カムに固定されて回転可能な第2軸と、を有し、
前記第2操作部材は、前記第2軸に固定され、前記第2軸を回転させることで、前記第2加圧部を前記第2状態と前記第3状態とに切り替える、
ことを特徴とする請求項5に記載の画像形成装置。
【請求項7】
前記第2付勢部材は、前記回転軸線方向において前記第1付勢部材とは異なる位置に配置され、
前記第2加圧部は、前記第2付勢部材と前記支持部材とを連結するリンク部材を有する、
ことを特徴とする請求項6に記載の画像形成装置。
【請求項8】
前記操作部は、前記第1加圧部及び前記第2加圧部を操作可能な1つの操作部材を有する、
ことを特徴とする請求項1に記載の画像形成装置。
【請求項9】
前記第1加圧部は、
前記テンションローラを回転可能に支持し、前記テンションローラの回転軸線方向に直交する直交方向に移動可能な支持部材と、
前記支持部材を、前記第1加圧部が前記第1状態から前記第2状態に切り替わる方向に付勢する第1付勢部材と、
前記第1付勢部材による付勢力に抗して前記支持部材を位置決めする第1カムと、
前記第1カムに固定されて回転可能な回転軸と、を有し、
前記第2加圧部は、
前記支持部材を、前記第2加圧部が前記第2状態から前記第3状態に切り替わる方向に付勢する第2付勢部材と、
前記第2付勢部材による付勢力に抗して前記支持部材を位置決めし、かつ、前記回転軸に固定されて回転可能な第2カムと、を有し、
前記操作部材は、前記回転軸に固定され、前記回転軸を回転させることで、前記第1加圧部を前記第1状態と前記第2状態とに切り替え、かつ、前記第2加圧部を前記第2状態と前記第3状態とに切り替える、
ことを特徴とする請求項8に記載の画像形成装置。
【請求項10】
前記第2付勢部材は、前記回転軸線方向において前記第1付勢部材とは異なる位置に配置され、
前記第2加圧部は、前記第2付勢部材と前記支持部材とを連結するリンク部材を有する、
ことを特徴とする請求項9に記載の画像形成装置。
(【請求項11】以降は省略されています)
発明の詳細な説明
【技術分野】
【0001】
本発明は、シートに画像を形成する画像形成装置に関する。
続きを表示(約 2,300 文字)
【背景技術】
【0002】
画像形成装置において、記録媒体であるシートを乾燥させるための構成として、シートを搬送するベルトを加熱する構成が広く普及している。例えば、インクによりシートに画像を形成するインクジェット記録装置では、シートを乾燥させる工程があり、シートをベルトにより搬送し、そのシートに対してベルトによって加熱することでシートを乾燥させる乾燥装置が開発されている。
【0003】
このようなベルト搬送を行う画像形成装置では、シートの加熱における熱でベルトが膨張した際でも、ベルトを張架するローラの軸方向におけるベルト位置を制御することが望まれる。そこで、例えば、複数の加熱ローラを有してベルトを張架するベルト駆動装置に対し、付勢力を付与するステアリング部をベルトの厚み方向に移動可能とし、ベルトの位置検知結果から厚み方向の変位量を調整する構成が提案されている(特許文献1参照)。この画像形成装置では、ベルトを張架するローラの内側にヒータを設け、ヒータがローラを加熱することでベルトを加熱し、搬送するシートを加熱するようにしている。
【先行技術文献】
【特許文献】
【0004】
特開2020-90344号公報
【発明の概要】
【発明が解決しようとする課題】
【0005】
ここで、上述した特許文献1に記載の画像形成装置では、ローラ内に設けたヒータがベルトを介してシートを加熱しているので、ベルトに耐熱性能が要求される。このため、ベルトの材質としては耐熱性に優れた材料が用いられ、例えば耐熱性樹脂が用いられるので、耐熱性が高くない通常のベルトに比べて剛性が大きくなっており、ベルトを弛みなく張架するためにはベルトに大きな張力を与える必要がある。
【0006】
しかしながら、上述した特許文献1に記載の画像形成装置では、ベルトを加熱するために耐熱性を有する剛性の高いベルトを使用しているので、以下の課題を発生する可能性がある。即ち、ベルトや周囲機器のメンテナンスのためにベルトを装置本体から着脱することがあり、その場合にベルトの付勢力を解除し、再び付与する作業が発生することがある。この場合、ベルトが高剛性であると、レバー操作のように手動で付勢力を解除及び付与するときに、操作力が大きくなってしまい、作業性が悪くなってしまう虞がある。
【0007】
本発明は、シートを搬送するベルトへの張力の付与及び解除を行う際の操作性を向上できる画像形成装置を提供することを目的とする。
【課題を解決するための手段】
【0008】
本発明の画像形成装置は、シートに画像を形成する画像形成部と、前記画像形成部において画像が形成されたシートを搬送するシート搬送部と、を備え、前記シート搬送部は、回転によりシートを搬送する可撓性を有する無端状のベルトと、前記ベルトを張架する複数の張架ローラと、前記ベルトを付勢可能なテンションローラと、前記張架ローラ及び前記テンションローラの少なくとも1つに設けられて加熱するヒータと、前記テンションローラが前記ベルトを付勢しない第1状態と、前記テンションローラが前記ベルトを第1付勢力で付勢する第2状態と、に切替可能な第1加圧部と、前記第1加圧部によって切り替えられた前記第2状態と、前記テンションローラが前記ベルトを前記第1付勢力より大きい第2付勢力で付勢する第3状態と、に切替可能な第2加圧部と、前記第1加圧部及び前記第2加圧部を操作可能な操作部と、を有することを特徴とする。
【発明の効果】
【0009】
本発明によれば、画像形成装置において、シートを搬送するベルトへの張力の付与及び解除を行う際の操作性を向上できる。
【図面の簡単な説明】
【0010】
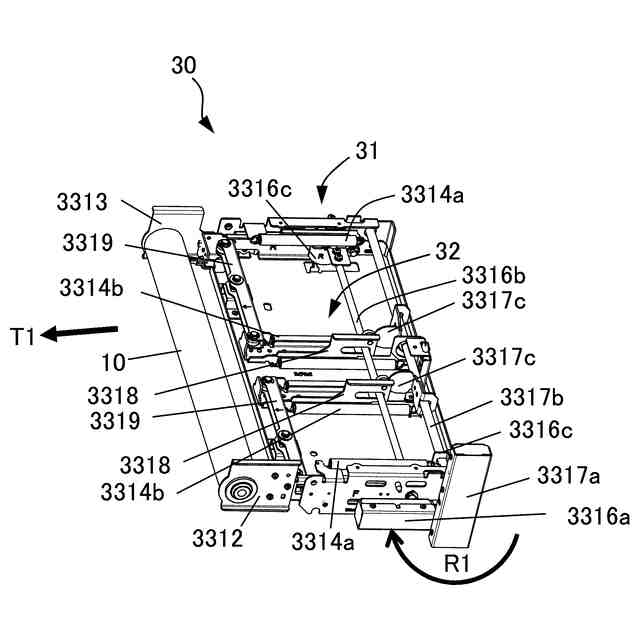
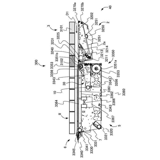
第1の実施形態に係るインクジェット記録装置を示す概略構成断面図である。
第1の実施形態に係る乾燥モジュールを示す概略構成断面図である。
第1の実施形態に係る乾燥ベルトユニットのステアリング部を示す前側から視た斜視図である。
第1の実施形態に係る乾燥ベルトユニットのステアリング部を示す後側から視た斜視図である。
第1の実施形態に係る乾燥ベルトユニットの第1状態にある張力ユニットを示す斜視図である。
図5の部分拡大図である。
第1の実施形態に係る乾燥ベルトユニットの第2状態にある張力ユニットを示す斜視図である。
図7の部分拡大図である。
第1の実施形態に係る乾燥ベルトユニットの第3状態にある張力ユニットを示す斜視図である。
図9の部分拡大図である。
第1の実施形態に係る乾燥ベルトユニットに張力ユニットを装着するときを示す前側から視た斜視図である。
第1の実施形態に係る乾燥ベルトユニットに張力ユニットを装着するときを示す後側から視た斜視図である。
第2の実施形態に係る乾燥ベルトユニットの第1状態にある張力ユニットを示す斜視図である。
図13の部分拡大図である。
第2の実施形態に係る乾燥ベルトユニットの第2状態にある張力ユニットを示す斜視図である。
図15の部分拡大図である。
第2の実施形態に係る乾燥ベルトユニットの第3状態にある張力ユニットを示す斜視図である。
図17の部分拡大図である。
【発明を実施するための形態】
(【0011】以降は省略されています)
この特許をJ-PlatPat(特許庁公式サイト)で参照する
関連特許
キヤノン株式会社
現像装置
今日
キヤノン株式会社
画像形成装置
1日前
キヤノン株式会社
画像形成装置
1日前
キヤノン株式会社
画像形成装置
今日
キヤノン株式会社
画像形成装置
今日
キヤノン株式会社
画像形成装置
1日前
キヤノン株式会社
画像形成装置
今日
キヤノン株式会社
電子写真装置
今日
キヤノン株式会社
レンズキャップ
1日前
キヤノン株式会社
光学系及び画像読取装置
今日
キヤノン株式会社
インクジェット記録装置
今日
キヤノン株式会社
検知装置、画像形成装置
今日
キヤノン株式会社
検知装置、画像形成装置
今日
キヤノン株式会社
画像形成装置及び箔印刷システム
1日前
キヤノン株式会社
情報処理装置およびその制御方法
今日
キヤノン株式会社
シート排出装置及び画像形成装置
今日
キヤノン株式会社
画像形成装置及び箔印刷システム
1日前
キヤノン株式会社
蒸着装置および発光装置の製造方法
1日前
キヤノン株式会社
情報処理装置、方法、及びプログラム
1日前
キヤノン株式会社
光電変換装置、撮像システム、移動体
今日
キヤノン株式会社
トナー、カートリッジ、及び画像形成装置
今日
キヤノン株式会社
電子機器、電子機器の制御方法、プログラム
今日
キヤノン株式会社
画像処理装置、画像処理方法及びプログラム
今日
キヤノン株式会社
画像処理装置、画像処理方法、及びプログラム
今日
キヤノン株式会社
情報処理装置、情報処理方法、及びプログラム
今日
キヤノン株式会社
情報処理装置、情報処理方法およびプログラム
今日
キヤノン株式会社
撮影システムに含まれる装置、及び撮影システム
1日前
キヤノン株式会社
画像形成装置及び画像形成方法、並びにプログラム
1日前
キヤノン株式会社
放射線撮影装置及びその制御方法、並びに、プログラム
今日
キヤノン株式会社
画像形成装置、画像形成システム、および情報処理装置
1日前
キヤノン株式会社
画像形成装置、画像形成システム、および情報処理装置
1日前
キヤノン株式会社
画像形成装置、画像形成システム、および情報処理装置
1日前
キヤノン株式会社
キャスタ装置、及びキャスタ装置を備えた画像形成装置
今日
キヤノン株式会社
画像形成システム、画像形成装置、および情報処理装置
1日前
キヤノン株式会社
情報処理装置、情報処理装置の制御方法およびプログラム
1日前
キヤノン株式会社
定着装置
2日前
続きを見る
他の特許を見る