TOP
|
特許
|
意匠
|
商標
特許ウォッチ
Twitter
他の特許を見る
10個以上の画像は省略されています。
公開番号
2025158860
公報種別
公開特許公報(A)
公開日
2025-10-17
出願番号
2024061796
出願日
2024-04-05
発明の名称
画像形成装置
出願人
キヤノン株式会社
代理人
個人
,
個人
,
個人
,
個人
,
個人
主分類
G03G
21/00 20060101AFI20251009BHJP(写真;映画;光波以外の波を使用する類似技術;電子写真;ホログラフイ)
要約
【課題】 近年の印刷システムにおけるデータ転送方法として、データを送信する送信装置側で画像データをシリアル化して高速に転送する方法が知られている。上述の通信技術では、ノイズ等の影響によりリカバリ回路が所定の周波数のクロック信号を復元せず、シリアルデータのパラレルデータへの変換が中断される場合がある。特に、画像データの最終ラインに付与された発光素子の消灯を示す画像データの変換が中断されると発光素子が消灯せず、感光ドラムが過剰に露光される虞がある。
【解決手段】 1ページ分の画像データを送信した後に複数の発光部が消灯することを示す第1の消灯画像データを送信し、第1の消灯画像データを送信した後に複数の発光部が消灯することを示す第2の消灯画像データを送信する。
【選択図】 図7
特許請求の範囲
【請求項1】
回転する感光体と、
前記感光体を露光する光を発し、前記感光体の回転軸線に沿って配列された複数の発光部を有する露光ヘッドと、
前記複数の発光部の点灯と消灯とを制御する画像データを出力するコントローラであって、1ページ分の前記画像データを送信した後に前記複数の発光部が消灯することを示す第1の消灯画像データを出力し、前記第1の消灯画像データを出力した後に前記複数の発光部が消灯することを示す第2の消灯画像データを出力する、コントローラと、
前記画像データに基づいて前記複数の発光部を駆動する駆動部と、
を備えることを特徴とする画像形成装置。
続きを表示(約 940 文字)
【請求項2】
前記コントローラは前記画像データと前記画像データを送受信するタイミング情報を有するタイミングデータとを含むシリアルデータを出力し、
前記画像形成装置は、
前記シリアルデータに含まれる前記タイミングデータに基づいて所定の周波数のクロック信号を生成する生成部と、
前記生成部が生成したクロック信号に基づいて前記シリアルデータに含まれる前記画像データをパラレルデータに変換する変換部と、
を備えることを特徴とする請求項1に記載の画像形成装置。
【請求項3】
前記変換部は前記生成部が前記所定の周波数のクロック信号を生成しなくなった場合、前記シリアルデータに含まれる前記画像データの前記パラレルデータへの変換を中断する、
ことを特徴とする請求項2に記載の画像形成装置。
【請求項4】
前記生成部は、前記所定の周波数のクロック信号を生成しなくなった場合、前記所定の周波数のクロック信号を生成しなくなったことを示す信号を出力し、
前記コントローラは、前記信号に基づいて前記パラレルデータへの変換が中断された前記画像データを再度送信する、
ことを特徴とする請求項3に記載の画像形成装置。
【請求項5】
前記コントローラは、前記画像データを出力している際に前記生成部が前記所定の周波数のクロック信号を生成しなくなった場合、前記第2の消灯画像データを出力せず、前記第1の消灯画像データを出力している際に前記生成部が前記所定の周波数のクロック信号を生成しなくなった場合、前記第2の消灯画像データを出力する、
ことを特徴とする請求項3に記載の画像形成装置。
【請求項6】
前記コントローラは、前記画像データの最終ラインに前記第1の消灯画像データを付与して出力し、前記第1の消灯画像データが付与された画像データを送信して所定時間が経過した後に前記第2の消灯画像データを出力する、
ことを特徴とする請求項1に記載の画像形成装置。
【請求項7】
前記複数の発光部は有機ELである、
ことを特徴とする請求項1に記載の画像形成装置。
発明の詳細な説明
【技術分野】
【0001】
画像形成装置に関する
続きを表示(約 1,200 文字)
【背景技術】
【0002】
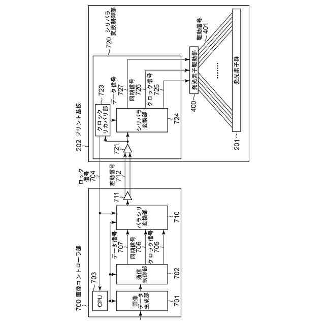
電子写真方式のプリンタにおいては、LEDや有機ELなどの発光素子を用いた露光ヘッドを用いて、感光体ドラムを露光し、潜像形成を行う方式が一般的に知られている。
【0003】
このような方式の露光ヘッドに使われる発光素子には、一度発光を開始すると消灯させるまでは発光し続けるホールド型の発光素子があり、このような発光素子は露光終了時には消灯させる制御が必要になる。特許文献1では、露光する画像の最終ラインを判定して、最終ラインの後に発光素子の消灯を指示する画像データを付与することで、非発光状態にする制御が行われている。
【0004】
ところで、近年の印刷システムにおけるデータ転送方法として、データを送信する送信装置側で画像データをシリアル化して高速に転送する方法が知られている。例えば、特許文献2では、画像処理コントローラが生成した発光素子の発光制御をする画像データをパラレル/シリアル変換して送受信を行うデータ通信部を介して露光ヘッド駆動部へ送信する構成が開示されている。
【0005】
高速シリアル通信を行う場合は、信号配線数削減のため画像データとクロックとを重畳させて同一のシリアル信号で送信するクロック埋め込み式のシリアル通信技術が知られている。
【0006】
シリアルデータの受信装置はシリアルデータに重畳されたクロック信号を復元するためのリカバリ回路を有し、復元されたクロック信号に基づいてシリアルデータがパラレルデータに変換される。このような通信技術では、ノイズ等の影響によりリカバリ回路が所定の周波数のクロック信号を復元せず、シリアルデータのパラレルデータへの変換が中断される場合がある。この場合、リカバリ回路は送信装置に所定の周波数のクロック信号が復元されない旨を通知し、送信装置は残りのシリアルデータを再度送信する。
【先行技術文献】
【特許文献】
【0007】
特開2020-142425号公報
特開2019-217654号公報
【発明の概要】
【発明が解決しようとする課題】
【0008】
上述の通信技術では、ノイズ等の影響によりリカバリ回路が所定の周波数のクロック信号を復元せず、シリアルデータのパラレルデータへの変換が中断される場合がある。
【0009】
特に、画像データの最終ラインに付与された発光素子の消灯を示す画像データの変換が中断されると発光素子が消灯せず、感光ドラムが過剰に露光される虞がある。
【0010】
上記課題に鑑み、本発明では、シリアル通信を用いて画像データを送信する画像形成装置において、感光ドラムが過剰に露光される虞を低減することを目的とする。
【課題を解決するための手段】
(【0011】以降は省略されています)
この特許をJ-PlatPat(特許庁公式サイト)で参照する
関連特許
キヤノン株式会社
トナー
1日前
キヤノン株式会社
測距装置
7日前
キヤノン株式会社
現像装置
5日前
キヤノン株式会社
現像容器
12日前
キヤノン株式会社
現像容器
12日前
キヤノン株式会社
現像装置
12日前
キヤノン株式会社
現像装置
12日前
キヤノン株式会社
画像形成装置
8日前
キヤノン株式会社
画像形成装置
1日前
キヤノン株式会社
画像形成装置
8日前
キヤノン株式会社
カートリッジ
12日前
キヤノン株式会社
画像形成装置
5日前
キヤノン株式会社
画像形成装置
1日前
キヤノン株式会社
画像形成装置
1日前
キヤノン株式会社
電子写真装置
5日前
キヤノン株式会社
画像形成装置
6日前
キヤノン株式会社
画像形成装置
6日前
キヤノン株式会社
画像形成装置
5日前
キヤノン株式会社
画像形成装置
5日前
キヤノン株式会社
印刷システム
今日
キヤノン株式会社
画像形成装置
6日前
キヤノン株式会社
振動型駆動装置
12日前
キヤノン株式会社
レンズキャップ
6日前
キヤノン株式会社
振動型駆動装置
12日前
キヤノン株式会社
画像形成システム
7日前
キヤノン株式会社
画像形成システム
7日前
キヤノン株式会社
多層プリント基板
8日前
キヤノン株式会社
分析デバイスシート
今日
キヤノン株式会社
インクジェット記録装置
5日前
キヤノン株式会社
検知装置、画像形成装置
5日前
キヤノン株式会社
検知装置、画像形成装置
5日前
キヤノン株式会社
光学系及び画像読取装置
5日前
キヤノン株式会社
インクジェット記録装置
12日前
キヤノン株式会社
通信装置およびその制御方法
7日前
キヤノン株式会社
現像装置、及びカートリッジ
12日前
キヤノン株式会社
走査光学装置及び画像形成装置
1日前
続きを見る
他の特許を見る