TOP
|
特許
|
意匠
|
商標
特許ウォッチ
Twitter
他の特許を見る
公開番号
2025157994
公報種別
公開特許公報(A)
公開日
2025-10-16
出願番号
2024060402
出願日
2024-04-03
発明の名称
画像形成装置
出願人
キヤノン株式会社
代理人
弁理士法人大塚国際特許事務所
主分類
B41J
29/46 20060101AFI20251008BHJP(印刷;線画機;タイプライター;スタンプ)
要約
【課題】予め箔が転写されたシートに対して画像を形成する場合に、画像不良が生じる可能性を低減する。
【解決手段】画像形成装置は、予め箔が転写されているシートに画像を形成する場合に、シート上の箔が転写されている領域である箔領域を示す箔領域データを取得する。画像形成装置は、入力画像データと箔領域データとに基づいて、入力画像データに基づく画像形成によりトナーが転写される領域であるシート上の印刷領域が箔領域と重なると判定した場合、警告情報を操作部に表示させる。
【選択図】図5
特許請求の範囲
【請求項1】
画像形成装置であって、
予め箔が転写されているシートに画像を形成する場合に、前記シート上の箔が転写されている領域である箔領域を示す箔領域データを取得する取得手段と、
入力画像データと前記箔領域データとに基づいて、前記入力画像データに基づく画像形成によりトナーが転写される領域である前記シート上の印刷領域が前記箔領域と重なると判定した場合、警告情報を表示手段に表示させる制御手段と、
を備える、画像形成装置。
続きを表示(約 1,200 文字)
【請求項2】
シートに画像を形成する画像形成手段を更に備え、
前記制御手段は、
前記印刷領域が前記箔領域と重ならないと判定した場合には、前記入力画像データに基づいて前記シートに画像を形成するように前記画像形成手段を制御し、
前記印刷領域が前記箔領域と重なると判定した場合には、前記警告情報を前記表示手段に表示させる、
請求項1に記載の画像形成装置。
【請求項3】
前記制御手段は、前記警告情報の表示後に、画像形成の実行指示をユーザから受け付けると、前記入力画像データに基づいて前記シートに画像を形成するように前記画像形成手段を制御する、
請求項2に記載の画像形成装置。
【請求項4】
前記制御手段は、前記警告情報の表示後に、画像形成の中止指示をユーザから受け付けると、前記入力画像データに基づく画像形成を中止する、
請求項2に記載の画像形成装置。
【請求項5】
前記制御手段は、前記入力画像データに基づいて特定される前記印刷領域の少なくとも一部が前記箔領域と重なる場合に、前記警告情報を前記表示手段に表示させる、
請求項1乃至4のいずれか一項に記載の画像形成装置。
【請求項6】
前記制御手段は、前記入力画像データに基づいて特定される前記印刷領域を拡大して得られる領域の少なくとも一部が前記箔領域と重なる場合に、前記警告情報を前記表示手段に表示させる、
請求項1乃至4のいずれか一項に記載の画像形成装置。
【請求項7】
シートの画像を読み取る画像読取部を更に備え、
前記取得手段は、予め箔が転写された前記シートについての前記画像読取部による読み取り結果に基づいて前記箔領域データを取得する、
請求項1乃至4のいずれか一項に記載の画像形成装置。
【請求項8】
前記取得手段は、ネットワークを介して通信可能な外部装置から前記箔領域データを取得する、
請求項1乃至4のいずれか一項に記載の画像形成装置。
【請求項9】
搬送路にシートを給紙する給紙部から、前記搬送路を搬送される前記シートに対してトナー像が転写される転写位置までの間に配置され、前記シート上の前記箔領域を検知する検知手段と、を更に備え、
前記取得手段は、前記検知手段による検知結果に基づいて前記箔領域データとして取得する、
請求項1乃至4のいずれか一項に記載の画像形成装置。
【請求項10】
前記制御手段は、前記警告情報を前記表示手段に表示させ、ユーザからの指示を受け付けるまでの間、前記シートを前記搬送路において前記検知手段の検知位置と前記転写位置との間で待機させる、
請求項9に記載の画像形成装置。
(【請求項11】以降は省略されています)
発明の詳細な説明
【技術分野】
【0001】
本発明は、画像形成装置に関する。
続きを表示(約 1,700 文字)
【背景技術】
【0002】
製本分野、商業印刷分野、カードビジネス分野、又は化粧品容器等のプラスチック成形分野では、箔印刷技術が利用されている。箔でできた文字又は絵柄は、プリントで表現が困難な金属感を実現し、光沢をもたらすことができる。箔印刷は、クレジットカードのホログラム等にも利用される。特許文献1及び2によれば、予めトナー像をシート上に形成し、そのトナー像を接着剤として利用して箔をシート上に転写する箔印刷装置が提案されている。
【先行技術文献】
【特許文献】
【0003】
特開2017-156723号公報
特開2021-116185号公報
【発明の概要】
【発明が解決しようとする課題】
【0004】
上述のように箔が転写(印刷)されたシートに対して、画像形成装置によって画像を形成する場合がある。このような場合に、シート上の箔が転写されている領域にトナー像が形成されると、シートに形成される画像に画像不良が生じうる虞がある。
【0005】
そこで、本発明は、予め箔が転写されたシートに対して画像を形成する場合に、画像不良が生じる可能性を低減することを目的とする。
【課題を解決するための手段】
【0006】
本発明の一態様によれば、予め箔が転写されているシートに画像を形成する場合に、前記シート上の箔が転写されている領域である箔領域を示す箔領域データを取得する取得手段と、入力画像データと前記箔領域データとに基づいて、前記入力画像データに基づく画像形成によりトナーが転写される領域である前記シート上の印刷領域が前記箔領域と重なると判定した場合、警告情報を表示手段に表示させる制御手段と、を備える、画像形成装置が提供される。
【発明の効果】
【0007】
本発明によれば、予め箔が転写されたシートに対して画像を形成する場合に、画像不良が生じる可能性を低減することが可能になる。
【図面の簡単な説明】
【0008】
画像形成装置の概略的な構成例を示す断面図。
主制御部の構成例を示すブロック図
CISを用いた箔領域の検知処理の説明図。
CISの概略的な構成例を示す断面図。
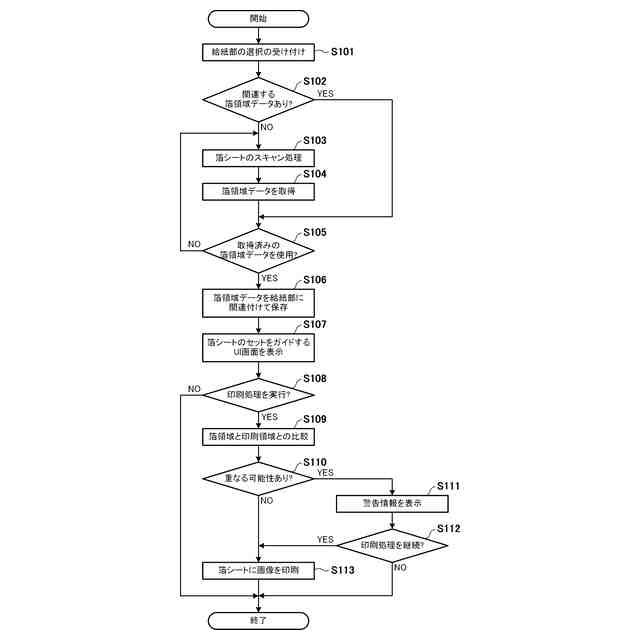
印刷処理の手順の例を示すフローチャート。
UI画面(メイン画面)の例を示す図。
UI画面の例を示す図。
UI画面の例を示す図。
UI画面の例を示す図。
UI画面の例を示す図。
UI画面の例を示す図。
箔領域及び印刷領域を示す二値化画像の例を示す図。
UI画面の例を示す図。
画像形成装置の概略的な構成例を示す断面図(第2実施形態)。
CISを用いた箔領域の検知処理の説明図(第2実施形態)。
CISの概略的な構成例を示す断面図(第2実施形態)。
CISを用いた箔領域の検知処理の説明図。
印刷処理の手順の例を示すフローチャート(第2実施形態)。
画像形成装置の概略的な構成例を示す断面図(第3実施形態)。
CISを用いた箔領域の検知処理の説明図(第3実施形態)。
UI画面の例を示す図(第3実施形態)。
【発明を実施するための形態】
【0009】
以下、添付図面を参照して実施形態を詳しく説明する。なお、以下の実施形態は特許請求の範囲に係る発明を限定するものではない。実施形態には複数の特徴が記載されているが、これらの複数の特徴の全てが発明に必須のものとは限らず、また、複数の特徴は任意に組み合わせられてもよい。さらに、添付図面においては、同一若しくは同様の構成に同一の参照番号を付し、重複した説明は省略する。
【0010】
[第1実施形態]
第1実施形態では、予め箔が転写(印刷)されたシートに対して画像を形成可能な画像形成装置について説明する。
(【0011】以降は省略されています)
この特許をJ-PlatPat(特許庁公式サイト)で参照する
関連特許
キヤノン株式会社
トナー
10日前
キヤノン株式会社
トナー
10日前
キヤノン株式会社
トナー
15日前
キヤノン株式会社
トナー
10日前
キヤノン株式会社
記録装置
8日前
キヤノン株式会社
撮像装置
23日前
キヤノン株式会社
電子機器
23日前
キヤノン株式会社
電子機器
23日前
キヤノン株式会社
定着装置
23日前
キヤノン株式会社
収容装置
23日前
キヤノン株式会社
表示装置
22日前
キヤノン株式会社
発光装置
22日前
キヤノン株式会社
電子機器
1か月前
キヤノン株式会社
撮像装置
11日前
キヤノン株式会社
測距装置
3日前
キヤノン株式会社
電子機器
19日前
キヤノン株式会社
電子機器
17日前
キヤノン株式会社
撮像装置
15日前
キヤノン株式会社
記録装置
15日前
キヤノン株式会社
定着装置
9日前
キヤノン株式会社
現像装置
8日前
キヤノン株式会社
現像容器
8日前
キヤノン株式会社
現像装置
8日前
キヤノン株式会社
定着装置
29日前
キヤノン株式会社
現像容器
8日前
キヤノン株式会社
撮影装置
8日前
キヤノン株式会社
撮像装置
29日前
キヤノン株式会社
現像装置
1日前
キヤノン株式会社
記録装置
1か月前
キヤノン株式会社
記録装置
1か月前
キヤノン株式会社
撮像装置
1か月前
キヤノン株式会社
半導体装置
17日前
キヤノン株式会社
モジュール
10日前
キヤノン株式会社
現像剤容器
16日前
キヤノン株式会社
光学センサ
10日前
キヤノン株式会社
画像形成装置
19日前
続きを見る
他の特許を見る