TOP
|
特許
|
意匠
|
商標
特許ウォッチ
Twitter
他の特許を見る
10個以上の画像は省略されています。
公開番号
2025142648
公報種別
公開特許公報(A)
公開日
2025-10-01
出願番号
2024042122
出願日
2024-03-18
発明の名称
半導体装置
出願人
キヤノン株式会社
代理人
個人
,
個人
,
個人
,
個人
主分類
G06F
1/3234 20190101AFI20250924BHJP(計算;計数)
要約
【課題】電源遮断状態からの復帰をより適切に行い得る半導体装置を提供すること。
【解決手段】複数の処理回路と、前記複数の処理回路のうちから、動作を停止させる第1処理回路を決定する停止回路決定部と、前記第1処理回路における動作の停止方法を、前記第1処理回路と、前記複数の処理回路のうちの前記第1処理回路とは異なる第2処理回路との各々の回路情報に基づいて、電源遮断を含む第1停止方法と、電源遮断を含まない第2停止方法とのいずれかに決定する停止方法決定部と、を有し、前記停止方法決定部は、前記複数の処理回路のうちの、前記第1停止方法によって同時刻に停止状態になっている処理回路の、電源配線側から見た負荷インピーダンスが所定のインピーダンス以上になるように前記停止方法を決定する。
【選択図】図1
特許請求の範囲
【請求項1】
複数の処理回路と、
前記複数の処理回路のうちから、動作を停止させる第1処理回路を決定する停止回路決定部と、
前記第1処理回路における動作の停止方法を、前記第1処理回路と、前記複数の処理回路のうちの前記第1処理回路とは異なる第2処理回路との各々の回路情報に基づいて、電源遮断を含む第1停止方法と、電源遮断を含まない第2停止方法とのいずれかに決定する停止方法決定部と、
を有し、
前記停止方法決定部は、前記複数の処理回路のうちの、前記第1停止方法によって同時刻に停止状態になっている処理回路の、電源配線側から見た負荷インピーダンスが所定のインピーダンス以上になるように前記停止方法を決定する
ことを特徴とする半導体装置。
続きを表示(約 970 文字)
【請求項2】
前記回路情報は、前記回路情報に対応する処理回路が既に前記第1停止方法による前記停止状態であるか否かを示す情報を含む
ことを特徴とする請求項1に記載の半導体装置。
【請求項3】
前記回路情報は、前記回路情報に対応する処理回路を含む回路の配置を示す情報を含む
ことを特徴とする請求項1に記載の半導体装置。
【請求項4】
前記回路情報は、前記回路情報に対応する処理回路と前記複数の処理回路が形成される基板上の電源供給端子との位置関係を示す情報を更に含む
ことを特徴とする請求項3に記載の半導体装置。
【請求項5】
前記停止方法決定部は、前記電源供給端子との距離が最も近い処理回路の動作が前記第1停止方法によって停止するように前記停止方法を決定する
ことを特徴とする請求項4に記載の半導体装置。
【請求項6】
前記停止回路決定部は、前記複数の処理回路のうちの前記第1停止方法により停止状態になっている複数の処理回路が、前記複数の処理回路が配された基板に対する平面視において互いに隣接しないように前記停止方法を決定する
ことを特徴とする請求項3に記載の半導体装置。
【請求項7】
前記複数の処理回路の各々の前記回路情報を記憶する記憶部を更に有し、
前記停止方法決定部は、前記記憶部から前記回路情報を取得する
ことを特徴とする請求項1に記載の半導体装置。
【請求項8】
前記停止方法決定部は、前記半導体装置の外部の装置から前記回路情報を取得する
ことを特徴とする請求項1に記載の半導体装置。
【請求項9】
前記第2停止方法により停止状態になっている処理回路の復帰時間は、前記第1停止方法により停止状態になっている処理回路の復帰時間よりも短い
ことを特徴とする請求項1に記載の半導体装置。
【請求項10】
前記第2停止方法により停止状態になっている処理回路の消費電力は、前記第1停止方法により停止状態になっている処理回路の消費電力よりも大きい
ことを特徴とする請求項1に記載の半導体装置。
(【請求項11】以降は省略されています)
発明の詳細な説明
【技術分野】
【0001】
本発明は、半導体装置に関する。
続きを表示(約 1,900 文字)
【背景技術】
【0002】
特許文献1には、低消費電力制御が可能な半導体集積回路が開示されている。特許文献1の半導体集積回路は、プロセッサコア等の回路へのクロック信号の供給の有無を制御するクロックゲーティング回路と、当該回路への電源電圧の供給の有無を制御するパワースイッチとを有している。特許文献1には、動作停止頻度の高い回路に対しては、電源遮断ではなくクロックゲーティングを適用することで、低消費電力化と処理性能向上を両立する技術が提案されている。
【0003】
特許文献2には、独立に電源供給の制御が可能な複数の信号処理モジュールを有する測距センサが開示されている。
【先行技術文献】
【特許文献】
【0004】
特開2016-119003号公報
特開2021-139836号公報
【発明の概要】
【発明が解決しようとする課題】
【0005】
特許文献1及び特許文献2のような電源遮断が行われる複数の処理回路を有する半導体装置において、電源遮断状態からの復帰をより適切に行うことが求められ得る。
【0006】
そこで、本発明は、電源遮断状態からの復帰をより適切に行い得る半導体装置を提供することを目的とする。
【課題を解決するための手段】
【0007】
本明細書の一開示によれば、複数の処理回路と、前記複数の処理回路のうちから、動作を停止させる第1処理回路を決定する停止回路決定部と、前記第1処理回路における動作の停止方法を、前記第1処理回路と、前記複数の処理回路のうちの前記第1処理回路とは異なる第2処理回路との各々の回路情報に基づいて、電源遮断を含む第1停止方法と、電源遮断を含まない第2停止方法とのいずれかに決定する停止方法決定部と、を有し、前記停止方法決定部は、前記複数の処理回路のうちの、前記第1停止方法によって同時刻に停止状態になっている処理回路の、電源配線側から見た負荷インピーダンスが所定のインピーダンス以上になるように前記停止方法を決定することを特徴とする半導体装置が提供される。
【0008】
本明細書の一開示によれば、複数の処理回路と、前記複数の処理回路のうちから、動作を停止させる第1処理回路を決定する停止回路決定部と、前記第1処理回路における動作の停止方法を、前記第1処理回路と、前記複数の処理回路のうちの前記第1処理回路とは異なる第2処理回路との各々の回路情報に基づいて、電源遮断を含む第1停止方法と、電源遮断を含まない第2停止方法とのいずれかに決定する停止方法決定部と、を有し、前記停止方法決定部は、前記複数の処理回路のうちの、前記第1停止方法によって同時刻に停止状態になっている処理回路の個数が閾値以下になるように前記停止方法を決定することを特徴とする半導体装置が提供される。
【発明の効果】
【0009】
本発明によれば、電源遮断状態からの復帰をより適切に行い得る半導体装置が提供される。
【図面の簡単な説明】
【0010】
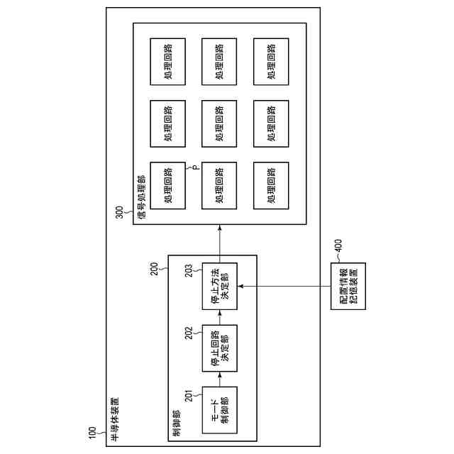
第1実施形態に係る半導体装置の機能ブロック図である。
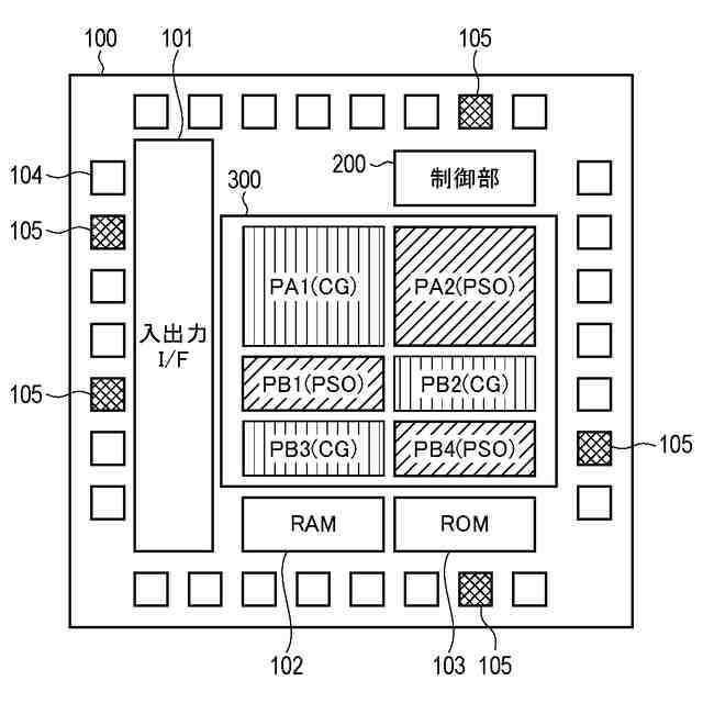
第1実施形態に係る半導体装置における半導体基板上の物理配置を示す平面模式図である。
第1実施形態に係る半導体装置における処理回路の状態の時間変化を示す表である。
第1実施形態に係る半導体装置における処理回路の状態の時間変化を示す平面模式図である。
比較例に係る半導体装置における処理回路の状態の時間変化を示す平面模式図である。
第1実施形態に係る半導体装置における半導体基板上の物理配置を示す平面模式図である。
第1実施形態の変形例に係る半導体装置の機能ブロック図である。
第1実施形態の変形例に係る半導体装置の機能ブロック図である。
第2実施形態に係る半導体装置のブロック図である。
第2実施形態に係る半導体装置における処理回路の状態の時間変化を示す模式図である。
第3実施形態に係る半導体装置のブロック図である。
第3実施形態に係る半導体装置における処理回路の状態の時間変化を示す模式図である。
第4実施形態に係る機器のブロック図である。
第5実施形態に係る機器のブロック図である。
【発明を実施するための形態】
(【0011】以降は省略されています)
この特許をJ-PlatPat(特許庁公式サイト)で参照する
関連特許
キヤノン株式会社
容器
16日前
キヤノン株式会社
容器
10日前
キヤノン株式会社
トナー
19日前
キヤノン株式会社
トナー
2日前
キヤノン株式会社
現像装置
23日前
キヤノン株式会社
撮像装置
3日前
キヤノン株式会社
撮像装置
10日前
キヤノン株式会社
表示装置
10日前
キヤノン株式会社
記録装置
2日前
キヤノン株式会社
測距装置
25日前
キヤノン株式会社
電子機器
2日前
キヤノン株式会社
撮像装置
16日前
キヤノン株式会社
撮像装置
16日前
キヤノン株式会社
記録装置
2日前
キヤノン株式会社
撮像装置
16日前
キヤノン株式会社
記録装置
16日前
キヤノン株式会社
電子機器
2日前
キヤノン株式会社
測距装置
4日前
キヤノン株式会社
撮像装置
2日前
キヤノン株式会社
雲台装置
2日前
キヤノン株式会社
液体収容体
5日前
キヤノン株式会社
液体収容体
4日前
キヤノン株式会社
印刷システム
18日前
キヤノン株式会社
光電変換装置
13日前
キヤノン株式会社
画像形成装置
3日前
キヤノン株式会社
画像形成装置
3日前
キヤノン株式会社
画像形成装置
3日前
キヤノン株式会社
画像形成装置
10日前
キヤノン株式会社
画像形成装置
13日前
キヤノン株式会社
画像形成装置
3日前
キヤノン株式会社
画像形成装置
13日前
キヤノン株式会社
画像形成装置
10日前
キヤノン株式会社
画像形成装置
10日前
キヤノン株式会社
画像形成装置
24日前
キヤノン株式会社
画像形成装置
2日前
キヤノン株式会社
電子写真装置
17日前
続きを見る
他の特許を見る