TOP
|
特許
|
意匠
|
商標
特許ウォッチ
Twitter
他の特許を見る
公開番号
2025138298
公報種別
公開特許公報(A)
公開日
2025-09-25
出願番号
2024037311
出願日
2024-03-11
発明の名称
電子機器
出願人
キヤノン株式会社
代理人
個人
,
個人
,
個人
主分類
H04N
23/52 20230101AFI20250917BHJP(電気通信技術)
要約
【課題】変位可能な発熱部からの熱を安定的に放熱させることが可能な電子機器を提供する。
【解決手段】電子機器(10)は、発熱部(200)と、発熱部の熱を放熱する放熱部材(300)と、発熱部と放熱部材との間に配置された熱伝導部材(501)とを有し、熱伝導部材は、第1領域(501a)と、第2領域(501b)と、第1領域と第2領域との間に位置する湾曲状の第3領域(501c)とを有し、熱伝導部材の第1領域および第2領域は、発熱部または放熱部材の一方に取り付けられている。
【選択図】図5
特許請求の範囲
【請求項1】
発熱部と、
前記発熱部の熱を放熱する放熱部材と、
前記発熱部と前記放熱部材との間に配置された熱伝導部材と、を有し、
前記熱伝導部材は、第1領域と、第2領域と、該第1領域と該第2領域との間に位置する湾曲状の第3領域とを有し、
前記熱伝導部材の前記第1領域および前記第2領域は、前記発熱部または前記放熱部材の一方に取り付けられていることを特徴とする電子機器。
続きを表示(約 780 文字)
【請求項2】
前記熱伝導部材は、前記発熱部と前記放熱部材とが熱的に接触するように配置されていることを特徴とする請求項1に記載の電子機器。
【請求項3】
前記熱伝導部材の前記第3領域は、円筒形状の領域を含むことを特徴とする請求項1に記載の電子機器。
【請求項4】
前記熱伝導部材の前記第3領域は、前記発熱部または前記放熱部材の他方に接触している領域を含むことを特徴とする請求項1に記載の電子機器。
【請求項5】
前記熱伝導部材の前記第1領域および前記第2領域はそれぞれ、前記第3領域に対して折り返されていることを特徴とする請求項1に記載の電子機器。
【請求項6】
前記熱伝導部材の前記第1領域および前記第2領域のそれぞれと、前記第3領域の一部とを接着する接着部材を更に有することを特徴とする請求項1に記載の電子機器。
【請求項7】
前記発熱部または前記放熱部材の一方には、前記発熱部と前記放熱部材とが互いに近接することで押された前記熱伝導部材の少なくとも一部を逃がすための開口が形成されていることを特徴とする請求項1に記載の電子機器。
【請求項8】
前記熱伝導部材は、前記第1領域および前記第2領域のそれぞれにおいて、光軸と垂直な面に取り付けられた熱伝導シートであることを特徴とする請求項1に記載の電子機器。
【請求項9】
前記発熱部は、光軸方向に変位可能な撮像ユニットであることを特徴とする請求項1乃至8のいずれか一項に記載の電子機器。
【請求項10】
前記放熱部材は、前記発熱部と対向する位置に配置された放熱板金であることを特徴とする請求項1乃至8のいずれか一項に記載の電子機器。
(【請求項11】以降は省略されています)
発明の詳細な説明
【技術分野】
【0001】
本発明は、電子機器に関する。
続きを表示(約 1,200 文字)
【背景技術】
【0002】
従来、ユーザの手振れにより生じる像振れを抑制するため、撮像素子を光軸に直交する二次元方向に変位させることが可能な像振れ補正機構を備えた撮像装置が知られている。このような撮像装置では、像振れ補正機構を構成する撮像素子または回路基板において発生する熱が画質に影響を及ぼすため、十分な放熱性が必要とされる。しかし、放熱のために剛性が高い放熱部材を取り付けると、撮像素子を二次元方向に変位させる際に反力が生じ、像振れ補正機構の負荷になる。
【0003】
特許文献1には、撮像素子を搭載した支持板と、支持板に対向する位置に固定配置された放熱板との間に、リング状の放熱シートが配置された構成が開示されている。放熱シートをリング状にすることで放熱シートは可撓性を有するため、像振れ補正機構に負荷を与えることなく放熱が可能である。
【先行技術文献】
【特許文献】
【0004】
特開2009-284414号公報
【発明の概要】
【発明が解決しようとする課題】
【0005】
しかしながら、特許文献1に開示された構成では、撮像素子の二次元方向の変位量および重力により、撮像素子を搭載した支持板に接触する放熱シートの接触面が変化するため、放熱効果が低下する可能性がある。
【0006】
そこで本発明は、変位可能な発熱部からの熱を安定的に放熱させることが可能な電子機器を提供することを目的とする。
【課題を解決するための手段】
【0007】
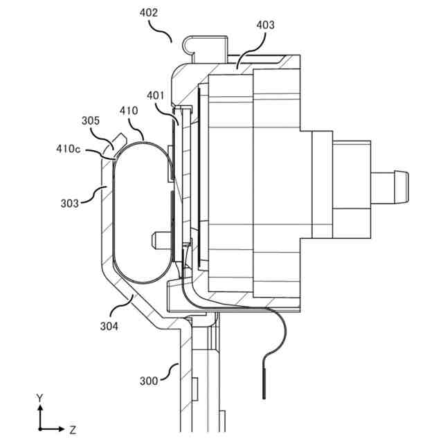
本発明の一側面としての電子機器は、発熱部と、前記発熱部の熱を放熱する放熱部材と、前記発熱部と前記放熱部材との間に配置された熱伝導部材とを有し、前記熱伝導部材は、第1領域と、第2領域と、該第1領域と該第2領域との間に位置する湾曲状の第3領域とを有し、前記熱伝導部材の前記第1領域および前記第2領域は、前記発熱部または前記放熱部材の一方に取り付けられている。
【0008】
本発明の他の目的及び特徴は、以下の実施形態において説明される。
【発明の効果】
【0009】
本発明によれば、変位可能な発熱部からの熱を安定的に放熱させることが可能な電子機器を提供することができる。
【図面の簡単な説明】
【0010】
第1実施形態における電子機器の外観斜視図である。
第1実施形態における電子機器のブロック図である。
第1実施形態における電子機器の分解斜視図である。
第1実施形態における撮像ユニットの分解斜視図である。
第1実施形態における熱伝導シートの概略図である。
第2実施形態における電子機器の内部構成図である。
第3実施形態における電子機器の分解斜視図である。
第3実施形態における熱伝導シートの断面図である。
【発明を実施するための形態】
(【0011】以降は省略されています)
この特許をJ-PlatPat(特許庁公式サイト)で参照する
関連特許
キヤノン株式会社
撮影装置
10日前
キヤノン株式会社
定着装置
11日前
キヤノン株式会社
測距装置
5日前
キヤノン株式会社
現像容器
10日前
キヤノン株式会社
現像装置
10日前
キヤノン株式会社
現像容器
10日前
キヤノン株式会社
現像装置
10日前
キヤノン株式会社
記録装置
10日前
キヤノン株式会社
現像装置
3日前
キヤノン株式会社
情報処理装置
10日前
キヤノン株式会社
画像形成装置
4日前
キヤノン株式会社
画像形成装置
11日前
キヤノン株式会社
画像形成装置
11日前
キヤノン株式会社
画像形成装置
10日前
キヤノン株式会社
カートリッジ
10日前
キヤノン株式会社
画像形成装置
6日前
キヤノン株式会社
画像形成装置
6日前
キヤノン株式会社
画像形成装置
4日前
キヤノン株式会社
カートリッジ
10日前
キヤノン株式会社
画像処理装置
10日前
キヤノン株式会社
画像形成装置
10日前
キヤノン株式会社
画像形成装置
10日前
キヤノン株式会社
画像形成装置
4日前
キヤノン株式会社
画像形成装置
10日前
キヤノン株式会社
画像形成装置
3日前
キヤノン株式会社
画像形成装置
3日前
キヤノン株式会社
電子写真装置
3日前
キヤノン株式会社
画像形成装置
3日前
キヤノン株式会社
画像形成装置
11日前
キヤノン株式会社
振動型駆動装置
10日前
キヤノン株式会社
レンズキャップ
4日前
キヤノン株式会社
振動型駆動装置
10日前
キヤノン株式会社
画像形成システム
5日前
キヤノン株式会社
コネクタ実装基板
11日前
キヤノン株式会社
画像形成システム
5日前
キヤノン株式会社
多層プリント基板
6日前
続きを見る
他の特許を見る