TOP
|
特許
|
意匠
|
商標
特許ウォッチ
Twitter
他の特許を見る
10個以上の画像は省略されています。
公開番号
2025138460
公報種別
公開特許公報(A)
公開日
2025-09-25
出願番号
2024037566
出願日
2024-03-11
発明の名称
収容装置
出願人
キヤノン株式会社
代理人
個人
,
個人
,
個人
,
個人
,
個人
主分類
B65H
1/26 20060101AFI20250917BHJP(運搬;包装;貯蔵;薄板状または線条材料の取扱い)
要約
【課題】 長尺紙を給紙カセットへシートを収容する作業性及び、給紙カセットを装置本体へセットする作業性が悪かった。
【解決手段】 給送されるシートを収容するカセットであって、装置本体から引き出すことができ且つ前記装置本体から取り外すことができるカセットが、装置本体から引き出す際に使用される第一の把手と、カセットが装置本体から取り外された状態において、カセットを保持する際に使用される第二の把手と、を有する。
【選択図】 図8
特許請求の範囲
【請求項1】
装置本体と、
給送されるシートを収容するカセットであって、前記装置本体から引き出すことができ且つ前記装置本体から取り外すことができるカセットと、を有し、
前記カセットは、
前記装置本体から引き出す際に使用される第一の把手と、
前記カセットが前記装置本体から取り外された状態において、前記カセットを保持する際に使用される第二の把手と、を有することを特徴とする収容装置。
続きを表示(約 1,000 文字)
【請求項2】
前記カセットは、第一のトレイ部と前記第一のトレイ部から取り外すことができる第二のトレイ部とを備え、
前記カセットは、収容できるシートのサイズを拡張できるように前記第一のトレイ部と前記第二のトレイ部と間に配置され前記第一のトレイ部と前記第二のトレイ部とを連結する連結部が連結でき、
前記第二の把手は前記連結部に設けられる事を特徴とする請求項1に記載の収容装置。
【請求項3】
前記カセットは、可動部が移動することで伸縮でき、
前記第二の把手は、前記可動部に設けられる事を特徴とする請求項1に記載の収容装置。
【請求項4】
前記第二の把手は、複数、設けられ、
複数の前記第二の把手のみを保持した状態で前記カセットを保持可能となるように前記第二の把手が設けられていることを特徴とする請求項1に記載の収容装置。
【請求項5】
前記第二の把手は、前記カセットのシートの積載領域の両側に配置されることを特徴とする請求項1に記載の収容装置。
【請求項6】
前記第二の把手は、少なくとも2つ、設けられ、
2つの前記第二の把手のうちの一方は、シートが給送される給送方向に直交するシート幅方向において、前記カセットにおけるシート積載領域の一方側に配置され、2つの前記第二の把手のうちの他方は、前記シート積載領域の他方側に配置されることを特徴とする請求項1に記載の収容装置。
【請求項7】
前記第二の把手は、前記カセットにおけるシート載置面よりも上方にてユーザーの手が掛けられるように配置されることを特徴とする請求項1に記載の収容装置。
【請求項8】
前記第二の把手は、前記カセットに積載されたシートよりも上方にてユーザーの手が掛けられるように配置されることを特徴とする請求項1に記載の収容装置。
【請求項9】
前記カセットは、複数のトレイ部によって構成され、
前記カセットを構成する複数のトレイ部のうちの最も大きいトレイ部に前記第二の把手は設けられることを特徴とする請求項1に記載の収容装置。
【請求項10】
収容したシートが給送手段によって給送できる装着位置に前記カセットが位置した状態において、前記第一の把手は露出され、前記第二の把手は前記装置本体に覆われて把持できないことを特徴とする請求項1に記載の収容装置。
(【請求項11】以降は省略されています)
発明の詳細な説明
【技術分野】
【0001】
本発明は、シートを収容するカセットを備えた収容装置に関するものである。
続きを表示(約 1,300 文字)
【背景技術】
【0002】
複写機、プリンタ、ファクシミリ等の画像形成装置においては給紙カセットにシートが収納される。A4等の一般的なオフィス定型紙だけでなく、長尺紙にも対応する製品が広く知られている。
【0003】
長尺紙を収容する手段として、特許文献1に記載されているように、長尺紙に対応するために延長及び連結可能な給紙カセットが提案されている。
【先行技術文献】
【特許文献】
【0004】
特開2021-17335号
【発明の概要】
【発明が解決しようとする課題】
【0005】
長尺紙の重量は長尺紙でないシートと比較すると重い。長尺紙を収容した、本体から取り外された状態の給紙カセットを持つ場合に、ユーザーが強度不足の部位を持った場合は給紙カセットを破損させる恐れがある。機能上重要な部位を誤って触れてしまった場合は給紙カセットの機能を損なう恐れがある。なお、画像形成装置本体から給紙カセットを取り外さないで長尺紙をセットすることも考えられるが、この場合、給紙カセット内に真上から降ろすようにシートをセットすることが出来ないので、作業性が悪くシートを損傷させる恐れがある。
【0006】
本発明の目的は、作業性の高いカセットを提案する事である。
【課題を解決するための手段】
【0007】
本発明の収容装置は、装置本体と、給送されるシートを収容するカセットであって、前記装置本体から引き出すことができ且つ前記装置本体から取り外すことができるカセットと、を有し、前記カセットは、前記装置本体から引き出す際に使用される第一の把手と、前記カセットが前記装置本体から取り外された状態において、前記カセットを保持する際に使用される第二の把手と、を有することを特徴とする。
【発明の効果】
【0008】
本発明によれば作業性を高めることができる。
【図面の簡単な説明】
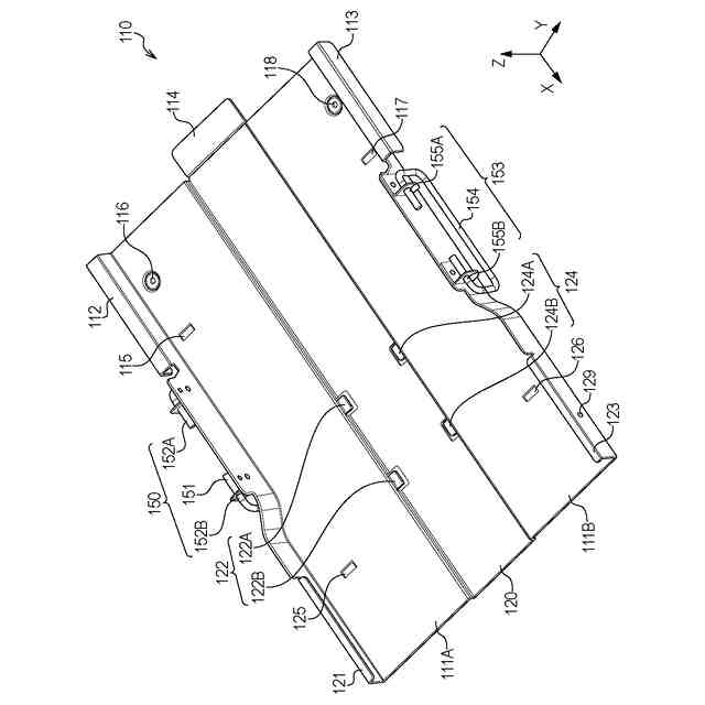
【0009】
本発明を適用可能なカラーレーザープリンタの略断面図。
本発明を適用可能な給紙カセットの斜視図。
給紙カセットをスライド延長した状態の斜視図。
給紙カセットを分離した状態の斜視図。
給紙カセットに第三のトレイ部を追加する際の分離した状態の斜視図。
第三のトレイ部の斜視図。
第三のトレイ部を追加連結した状態の斜視図。
第三のトレイ部を追加連結し、第二の把手を開いた状態の斜視図。
第三のトレイ部を追加連結した第二の実施例の斜視図。
第三のトレイ部を追加連結した第三の実施例の斜視図。
第三のトレイ部を追加連結した第四の実施例の斜視図。
第四の実施例において第二の把手が収容された状態の斜視図。
【発明を実施するための形態】
【0010】
以下、図面を用いて本発明の実施の形態について説明する。
(【0011】以降は省略されています)
この特許をJ-PlatPat(特許庁公式サイト)で参照する
関連特許
キヤノン株式会社
容器
1日前
キヤノン株式会社
トナー
17日前
キヤノン株式会社
トナー
17日前
キヤノン株式会社
トナー
17日前
キヤノン株式会社
トナー
22日前
キヤノン株式会社
トナー
4日前
キヤノン株式会社
撮像装置
1日前
キヤノン株式会社
撮像装置
1日前
キヤノン株式会社
現像装置
15日前
キヤノン株式会社
現像容器
15日前
キヤノン株式会社
測距装置
10日前
キヤノン株式会社
撮像装置
18日前
キヤノン株式会社
定着装置
16日前
キヤノン株式会社
現像装置
8日前
キヤノン株式会社
記録装置
1日前
キヤノン株式会社
記録装置
15日前
キヤノン株式会社
現像装置
15日前
キヤノン株式会社
記録装置
22日前
キヤノン株式会社
撮影装置
15日前
キヤノン株式会社
撮像装置
1日前
キヤノン株式会社
撮像装置
22日前
キヤノン株式会社
現像容器
15日前
キヤノン株式会社
モジュール
17日前
キヤノン株式会社
現像剤容器
23日前
キヤノン株式会社
光学センサ
17日前
キヤノン株式会社
画像形成装置
22日前
キヤノン株式会社
電子写真装置
2日前
キヤノン株式会社
画像処理装置
15日前
キヤノン株式会社
画像形成装置
2日前
キヤノン株式会社
画像形成装置
15日前
キヤノン株式会社
画像形成装置
15日前
キヤノン株式会社
画像形成装置
23日前
キヤノン株式会社
カートリッジ
15日前
キヤノン株式会社
画像形成装置
9日前
キヤノン株式会社
画像形成装置
8日前
キヤノン株式会社
画像形成装置
8日前
続きを見る
他の特許を見る