TOP
|
特許
|
意匠
|
商標
特許ウォッチ
Twitter
他の特許を見る
10個以上の画像は省略されています。
公開番号
2025138212
公報種別
公開特許公報(A)
公開日
2025-09-25
出願番号
2024037171
出願日
2024-03-11
発明の名称
撮像装置
出願人
キヤノン株式会社
代理人
個人
主分類
G03B
17/56 20210101AFI20250917BHJP(写真;映画;光波以外の波を使用する類似技術;電子写真;ホログラフイ)
要約
【課題】複数の方向に設置して使用する撮像装置において、簡易な構成で複数の方向のそれぞれの方向で適切な撮影を行えるようにする。
【解決手段】撮像装置は、撮像部と、撮像部を第1の方向に駆動可能に支持するカメラ支持ユニット120と、カメラ支持ユニット120を第1の方向とは異なる第2の方向に駆動可能に支持するベースユニット130と、を有し、カメラ支持ユニット120は、固定部材140を第1の位置600に配置させた場合に固定部材140によって第2の方向に対して第1の固定力でカメラ支持ユニット120を固定する第1の固定部1211と、固定部材140を第1の位置600とは異なる第2の位置に配置させた場合に固定部材140によって第2の方向に対して第1の固定力とは異なる第2の固定力でカメラ支持ユニット120を固定する第2の固定部1212を備える。
【選択図】図6
特許請求の範囲
【請求項1】
撮像部と、
前記撮像部を第1の方向に駆動可能に支持する第1の支持部と、
前記第1の支持部を前記第1の方向とは異なる第2の方向に駆動可能に支持する第2の支持部と、
を有し、
前記第1の支持部は、
固定部材を第1の位置に配置させた場合に前記固定部材によって前記第2の方向に対して第1の固定力で当該第1の支持部を固定する第1の固定部と、
前記固定部材を前記第1の位置とは異なる第2の位置に配置させた場合に前記固定部材によって前記第2の方向に対して前記第1の固定力とは異なる第2の固定力で当該第1の支持部を固定する第2の固定部と、
を備えることを特徴とする撮像装置。
続きを表示(約 1,200 文字)
【請求項2】
前記固定部材は、ばね構造を有しており、
前記第1の固定部は、前記固定部材を前記第1の位置に配置させた場合に前記ばね構造の付勢力によって前記第1の固定力で前記第1の支持部を固定し、
前記第2の固定部は、前記固定部材を前記第2の位置に配置させた場合に前記ばね構造の付勢力によって前記第2の固定力で前記第1の支持部を固定する
ことを特徴とする請求項1に記載の撮像装置。
【請求項3】
前記固定部材は、前記ばね構造を備える凸部を有しており、
前記第1の固定部は、前記固定部材を前記第1の位置に配置させた場合に前記凸部と係合する第1の凹部を有し、
前記第2の固定部は、前記固定部材を前記第2の位置に配置させた場合に前記凸部と係合する第2の凹部を有する
ことを特徴とする請求項2に記載の撮像装置。
【請求項4】
前記第2の方向は、当該撮像装置を水平方向に設置させた場合のパン方向であり、且つ、当該撮像装置を鉛直方向に設置させた場合のチルト方向である
ことを特徴とする請求項1に記載の撮像装置。
【請求項5】
前記第1の方向は、当該撮像装置を水平方向に設置させた場合のチルト方向であり、且つ、当該撮像装置を鉛直方向に設置させた場合のパン方向である
ことを特徴とする請求項1に記載の撮像装置。
【請求項6】
前記第2の固定力は、前記第1の固定力よりも大きい
ことを特徴とする請求項1に記載の撮像装置。
【請求項7】
前記第1の固定力は、当該撮像装置を鉛直方向に設置させた場合に、前記撮像部および前記第1の支持部が重量により一体となって前記第2の方向に移動する力よりも大きい力である
ことを特徴とする請求項6に記載の撮像装置。
【請求項8】
前記第1の支持部を前記第2の方向に駆動する駆動部を更に有し、
前記第1の固定力は、前記駆動部が前記駆動を行う際の駆動力よりも小さく、
前記第2の固定力は、前記駆動力よりも大きい
ことを特徴とする請求項6に記載の撮像装置。
【請求項9】
前記撮像部を前記第1の方向に駆動する第1の駆動部と、
前記第1の支持部を前記第2の方向に駆動する第2の駆動部と、
前記固定部材が前記第1の位置と前記第2の位置の少なくともいずれかの位置に配置されたことを検出する検出部と、
当該撮像装置の初期化動作を行う際に、前記検出部による前記検出がなされていない場合には前記第1の駆動部および前記第2の駆動部の駆動を実行する制御を行い、前記検出部による前記検出がなされた場合には前記第1の駆動部および前記第2の駆動部の駆動を実行しない制御を行う制御部と、
を更に有することを特徴とする請求項1に記載の撮像装置。
発明の詳細な説明
【技術分野】
【0001】
本発明は、撮像装置に関する。
続きを表示(約 2,200 文字)
【背景技術】
【0002】
近年、撮像装置の一種であるスマートフォンの普及に伴って、例えば動画を縦長画面で撮影する機会が増えている。この縦長画面の撮影には、スマートフォンを使用することが多いが、縦長動画の需要の高まりにより、映像制作向けの撮像装置を使用する機会も増えてきている。映像制作向けの撮像装置としては、一般的には可搬型の業務用ビデオカメラを使用することが多いものの、撮影現場の省人化の要求の高まりに応じて遠隔操作でパン・チルト・ズーム動作が可能なカメラ(PTZカメラ)を使用するニーズも高まってきている。
【0003】
特許文献1には、PTZカメラを水平方向に設置させた場合に、PTZカメラのチルト方向における動きを規制するためのチルトストッパと、PTZカメラのパン方向における動きを規制するためのパンストッパを設けることが記載されている。
【先行技術文献】
【特許文献】
【0004】
特開2023-101388号公報
【発明の概要】
【発明が解決しようとする課題】
【0005】
上述した特許文献1に記載のPTZカメラにおいて、PTZカメラを鉛直方向に設置させた場合には、PTZカメラを水平方向に設置させた場合に対してチルト方向とパン方向との関係が逆になる。例えば、PTZカメラを水平方向に設置させた場合のパン方向は、PTZカメラを鉛直方向に設置させた場合のチルト方向となる。このため、例えば、特許文献1に記載のパンストッパは、PTZカメラを鉛直方向に設置させた場合には、PTZカメラのチルト方向における動きを規制するためのストッパとして機能することになる。ここで、PTZカメラを水平方向に設置させた場合のパン方向の動きを規制する力よりも、PTZカメラを鉛直方向に設置させた場合のチルト方向の動きを規制する力の方が、重力に抗うモーメント負荷などにより大きくなることが想定される。この点を考慮すると、特許文献1に記載のパンストッパは、PTZカメラを水平方向に設置させた場合のパン方向の動きは規制できても、PTZカメラを鉛直方向に設置させた場合のチルト方向の動きは規制できないこともありうる。そして、PTZカメラを鉛直方向に設置させた際にチルト方向の動きを規制できない場合には、PTZカメラの位置を固定できないため、PTZカメラを鉛直方向に設置させた状態での適切な撮影が困難になってしまう。
【0006】
本発明は、このような課題に鑑みてなされたものであり、複数の方向に設置して使用する撮像装置において、簡易な構成で複数の方向のそれぞれの方向で適切な撮影を行えるようにすることを目的とする。
【課題を解決するための手段】
【0007】
本発明の撮像装置は、撮像部と、前記撮像部を第1の方向に駆動可能に支持する第1の支持部と、前記第1の支持部を前記第1の方向とは異なる第2の方向に駆動可能に支持する第2の支持部と、を有し、前記第1の支持部は、固定部材を第1の位置に配置させた場合に前記固定部材によって前記第2の方向に対して第1の固定力で当該第1の支持部を固定する第1の固定部と、前記固定部材を前記第1の位置とは異なる第2の位置に配置させた場合に前記固定部材によって前記第2の方向に対して前記第1の固定力とは異なる第2の固定力で当該第1の支持部を固定する第2の固定部と、を備える。
【発明の効果】
【0008】
本発明によれば、複数の方向に設置して使用する撮像装置において、簡易な構成で複数の方向のそれぞれの方向で適切な撮影を行うことができる。
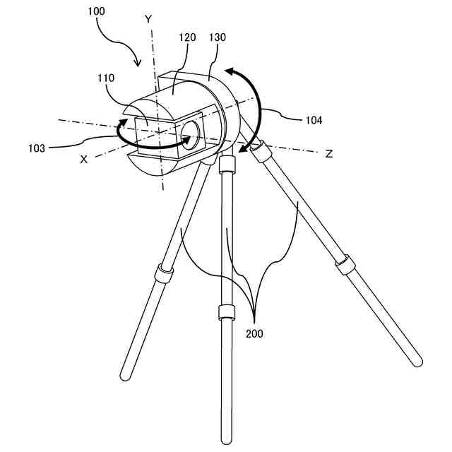
【図面の簡単な説明】
【0009】
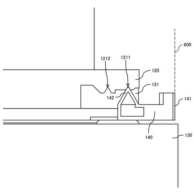
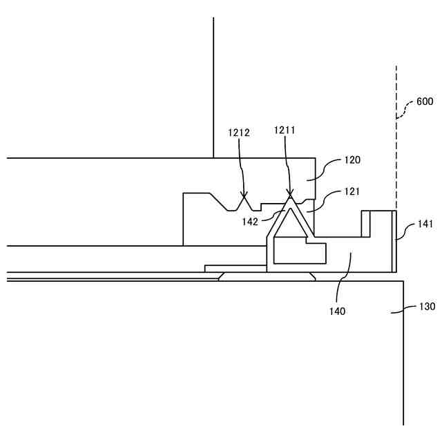
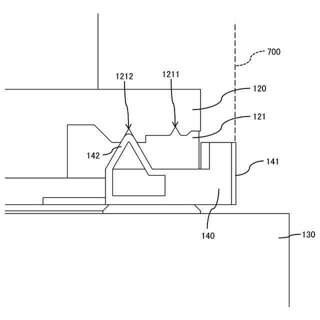
本発明の実施形態に係る撮像装置を水平方向に設置させた際の外観の一例を示す図である。
本発明の実施形態に係る撮像装置を鉛直方向に設置させた際の外観の一例を示す図である。
本発明の実施形態に係る撮像装置において、カメラ支持ユニットの回転駆動を規制してカメラ支持ユニットの位置を固定するための構成例を示す図である。
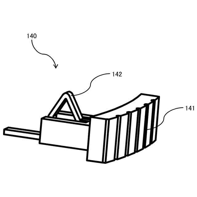
図3に示す固定部材の詳細な構成例を示す図である。
本発明の実施形態に係る撮像装置の制御系の構成例を示す図である。
本発明の実施形態に係る撮像装置において、カメラ支持ユニットの切り欠きの内部構成と、固定部材の回転規制部との係合状態の第1例を示す図である。
本発明の実施形態に係る撮像装置において、カメラ支持ユニットの切り欠きの内部構成と、固定部材の回転規制部との係合状態の第2例を示す図である。
本発明の実施形態に係る撮像装置において、カメラ支持ユニットの切り欠きに対する固定部材の挿入を検出するマイクロスイッチの一例を示す図である。
本発明の実施形態に係る撮像装置において、電源が投入された際の初期化動作の制御方法における処理手順の一例を示すフローチャートである。
【発明を実施するための形態】
【0010】
以下に、図面を参照しながら、本発明を実施するための形態(実施形態)について説明する。
(【0011】以降は省略されています)
この特許をJ-PlatPat(特許庁公式サイト)で参照する
関連特許
キヤノン株式会社
トナー
20日前
キヤノン株式会社
トナー
15日前
キヤノン株式会社
トナー
15日前
キヤノン株式会社
トナー
15日前
キヤノン株式会社
トナー
2日前
キヤノン株式会社
現像装置
13日前
キヤノン株式会社
記録装置
13日前
キヤノン株式会社
現像容器
13日前
キヤノン株式会社
記録装置
20日前
キヤノン株式会社
撮影装置
13日前
キヤノン株式会社
定着装置
14日前
キヤノン株式会社
測距装置
8日前
キヤノン株式会社
現像容器
13日前
キヤノン株式会社
撮像装置
16日前
キヤノン株式会社
現像装置
6日前
キヤノン株式会社
撮像装置
20日前
キヤノン株式会社
電子機器
22日前
キヤノン株式会社
現像装置
13日前
キヤノン株式会社
現像剤容器
21日前
キヤノン株式会社
半導体装置
22日前
キヤノン株式会社
光学センサ
15日前
キヤノン株式会社
モジュール
15日前
キヤノン株式会社
画像形成装置
21日前
キヤノン株式会社
画像形成装置
20日前
キヤノン株式会社
画像形成装置
20日前
キヤノン株式会社
電子写真装置
6日前
キヤノン株式会社
吐出素子基板
20日前
キヤノン株式会社
画像形成装置
6日前
キヤノン株式会社
情報処理装置
20日前
キヤノン株式会社
画像形成装置
6日前
キヤノン株式会社
画像形成装置
6日前
キヤノン株式会社
画像形成装置
16日前
キヤノン株式会社
画像形成装置
16日前
キヤノン株式会社
画像形成装置
16日前
キヤノン株式会社
画像処理装置
21日前
キヤノン株式会社
画像形成装置
9日前
続きを見る
他の特許を見る