TOP
|
特許
|
意匠
|
商標
特許ウォッチ
Twitter
他の特許を見る
公開番号
2025163794
公報種別
公開特許公報(A)
公開日
2025-10-30
出願番号
2024067317
出願日
2024-04-18
発明の名称
プロジェクター
出願人
セイコーエプソン株式会社
代理人
個人
,
個人
,
個人
主分類
G03B
21/14 20060101AFI20251023BHJP(写真;映画;光波以外の波を使用する類似技術;電子写真;ホログラフイ)
要約
【課題】スペックルノイズを低減しつつ明るい画像を投射できる、プロジェクターを提供する。
【解決手段】本発明のプロジェクターは、第1レーザー光を射出する第1光源と、集光素子と、集光された第1レーザー光が入射する拡散部材と、拡散部材から射出された拡散光を平行化するコリメート素子と、コリメート素子から入射する拡散光の中心光束の少なくとも一部を周辺側に振り分けて光強度分布を変更する光強度分布変更手段と、光強度分布変更手段から射出された光が入射するマルチレンズアレイと、マルチレンズアレイから入射する光を画像情報に応じて変調する光変調装置と、光を光変調装置に重畳する重畳レンズと、光変調装置により変調された光を投射する投射光学装置と、を備え、光強度分布変更手段は、光強度分布の変更前の拡散光の光強度分布変更手段に対する入射角度と、光強度分布の変更後の拡散光の光強度分布変更手段に対する射出角度とが等しい。
【選択図】図4
特許請求の範囲
【請求項1】
第1レーザー光を射出する第1光源と、
前記第1レーザー光を集光する集光素子と、
前記集光素子により集光された前記第1レーザー光が入射する拡散部材と、
前記拡散部材から射出された拡散光を平行化するコリメート素子と、
前記コリメート素子から入射する前記拡散光の中心光束の少なくとも一部を周辺側に振り分けて前記拡散光の光強度分布を変更する光強度分布変更手段と、
前記光強度分布変更手段から射出された光が入射するマルチレンズアレイと、
前記マルチレンズアレイから入射する光を画像情報に応じて変調する光変調装置と、
前記マルチレンズアレイから射出する光を前記光変調装置に重畳する重畳レンズと、
前記光変調装置により変調された光を投射する投射光学装置と、
を備え、
前記光強度分布変更手段は、光強度分布の変更前の前記拡散光の前記光強度分布変更手段に対する入射角度と、光強度分布の変更後の前記拡散光の前記光強度分布変更手段に対する射出角度とが等しい、
プロジェクター。
続きを表示(約 1,000 文字)
【請求項2】
前記光強度分布変更手段は、
光軸に対して対称に配置され、入射した光の少なくとも一部の光束を前記光軸から離間する方向に移動させる光束移動部と、
前記光束移動部に対して前記光軸と反対側に配置され、前記光束移動部から入射する光を前記光軸に沿う方向に反射する反射部と、
を有する、
請求項1に記載のプロジェクター。
【請求項3】
前記光束移動部は、前記光軸に直交する方向に配置された複数の光学素子を有し、
前記反射部は、前記光軸に直交する方向において、前記光束移動部の両端を挟む一対のミラーを有する、
請求項2に記載のプロジェクター。
【請求項4】
前記複数の光学素子の各々は、入射する光の一部を透過し、入射する光の他の一部を反射する、部分透過ミラーである、
請求項3に記載のプロジェクター。
【請求項5】
前記光強度分布変更手段は、前記複数の光学素子および前記一対のミラーを保持する複数のプリズムをさらに有する、
請求項3または請求項4に記載のプロジェクター。
【請求項6】
前記複数の光学素子の各々がミラーで構成されており、
前記光軸に直交する方向において隣り合う2つの光学素子の少なくともいずれかは、前記光軸に沿う方向において互いが重ならないように配置されている、
請求項3または請求項4に記載のプロジェクター。
【請求項7】
前記マルチレンズアレイの光射出面と前記投射光学装置の射出瞳とは、光学的に共役である、
請求項1から請求項4のうちのいずれか一項に記載のプロジェクター。
【請求項8】
前記第1レーザー光は赤色光である、
請求項1から請求項4のうちのいずれか一項に記載のプロジェクター。
【請求項9】
前記第1レーザー光と異なる波長帯の第2レーザー光を射出する第2光源と、
前記第1レーザー光と前記第2レーザー光とを合成した合成光を射出する光合成部材と、をさらに備え、
前記光合成部材から射出された前記合成光は、前記集光素子により集光され前記拡散部材に入射し、
前記拡散部材から射出された前記合成光の前記拡散光は、前記コリメート素子を経由して前記光強度分布変更手段に入射する、
請求項1から請求項4のうちのいずれか一項に記載のプロジェクター。
発明の詳細な説明
【技術分野】
【0001】
本発明は、プロジェクターに関する。
続きを表示(約 1,800 文字)
【背景技術】
【0002】
近年、映像光の高輝度化を図るために、プロジェクターの光源としてレーザー光源が用いられている。レーザー光源を用いたプロジェクターでは、レーザー光の干渉によって生じるスペックルノイズと呼ばれる斑点模様がスクリーン上に視認されるため、スペックルノイズに起因する表示品質の低下を抑えるための対策が採られている。
例えば、特許文献1に開示されたプロジェクターでは、光軸および光軸近傍を周辺部よりも拡散させる拡散素子にレーザー光を入射させることで映像光を投射する投射光学系の射出瞳面における光強度の空間分布を均一化することでスペックルノイズを低減している。
【先行技術文献】
【特許文献】
【0003】
特開2011-180281号公報
【発明の概要】
【発明が解決しようとする課題】
【0004】
しかしながら、特許文献1に開示のプロジェクターでは、ロッドインテグレーターから射出したレーザー光が拡散素子を透過して拡散させるため、ロッドインテグレーターから射出された光と光変調装置との間の結像関係に乱れが生じ、光変調装置を効率良く照明できないという課題があった。
【課題を解決するための手段】
【0005】
上記の課題を解決するために、本発明の一つの態様のプロジェクターは、第1レーザー光を射出する第1光源と、前記第1レーザー光を集光する集光素子と、前記集光素子により集光された前記第1レーザー光が入射する拡散部材と、前記拡散部材から射出された拡散光を平行化するコリメート素子と、前記コリメート素子から入射する前記拡散光の中心光束の少なくとも一部を周辺側に振り分けて前記拡散光の光強度分布を変更する光強度分布変更手段と、前記光強度分布変更手段から射出された光が入射するマルチレンズアレイと、前記マルチレンズアレイから入射する光を画像情報に応じて変調する光変調装置と、前記マルチレンズアレイから射出する光を前記光変調装置に重畳する重畳レンズと、前記光変調装置により変調された光を投射する投射光学装置と、を備え、前記光強度分布変更手段は、光強度分布の変更前の前記拡散光の前記光強度分布変更手段に対する入射角度と、光強度分布の変更後の前記拡散光の前記光強度分布変更手段に対する射出角度とが等しい。
【図面の簡単な説明】
【0006】
第1実施形態のプロジェクター1の構成を示す概略図である。
照明装置の概略構成図である。
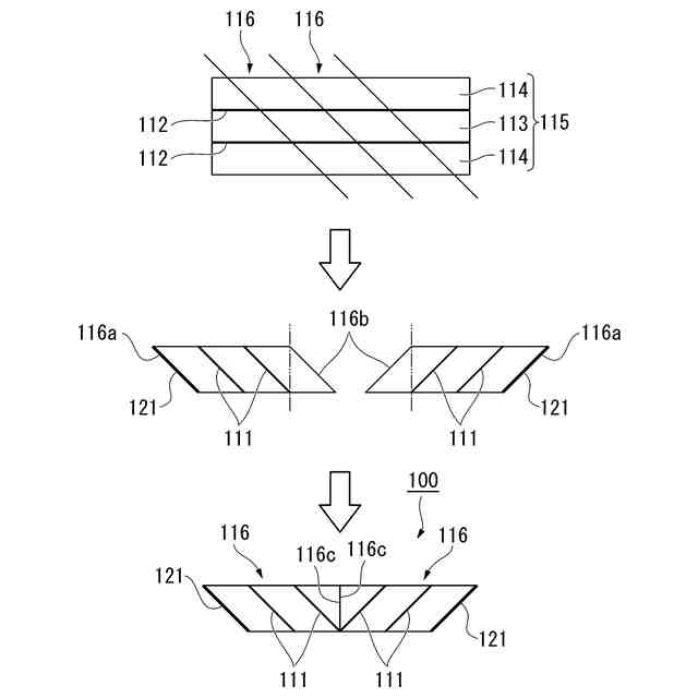
光強度分布変更手段の製造方法の一例を示す図である。
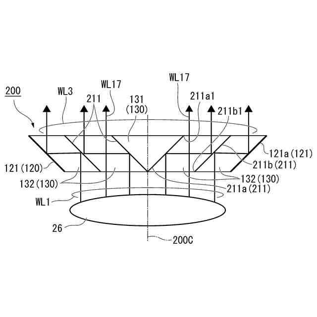
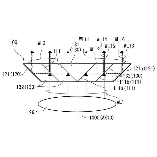
光強度分布変更手段の要部構成、および、その作用を示した図である。
第2実施形態の光強度分布変更手段の要部構成を示した図である。
【発明を実施するための形態】
【0007】
以下、本発明の実施形態について、図面を参照して説明する。各図面では、各構成要素を見やすくするため、構成要素によって寸法の縮尺が変更されている場合がある。
【0008】
[第1実施形態]
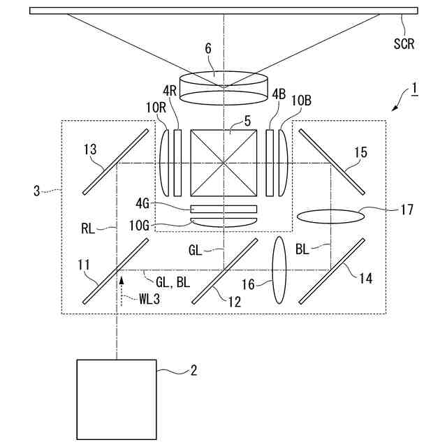
本発明の第1実施形態のプロジェクターについて説明する。図1は、本実施形態のプロジェクター1の構成を示す概略図である。図1に示すように本実施形態のプロジェクター1は、スクリーンSCR上に映像を表示する投射型画像表示装置である。プロジェクター1は、照明装置2と、色分離光学系3と、光変調装置4R,4G,4Bと、色合成光学系5と、投射光学装置6と、を備える。プロジェクター1は、3つの光変調装置を有する3板式のプロジェクターである。
【0009】
照明装置2は、色分離光学系3に向けて、照明光WL3を射出する。照明光WL3は、赤色照明光RL、緑色照明光GLおよび青色照明光BLを含む。照明装置2の構成については、後述する。
【0010】
色分離光学系3は、照明光WL3を赤色照明光RLと、緑色照明光GLと、青色照明光BLと、に分離する。色分離光学系3は、例えば、第1ダイクロイックミラー11と、第2ダイクロイックミラー12と、第1反射ミラー13と、第2反射ミラー14と、第3反射ミラー15と、第1リレーレンズ16と、第2リレーレンズ17と、を備える。
(【0011】以降は省略されています)
この特許をJ-PlatPat(特許庁公式サイト)で参照する
関連特許
セイコーエプソン株式会社
記録装置
11日前
セイコーエプソン株式会社
電子時計
3日前
セイコーエプソン株式会社
半導体装置
3日前
セイコーエプソン株式会社
文字板及び時計
3日前
セイコーエプソン株式会社
ダイオード回路
3日前
セイコーエプソン株式会社
シート製造装置
9日前
セイコーエプソン株式会社
媒体搬送装置及び記録装置
11日前
セイコーエプソン株式会社
補正方法、情報処理装置およびプログラム
11日前
セイコーエプソン株式会社
補正方法、プロジェクターおよびプログラム
11日前
セイコーエプソン株式会社
シート製造装置、及び、シート製造装置の制御方法
11日前
セイコーエプソン株式会社
振動デバイス
3日前
セイコーエプソン株式会社
画像読み取り装置
3日前
セイコーエプソン株式会社
波長変換装置、波長変換装置の製造方法、光源装置およびプロジェクター
11日前
セイコーエプソン株式会社
電気光学装置および電子機器
9日前
個人
表示装置
1か月前
個人
雨用レンズカバー
1か月前
株式会社シグマ
絞りユニット
2か月前
キヤノン株式会社
撮像装置
1か月前
日本精機株式会社
車両用投射装置
1か月前
平和精機工業株式会社
雲台
2か月前
キヤノン株式会社
撮像装置
2か月前
キヤノン株式会社
撮像装置
2か月前
キヤノン株式会社
撮像装置
1か月前
キヤノン株式会社
撮像装置
1か月前
キヤノン株式会社
撮像装置
1か月前
株式会社リコー
画像形成装置
18日前
株式会社リコー
画像形成装置
24日前
株式会社リコー
画像形成装置
9日前
株式会社リコー
画像形成装置
24日前
株式会社リコー
画像形成装置
1か月前
株式会社リコー
画像形成装置
2か月前
株式会社リコー
画像形成装置
2か月前
株式会社リコー
画像形成装置
27日前
キヤノン株式会社
トナー
1か月前
キヤノン株式会社
トナー
1か月前
キヤノン株式会社
画像形成装置
2か月前
続きを見る
他の特許を見る