TOP
|
特許
|
意匠
|
商標
特許ウォッチ
Twitter
他の特許を見る
10個以上の画像は省略されています。
公開番号
2025168768
公報種別
公開特許公報(A)
公開日
2025-11-12
出願番号
2024073505
出願日
2024-04-30
発明の名称
媒体搬送装置及び記録装置
出願人
セイコーエプソン株式会社
代理人
個人
,
個人
,
個人
主分類
B65H
23/16 20060101AFI20251105BHJP(運搬;包装;貯蔵;薄板状または線条材料の取扱い)
要約
【課題】第1経路と第2経路との経路差によって生じる媒体の皺の発生を抑制する。
【解決手段】媒体搬送装置3は、媒体2に搬送方向への送り力を付与する主ローラー14と、主ローラーとの対で媒体を挟持した状態で第1軸15の回りに従動回転し、主ローラーの長手方向に沿って互いに間隔を持って並ぶ複数の副ローラー16とを有する搬送ローラー対10と、媒体2において主ローラーと副ローラーとの間で挟持されて搬送される経路を第1経路17とし、主ローラーに接触するが複数の副ローラーには接触しないで搬送される経路を第2経路18としたとき、第1経路と第2経路との経路差を調整する調整部19を備える。
【選択図】図3
特許請求の範囲
【請求項1】
媒体に搬送方向への送り力を付与する主ローラーと、前記主ローラーとの対で前記媒体を挟持した状態で第1軸の回りに従動回転し、前記主ローラーの長手方向に沿って互いに間隔を持って並ぶ複数の副ローラーと、を有する搬送ローラー対と、
前記媒体において、前記主ローラーと複数の前記副ローラーとの間で挟持されて搬送される経路を第1経路とし、前記主ローラーに接触するが複数の前記副ローラーには接触しないで搬送される経路を第2経路としたとき、前記第1経路と前記第2経路との経路差を調整する調整部と、を備える、
媒体搬送装置。
続きを表示(約 2,000 文字)
【請求項2】
請求項1に記載の媒体搬送装置において、
前記副ローラーの前記第1軸は、前記主ローラーの回転軸に対して、前記搬送方向にずれて配置されている、
ことを特徴とする媒体搬送装置。
【請求項3】
請求項1に記載の媒体搬送装置において、
前記調整部は、前記搬送方向において前記副ローラーの下流の位置に配置され、前記媒体を前記副ローラー側から押圧する押圧部であり、
前記押圧部は、前記長手方向において複数の前記副ローラー同士の間の部分と重なる位置に配置され、前記第2経路の前記媒体を押圧する、
ことを特徴とする媒体搬送装置。
【請求項4】
請求項1に記載の媒体搬送装置において、
前記調整部は、前記搬送方向において前記副ローラーの下流の位置に配置され、前記媒体を前記主ローラー側から吸引する吸引部であり、
前記吸引部は、前記長手方向において複数の前記副ローラー同士の間の部分と重なる位置に配置され、前記第2経路の前記媒体を吸引する、
ことを特徴とする媒体搬送装置。
【請求項5】
請求項1に記載の媒体搬送装置において、
前記調整部は、前記搬送方向において前記副ローラーの下流の位置に配置され、前記媒体を前記主ローラー側から押圧する押圧部であり、
前記押圧部は、前記長手方向において複数の前記副ローラーと重なる位置に配置され、前記第1経路の前記媒体を押圧する、
ことを特徴とする媒体搬送装置。
【請求項6】
請求項1に記載の媒体搬送装置において、
前記調整部は、前記搬送方向において前記副ローラーの下流の位置に配置され、前記媒体を前記副ローラー側から吸引する吸引部であり、
前記吸引部は、前記長手方向において複数の前記副ローラーと重なる位置に配置され、前記第1経路の前記媒体を吸引する、
ことを特徴とする媒体搬送装置。
【請求項7】
請求項1に記載の媒体搬送装置において、
前記搬送方向において前記搬送ローラー対より上流の位置に配置され、ロール状に巻かれた前記媒体を繰り出す繰出し部と、
前記搬送方向において前記搬送ローラー対より下流の位置に配置され、搬送される前記媒体を巻き取る巻取り部と、
前記繰出し部と前記巻取り部との間の位置に配置され、搬送される前記媒体に処理を施す処理部と、を備え、
前記調整部は、前記繰出し部と前記処理部との間の位置に配置される、
ことを特徴とする媒体搬送装置。
【請求項8】
請求項3に記載の媒体搬送装置において、
前記押圧部と対向する領域に配置され、前記媒体を挟んで間接的に前記押圧部と接触可能な支持部と、
前記搬送方向において前記押圧部の下流の位置に配置され、搬送される前記媒体をガイドするガイド部と、を備え、
前記搬送方向及び前記長手方向と交差する交差方向において、前記押圧部が前記支持部に対して前記媒体を押圧する位置は、前記ガイド部が前記媒体と接触する第1位置と、前記主ローラーと前記副ローラーで前記媒体を挟持する第2位置との間である、
ことを特徴とする媒体搬送装置。
【請求項9】
請求項5に記載の媒体搬送装置において、
前記押圧部と対向する領域に配置され、前記媒体を挟んで間接的に前記押圧部と接触可能な支持部と、
前記搬送方向において前記押圧部の下流の位置に配置され、搬送される前記媒体をガイドするガイド部と、を備え、
前記搬送方向及び前記長手方向と交差する交差方向において、前記押圧部が前記支持部に対して前記媒体を押圧する位置は、前記ガイド部が前記媒体と接触する第1位置と、前記主ローラーの前記交差方向を高さ方向とした場合における頂点位置とを結ぶ直線上にある、
ことを特徴とする媒体搬送装置。
【請求項10】
請求項4に記載の媒体搬送装置において、
前記吸引部と対向する領域に配置され、搬送される前記媒体を支持する支持部と、
前記支持部の前記第2経路と対向する位置に設けられる複数の開口と、
前記搬送方向において前記吸引部の下流の位置に配置され、搬送される前記媒体をガイドするガイド部と、を備え、
前記吸引部は、前記開口を介して前記第2経路の前記媒体を吸引し、
前記搬送方向及び前記長手方向と交差する交差方向において、前記支持部が前記媒体を支持する位置は、前記ガイド部が前記媒体と接触する第1位置と、前記主ローラーと前記副ローラーで前記媒体を挟持する第2位置との間である、
ことを特徴とする媒体搬送装置。
(【請求項11】以降は省略されています)
発明の詳細な説明
【技術分野】
【0001】
本発明は、媒体搬送装置及び記録装置に関する。
続きを表示(約 2,400 文字)
【背景技術】
【0002】
この種の装置の一例として、特許文献1に記載の記録装置が挙げられる。特許文献1には、次のことが記載されている。
搬送ローラー対及び給紙ローラー対によって、カット用紙CPまたはロール紙RPを搬送する搬送部が構成されている。
【先行技術文献】
【特許文献】
【0003】
特開2016-182716号公報
【発明の概要】
【発明が解決しようとする課題】
【0004】
前記搬送ローラー対や前記給紙ローラー対は、一対の幅方向に伸びる1本通しのローラー同士であることが媒体を搬送する上では好ましい。しかし、高コストになることや、一方のローラーに対する他方のローラーの平行度を出すことが容易ではないため、他方のローラーが複数のローラーによって構成されることが通常である。
ただし、このような構成では、両ローラーによるニップ部分と非ニップ部分とで前記媒体に対する搬送力に差が出てしまう。具体的に、従動ローラー間はニップされていないため、前記媒体における非ニップ経路は、ニップされているニップ経路よりも浮き上がり、浮き上がった部分と浮き上がらない部分との差が生じて皺が発生し易くなる。
特に、前記媒体が布帛のように糸を織ったり編んだりして形成される立体的な組織構造を有する場合には、前記従動ローラーのニップ有とニップ無による経路の違い、即ち前記ニップ経路と前記非ニップ経路の存在によって伸縮や変形が生じやすく、皺が発生しやすい。このような皺発生の点で改善の余地がある。
【課題を解決するための手段】
【0005】
上記課題を解決するため、本発明に係る媒体搬送装置は、媒体に搬送方向への送り力を付与する主ローラーと、前記主ローラーとの対で前記媒体を挟持した状態で第1軸の回りに従動回転し、前記主ローラーの長手方向に沿って互いに間隔を持って並ぶ複数の副ローラーと、を有する搬送ローラー対と、前記媒体において、前記主ローラーと複数の前記副ローラーとの間で挟持されて搬送される経路を第1経路とし、前記主ローラーに接触するが複数の前記副ローラーには接触しないで搬送される経路を第2経路としたとき、前記第1経路と前記第2経路との経路差を調整する調整部と、を備える。
【0006】
また、本発明に係る記録装置は、媒体に記録する記録部と、前記媒体を記録部に向けて搬送する媒体搬送装置と、を備え、前記媒体搬送装置は、媒体に搬送方向への送り力を付与する主ローラーと、前記主ローラーとの対で前記媒体を挟持した状態で第1軸の回りに従動回転し、前記主ローラーの長手方向に沿って互いに間隔を持って並ぶ複数の副ローラーと、を有する搬送ローラー対と、前記媒体において、前記主ローラーと複数の前記副ローラーとの間で挟持されて搬送される経路を第1経路とし、前記主ローラーに接触するが複数の前記副ローラーには接触しないで搬送される経路を第2経路としたとき、前記第1経路と前記第2経路との経路差を調整する調整部と、を備える。
【図面の簡単な説明】
【0007】
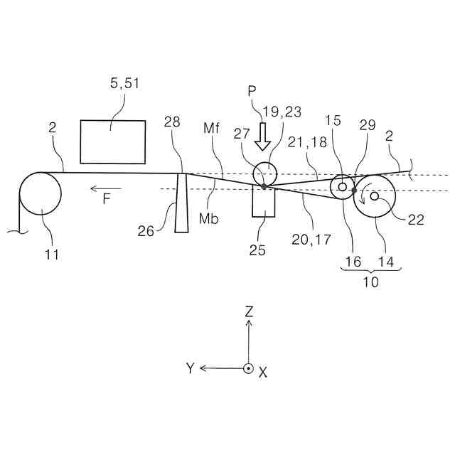
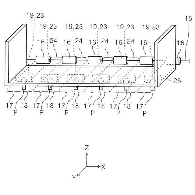
実施形態1に係る記録装置の斜視図。
実施形態1の記録装置の概略側断面図。
実施形態1の媒体搬送装置の要部側面の模式図。
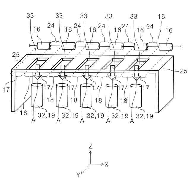
実施形態1の媒体搬送装置の要部斜視図。
実施形態3の媒体搬送装置の要部側面の模式図。
実施形態3の媒体搬送装置の要部斜視図。
実施形態2の媒体搬送装置の要部側面の模式図。
実施形態2の媒体搬送装置の要部斜視図。
実施形態4の媒体搬送装置の要部側面の模式図。
実施形態4の媒体搬送装置の要部斜視図。
実施形態5の媒体搬送装置の要部斜視図。
実施形態5の媒体搬送装置の要部側面の模式図。
【発明を実施するための形態】
【0008】
以下、本発明について先ず概略的に説明する。
本発明の第1の態様に係る媒体搬送装置は、媒体に搬送方向への送り力を付与する主ローラーと、前記主ローラーとの対で前記媒体を挟持した状態で第1軸の回りに従動回転し、前記主ローラーの長手方向に沿って互いに間隔を持って並ぶ複数の副ローラーと、を有する搬送ローラー対と、前記媒体において、前記主ローラーと複数の前記副ローラーとの間で挟持されて搬送される経路を第1経路とし、前記主ローラーに接触するが複数の前記副ローラーには接触しないで搬送される経路を第2経路としたとき、前記第1経路と前記第2経路との経路差を調整する調整部と、を備える。
ここで「前記第1経路と前記第2経路との経路差を調整する調整部と」における「経路差を調整する」とは、前記媒体における前記第1経路に位置する部分と前記第2経路に位置する部分に対して、前記搬送方向及び前記長手方向と交差する交差方向において相対的に近づける方向の力を作用することを意味する。
【0009】
本態様によれば、前記主ローラーと複数の前記副ローラーとの間で挟持されて搬送される経路である前記第1経路と、前記主ローラーに接触するが複数の前記副ローラーには接触しないで搬送される経路である前記第2経路との経路差を調整する調整部を備える。この調整部によって、前記第1経路と前記第2経路とが存在することによって生じやすい前記媒体の皺の発生を抑制することができる。
【0010】
本発明の第2の態様に係る媒体搬送装置は、第1の態様に従属する態様であって、前記副ローラーの前記第1軸は、前記主ローラーの回転軸に対して、前記搬送方向にずれて配置されていることを特徴とする。
(【0011】以降は省略されています)
この特許をJ-PlatPat(特許庁公式サイト)で参照する
関連特許
セイコーエプソン株式会社
記録装置
11日前
セイコーエプソン株式会社
電子時計
3日前
セイコーエプソン株式会社
記録装置
18日前
セイコーエプソン株式会社
電子時計
16日前
セイコーエプソン株式会社
半導体装置
3日前
セイコーエプソン株式会社
振動デバイス
18日前
セイコーエプソン株式会社
シート製造装置
18日前
セイコーエプソン株式会社
プロジェクター
16日前
セイコーエプソン株式会社
プロジェクター
16日前
セイコーエプソン株式会社
三次元造形装置
17日前
セイコーエプソン株式会社
トルク伝達機構
16日前
セイコーエプソン株式会社
シート製造装置
18日前
セイコーエプソン株式会社
シート製造装置
18日前
セイコーエプソン株式会社
シート製造装置
9日前
セイコーエプソン株式会社
プロジェクター
24日前
セイコーエプソン株式会社
ダイオード回路
3日前
セイコーエプソン株式会社
文字板及び時計
3日前
セイコーエプソン株式会社
表示装置の制御方法
16日前
セイコーエプソン株式会社
三次元造形物の製造方法
16日前
セイコーエプソン株式会社
慣性センサーモジュール
18日前
セイコーエプソン株式会社
媒体搬送装置及び記録装置
16日前
セイコーエプソン株式会社
乾燥装置及び印刷システム
16日前
セイコーエプソン株式会社
媒体搬送装置及び記録装置
11日前
セイコーエプソン株式会社
振動素子、振動子、及び発振器
25日前
セイコーエプソン株式会社
液体噴射ヘッド及び液体噴射装置
16日前
セイコーエプソン株式会社
液体噴射ヘッド及び液体噴射装置
16日前
セイコーエプソン株式会社
捺染用インクジェットインク組成物
19日前
セイコーエプソン株式会社
液体吐出装置、液体吐出装置の制御方法
19日前
セイコーエプソン株式会社
媒体搬送装置、画像読取装置、印刷装置
19日前
セイコーエプソン株式会社
バンド、時計、およびバンド長さ調整機構
16日前
セイコーエプソン株式会社
投写方法、プロジェクター及びプログラム
16日前
セイコーエプソン株式会社
管理システム、情報処理装置及び管理方法
24日前
セイコーエプソン株式会社
補正方法、情報処理装置およびプログラム
11日前
セイコーエプソン株式会社
補正方法、プロジェクターおよびプログラム
11日前
セイコーエプソン株式会社
投射位置の判定方法および投射位置の判定装置
16日前
セイコーエプソン株式会社
記録装置、積載装置、及び記録装置の制御方法
17日前
続きを見る
他の特許を見る