TOP
|
特許
|
意匠
|
商標
特許ウォッチ
Twitter
他の特許を見る
公開番号
2025167149
公報種別
公開特許公報(A)
公開日
2025-11-07
出願番号
2024071500
出願日
2024-04-25
発明の名称
乾燥装置及び印刷システム
出願人
セイコーエプソン株式会社
代理人
個人
,
個人
主分類
B41J
2/01 20060101AFI20251030BHJP(印刷;線画機;タイプライター;スタンプ)
要約
【課題】媒体を効果的に乾燥できる乾燥装置及び印刷システムを提供する。
【解決手段】乾燥装置は、搬送される媒体99が進入する乾燥炉と、乾燥炉内において媒体を加熱する加熱部48と、を備え、加熱部は、上流加熱機構55と、媒体の搬送方向D1において上流加熱機構よりも下流に位置する下流加熱機構56と、搬送方向において上流加熱機構と下流加熱機構との間に位置する中間加熱機構57と、を有し、上流加熱機構は、媒体との距離が所定距離となるように位置する上流加熱部材を有し、下流加熱機構は、媒体との距離が所定距離よりも大きくなるように位置する下流加熱部材を有し、中間加熱機構は、媒体との距離が所定距離よりも大きくなるように位置する中間加熱部材を有し、上流加熱部材の設定温度は、中間加熱部材の設定温度よりも大きく、下流加熱部材の設定温度は、中間加熱部材の設定温度よりも大きい。
【選択図】図2
特許請求の範囲
【請求項1】
搬送される媒体が進入する乾燥炉と、
前記乾燥炉内において媒体を加熱する加熱部と、を備え、
前記加熱部は、
上流加熱機構と、
媒体の搬送方向において前記上流加熱機構よりも下流に位置する下流加熱機構と、
前記搬送方向において前記上流加熱機構と前記下流加熱機構との間に位置する中間加熱機構と、を有し、
前記上流加熱機構は、媒体との距離が所定距離となるように位置する上流加熱部材を有し、
前記下流加熱機構は、媒体との距離が前記所定距離よりも大きくなるように位置する下流加熱部材を有し、
前記中間加熱機構は、媒体との距離が前記所定距離よりも大きくなるように位置する中間加熱部材を有し、
前記上流加熱部材の設定温度は、前記中間加熱部材の設定温度よりも大きく、
前記下流加熱部材の設定温度は、前記中間加熱部材の設定温度よりも大きいことを特徴とする乾燥装置。
続きを表示(約 1,400 文字)
【請求項2】
前記上流加熱部材の設定温度は、前記下流加熱部材の設定温度よりも大きいことを特徴とする請求項1に記載の乾燥装置。
【請求項3】
前記上流加熱部材、前記下流加熱部材及び前記中間加熱部材のそれぞれは、赤外線ヒーターであることを特徴とする請求項1又は請求項2に記載の乾燥装置。
【請求項4】
前記加熱部は、
前記上流加熱部材から生じる赤外線を媒体に向けて反射する上流反射板と、
前記下流加熱部材から生じる赤外線を媒体に向けて反射する下流反射板と、
前記中間加熱部材から生じる赤外線を媒体に向けて反射する中間反射板と、を有し、
前記下流反射板は、前記下流反射板の光軸が媒体に対して垂直となるように位置し、
前記中間反射板は、前記中間反射板の光軸が媒体に対して垂直となるように位置し、
前記上流反射板は、前記上流反射板の光軸が前記搬送方向の下流に向かうように位置することを特徴とする請求項3に記載の乾燥装置。
【請求項5】
前記上流加熱部材、前記下流加熱部材及び前記中間加熱部材のそれぞれは、
前記搬送方向と異なる方向である幅方向に延び、
前記幅方向において、中央部分の温度よりも端部分の温度が大きくなるように構成されることを特徴とする請求項3に記載の乾燥装置。
【請求項6】
前記上流加熱部材、前記下流加熱部材及び前記中間加熱部材のそれぞれは、
前記搬送方向と異なる方向である幅方向に延び、
前記幅方向から見た場合に、底面を有する略三角形状であり、
前記底面が媒体と対向するように位置することを特徴とする請求項3に記載の乾燥装置。
【請求項7】
前記上流加熱部材は、前記上流加熱部材の前記底面が前記搬送方向の下流に向くように位置することを特徴とする請求項6に記載の乾燥装置。
【請求項8】
前記中間加熱部材の容量は、前記上流加熱部材の容量よりも小さい且つ前記下流加熱部材の容量よりも小さいことを特徴とする請求項3に記載の乾燥装置。
【請求項9】
媒体に画像を印刷する印刷装置と、
印刷された媒体を乾燥させる乾燥装置と、を備え、
前記印刷装置は、
筐体と、
前記筐体内において媒体に画像を印刷する印刷部と、を備え、
前記乾燥装置は、
前記印刷装置から搬送される媒体が進入する乾燥炉と、
前記乾燥炉内において媒体を加熱する加熱部と、を備え、
前記加熱部は、
上流加熱機構と、
媒体の搬送方向において前記上流加熱機構よりも下流に位置する下流加熱機構と、
前記搬送方向において前記上流加熱機構と前記下流加熱機構との間に位置する中間加熱機構と、を有し、
前記上流加熱機構は、媒体との距離が所定距離となるように位置する上流加熱部材を有し、
前記下流加熱機構は、媒体との距離が前記所定距離よりも大きくなるように位置する下流加熱部材を有し、
前記中間加熱機構は、媒体との距離が前記所定距離よりも大きくなるように位置する中間加熱部材を有し、
前記上流加熱部材の設定温度は、前記中間加熱部材の設定温度よりも大きく、
前記下流加熱部材の設定温度は、前記中間加熱部材の設定温度よりも大きいことを特徴とする印刷システム。
発明の詳細な説明
【技術分野】
【0001】
本発明は、乾燥装置及び印刷システムに関する。
続きを表示(約 2,200 文字)
【背景技術】
【0002】
特許文献1には、加熱部によって媒体を加熱する乾燥装置が記載されている。乾燥装置は、媒体を加熱することによって、媒体を乾燥させる。
【先行技術文献】
【特許文献】
【0003】
特開2020-2473号公報
【発明の概要】
【発明が解決しようとする課題】
【0004】
こうした乾燥装置においては、媒体を効果的に乾燥させるために、媒体の温度を素早く上昇させることが求められる。加熱部の設定温度が大きいと、媒体の温度が素早く上昇する。その一方で、加熱部の設定温度が大きいと、媒体が過度に加熱されるおそれがある。この場合、媒体が劣化するおそれがある。
【課題を解決するための手段】
【0005】
上記課題を解決する乾燥装置は、搬送される媒体が進入する乾燥炉と、前記乾燥炉内において媒体を加熱する加熱部と、を備え、前記加熱部は、上流加熱機構と、媒体の搬送方向において前記上流加熱機構よりも下流に位置する下流加熱機構と、前記搬送方向において前記上流加熱機構と前記下流加熱機構との間に位置する中間加熱機構と、を有し、前記上流加熱機構は、媒体との距離が所定距離となるように位置する上流加熱部材を有し、前記下流加熱機構は、媒体との距離が前記所定距離よりも大きくなるように位置する下流加熱部材を有し、前記中間加熱機構は、媒体との距離が前記所定距離よりも大きくなるように位置する中間加熱部材を有し、前記上流加熱部材の設定温度は、前記中間加熱部材の設定温度よりも大きく、前記下流加熱部材の設定温度は、前記中間加熱部材の設定温度よりも大きい。
【0006】
上記課題を解決する印刷システムは、媒体に画像を印刷する印刷装置と、印刷された媒体を乾燥させる乾燥装置と、を備え、前記印刷装置は、筐体と、前記筐体内において媒体に画像を印刷する印刷部と、を備え、前記乾燥装置は、前記印刷装置から搬送される媒体が進入する乾燥炉と、前記乾燥炉内において媒体を加熱する加熱部と、を備え、前記加熱部は、上流加熱機構と、媒体の搬送方向において前記上流加熱機構よりも下流に位置する下流加熱機構と、前記搬送方向において前記上流加熱機構と前記下流加熱機構との間に位置する中間加熱機構と、を有し、前記上流加熱機構は、媒体との距離が所定距離となるように位置する上流加熱部材を有し、前記下流加熱機構は、媒体との距離が前記所定距離よりも大きくなるように位置する下流加熱部材を有し、前記中間加熱機構は、媒体との距離が前記所定距離よりも大きくなるように位置する中間加熱部材を有し、前記上流加熱部材の設定温度は、前記中間加熱部材の設定温度よりも大きく、前記下流加熱部材の設定温度は、前記中間加熱部材の設定温度よりも大きい。
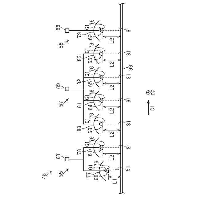
【図面の簡単な説明】
【0007】
図1は、乾燥装置を備える印刷システムの一実施例を示す側面図である。
図2は、加熱部の側面図である。
図3は、加熱部材の断面図である。
図4は、媒体の温度変化を示すグラフである。
図5は、図4とは違う条件で媒体を加熱したときの媒体の温度変化を示すグラフである。
【発明を実施するための形態】
【0008】
以下、乾燥装置を備える印刷システムの一実施例について図を参照しながら説明する。
<印刷システム>
図1に示すように、印刷システム11は、印刷装置12と、乾燥装置13とを備える。印刷装置12は、媒体99に画像を印刷するように構成される。印刷装置12は、例えば、用紙、布帛などの媒体99に液体の一例であるインクを吐出することによって、文字、写真などの画像を印刷するインクジェット式プリンターである。乾燥装置13は、印刷された媒体99を乾燥させるように構成される。詳しくは、乾燥装置13は、媒体99を加熱することによって媒体99を乾燥させる。印刷システム11は、印刷装置12から乾燥装置13にかけて延びる長尺の媒体99に印刷及び乾燥を施す。印刷装置12及び乾燥装置13は、互いに信号を送信し合うことによって、連携する。
【0009】
印刷装置12及び乾燥装置13は、搬送方向D1に並ぶ。搬送方向D1は、印刷装置12から乾燥装置13に媒体99が搬送される方向である。一例では、印刷装置12及び乾燥装置13は、搬送方向D1に間隔をあけて並ぶ。これは、印刷装置12及び乾燥装置13の間にユーザーが立ち入ることがあるためである。
【0010】
印刷システム11は、入力部14を備える。入力部14は、印刷システム11に情報を入力するためのインターフェースである。ユーザーは、入力部14を操作することによって、印刷システム11を操作する。入力部14は、例えば、タッチパネルである。入力部14は、ボタン、レバー、スイッチなどを含んでもよい。入力部14は、印刷装置12に取り付けられてもよいし、乾燥装置13に取り付けられてもよい。入力部14は、印刷装置12に備えられてもよいし、乾燥装置13に備えられてもよい。入力部14は、印刷装置12及び乾燥装置13のそれぞれに備えられてもよい。
(【0011】以降は省略されています)
この特許をJ-PlatPat(特許庁公式サイト)で参照する
関連特許
セイコーエプソン株式会社
電子時計
1日前
セイコーエプソン株式会社
プロジェクター
1日前
セイコーエプソン株式会社
プロジェクター
1日前
セイコーエプソン株式会社
トルク伝達機構
1日前
セイコーエプソン株式会社
表示装置の制御方法
1日前
セイコーエプソン株式会社
三次元造形物の製造方法
1日前
セイコーエプソン株式会社
媒体搬送装置及び記録装置
1日前
セイコーエプソン株式会社
乾燥装置及び印刷システム
1日前
セイコーエプソン株式会社
液体噴射ヘッド及び液体噴射装置
1日前
セイコーエプソン株式会社
液体噴射ヘッド及び液体噴射装置
1日前
セイコーエプソン株式会社
投写方法、プロジェクター及びプログラム
1日前
セイコーエプソン株式会社
バンド、時計、およびバンド長さ調整機構
1日前
セイコーエプソン株式会社
投射位置の判定方法および投射位置の判定装置
1日前
セイコーエプソン株式会社
流量調節装置、三次元造形装置および射出成形装置
1日前
セイコーエプソン株式会社
表示制御方法、表示制御プログラム、及びプロジェクター
1日前
セイコーエプソン株式会社
ベイパーチャンバー、冷却装置、電子機器、波長変換装置及びプロジェクター
2日前
国立大学法人東北大学
弾性表面波デバイス
1日前
個人
箔熱転写装置
1か月前
シヤチハタ株式会社
印判
5か月前
東レ株式会社
凸版印刷版原版
11か月前
三菱製紙株式会社
感熱記録材料
11か月前
シヤチハタ株式会社
反転式印判
10か月前
三光株式会社
感熱記録材料
7か月前
キヤノン株式会社
記録装置
1か月前
独立行政法人 国立印刷局
印刷物
8か月前
キヤノン株式会社
電子機器
1日前
株式会社リコー
液体吐出装置
5か月前
株式会社リコー
液体吐出装置
5か月前
独立行政法人 国立印刷局
貼付装置
2か月前
独立行政法人 国立印刷局
貼付機構
2か月前
株式会社リコー
液体吐出装置
6か月前
株式会社リコー
液体吐出装置
2か月前
株式会社リコー
液体吐出装置
9か月前
株式会社リコー
液体吐出装置
8か月前
日本製紙株式会社
感熱記録体
8か月前
株式会社リコー
画像形成装置
1か月前
続きを見る
他の特許を見る