TOP
|
特許
|
意匠
|
商標
特許ウォッチ
Twitter
他の特許を見る
公開番号
2025167001
公報種別
公開特許公報(A)
公開日
2025-11-07
出願番号
2024071245
出願日
2024-04-25
発明の名称
表示制御方法、表示制御プログラム、及びプロジェクター
出願人
セイコーエプソン株式会社
代理人
個人
,
個人
,
個人
主分類
H04N
5/74 20060101AFI20251030BHJP(電気通信技術)
要約
【課題】カメラによって正常に撮像されない領域である第1領域を表示する。
【解決手段】表示制御方法は、プロジェクター100に第1パターン画像PT1を、スクリーンSCに投射して表示させることと、カメラ160に第1パターン画像PT1を撮像させることによって、撮像画像PDを取得することと、撮像画像PDに基づいて、第1パターン画像PT1のうち正常に検出されない領域である第1領域AR1を特定することと、第1領域AR1を、第1パターン画像PT1のうち第1領域AR1以外の領域である第2領域AR2と識別できるように、第1パターン画像PT1が処理された第2パターン画像PT2を、プロジェクター100に表示させることと、を含む。
【選択図】図5
特許請求の範囲
【請求項1】
プロジェクターに第1パターン画像を、投射面に投射して表示させることと、
カメラに前記第1パターン画像を撮像させることによって、撮像画像を取得することと、
前記撮像画像において、前記第1パターン画像のうち正常に検出されない領域である第1領域を特定することと、
前記第1領域を、前記第1パターン画像のうち前記第1領域以外の領域である第2領域と識別できるように、前記第1パターン画像が処理された第2パターン画像を、前記プロジェクターを含む表示装置に表示させることと、
を含む、表示制御方法。
続きを表示(約 1,200 文字)
【請求項2】
前記第2パターン画像を前記表示装置に表示させることは、
前記第1領域における前記第2パターン画像の部分を、第1色で前記表示装置に表示させ、
前記第2領域における前記第2パターン画像の部分を、前記第1色とは異なる第2色で前記表示装置に表示させる、
請求項1に記載の表示制御方法。
【請求項3】
前記第2パターン画像を前記表示装置に表示させることは、
前記第1領域に含まれる前記第2パターン画像を、正常に検出されない原因に応じた表示態様で前記表示装置に表示させる、
請求項1に記載の表示制御方法。
【請求項4】
前記第2パターン画像は、前記第1領域に含まれる前記第1パターン画像の部分と対応する調整点の位置を、ユーザーからの操作に基づいて調整するか否かをユーザーに問い合わせる問い合わせ画像を含み、
前記表示装置に前記問い合わせ画像を含む前記第2パターン画像を表示させることと、
前記第1領域における前記第1パターン画像の部分の位置をユーザーからの操作に基づいて調整することを示す回答を前記表示装置から受け付けた場合に、ユーザーの操作に応じて前記調整点の位置を調整することと、
を含む、請求項1から請求項3のいずれか1項に記載の表示制御方法。
【請求項5】
前記第1領域に含まれる前記第1パターン画像の前記第1パターン画像に対して占める割合が、予め設定された閾値以下である場合に、前記第1領域に含まれる前記第1パターン画像の位置をユーザーからの操作に基づいて調整すること、
を含む、請求項1から請求項3のいずれか1項に記載の表示制御方法。
【請求項6】
プロジェクターに第1パターン画像を投射面に投射して表示させることと、
カメラに前記第1パターン画像を撮像させることによって、撮像画像を取得することと、
前記撮像画像に基づいて、前記第1パターン画像のうち正常に検出されない領域である第1領域を特定することと、
前記第1領域を、前記第1パターン画像のうち前記第1領域以外の領域である第2領域と識別できるように、前記第1パターン画像が処理された第2パターン画像を、前記プロジェクターを含む表示装置に表示させることと、
を含む処理をコンピューターに実行させる、表示制御プログラム。
【請求項7】
第1パターン画像を投射面に投射して表示することと、
カメラに前記第1パターン画像を撮像させることによって、撮像画像を取得することと、
前記撮像画像に基づいて、前記第1パターン画像のうち正常に検出されない領域である第1領域を特定することと、
前記第1領域を、前記第1パターン画像のうち前記第1領域以外の領域である第2領域と識別できるように、前記第1パターン画像が処理された第2パターン画像を、前記投射面に投射して表示することと、
を実行する、プロジェクター。
発明の詳細な説明
【技術分野】
【0001】
本発明は、表示制御方法、表示制御プログラム、及びプロジェクターに関する。
続きを表示(約 1,800 文字)
【背景技術】
【0002】
特許文献1には、プロジェクターに、第1パターン画像を表示させることと、第1パターン画像を、カメラによって撮像した第1撮像画像を取得することと、第1撮像画像から第1パターン画像に対応する第2パターン画像を検出する処理を実行することと、第1撮像画像からの第2パターン画像の検出が失敗した場合には、第1撮像画像に対して、第2パターン画像の検出が成功する可能性を高める第1補正処理を施して、第2撮像画像を取得することと、第2撮像画像から第2パターン画像を検出する処理を実行することと、を含むパターン画像の検出方法が開示されている。
【先行技術文献】
【特許文献】
【0003】
特開2024-018681号公報
【発明の概要】
【発明が解決しようとする課題】
【0004】
特許文献1には、例えば第1パターン画像が複数の点画像を含むドットパターン画像である場合に、第1撮像画像からの第2パターン画像の検出が失敗した際に、どの点画像の検出が失敗したのかを把握できない。したがって、ユーザーがどの点画像の検出が失敗したのか把握したい場合の要求に応えることができない。
【課題を解決するための手段】
【0005】
本開示の一態様は、プロジェクターに第1パターン画像を、投射面に投射して表示させることと、カメラに前記第1パターン画像を撮像させることによって、撮像画像を取得することと、前記撮像画像に基づいて、前記第1パターン画像のうち正常に検出されない領域である第1領域を特定することと、前記第1領域を、前記第1パターン画像のうち前記第1領域以外の領域である第2領域と識別できるように、前記第1パターン画像が処理された第2パターン画像を、前記プロジェクターを含む表示装置に表示させることと、を含む、表示制御方法である。
【0006】
本開示の他の一態様は、プロジェクターに第1パターン画像を投射面に投射して表示させることと、カメラに前記第1パターン画像を撮像させることによって、撮像画像を取得することと、前記撮像画像に基づいて、前記第1パターン画像のうち正常に検出されない領域である第1領域を特定することと、前記第1領域を、前記第1パターン画像のうち前記第1領域以外の領域である第2領域と識別できるように、前記第1パターン画像が処理された第2パターン画像を、前記プロジェクターを含む表示装置に表示させることと、を含む処理をコンピューターに実行させる、表示制御プログラムである。
【0007】
本開示の更に別の一態様は、第1パターン画像を投射面に投射して表示することと、カメラに前記第1パターン画像を撮像させることによって、撮像画像を取得することと、前記撮像画像に基づいて、前記第1パターン画像のうち正常に検出されない領域である第1領域を特定することと、前記第1領域を、前記第1パターン画像のうち前記第1領域以外の領域である第2領域と識別できるように、前記第1パターン画像が処理された第2パターン画像を、前記投射面に投射して表示することと、を実行する、プロジェクターである。
【図面の簡単な説明】
【0008】
本実施形態に係るプロジェクターの構成の一例を示す図。
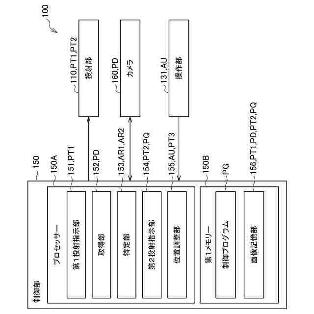
プロジェクターの制御部の構成の一例を示す図。
第1パターン画像の一例を示す図。
第2パターン画像の一例を示す図。
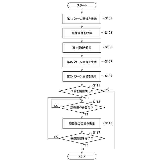
制御部の処理の一例を示すフローチャート。
【発明を実施するための形態】
【0009】
以下、図面を参照して本実施形態について説明する。
【0010】
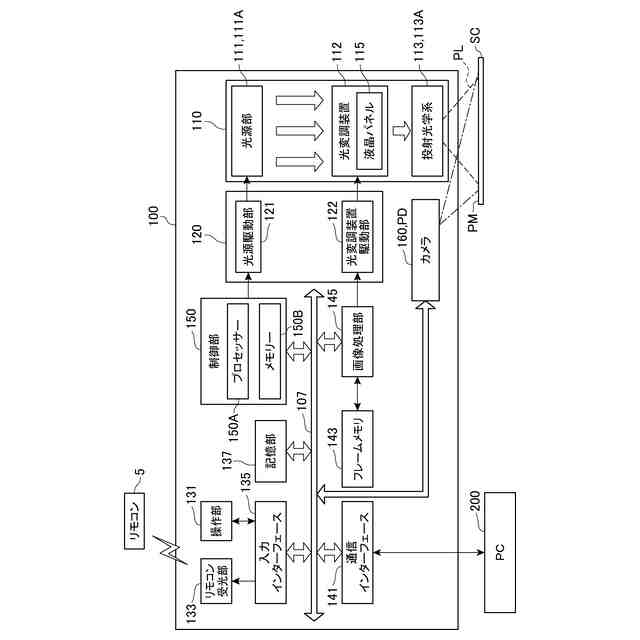
まず、図1を参照して、プロジェクター100の構成について説明する。図1は、プロジェクター100の構成の一例を示す図である。
図1に示すように、プロジェクター100は、投射部110と、投射部110を駆動する駆動部120とを備える。
投射部110は、光学的な画像の形成を行い、投射画像PMに対応する画像光PLをスクリーンSCに投射する。また、投射部110は、スクリーンSC上に投射画像PMを表示するように、画像光PLを投射する。
スクリーンSCは、「投射面」の一例に対応する。
(【0011】以降は省略されています)
この特許をJ-PlatPat(特許庁公式サイト)で参照する
関連特許
個人
イヤーピース
1日前
個人
イヤーマフ
15日前
個人
監視カメラシステム
24日前
キーコム株式会社
光伝送線路
25日前
個人
スイッチシステム
9日前
個人
スキャン式車載用撮像装置
24日前
サクサ株式会社
中継装置
1か月前
サクサ株式会社
中継装置
1か月前
サクサ株式会社
無線システム
29日前
サクサ株式会社
無線通信装置
1か月前
キヤノン電子株式会社
画像読取装置
1日前
個人
映像表示装置、及びARグラス
10日前
キヤノン電子株式会社
画像読取装置
9日前
ヤマハ株式会社
放音制御装置
9日前
サクサ株式会社
無線通信装置
1か月前
株式会社リコー
画像形成装置
17日前
キヤノン電子株式会社
画像読取装置
23日前
個人
発信機及び発信方法
29日前
キヤノン電子株式会社
シート搬送装置
1日前
日本電気株式会社
海底分岐装置
25日前
キヤノン株式会社
画像処理装置
4日前
株式会社NTTドコモ
端末
24日前
沖電気工業株式会社
画像形成装置
1か月前
株式会社NTTドコモ
端末
25日前
株式会社NTTドコモ
端末
24日前
株式会社JVCケンウッド
通信システム
1か月前
シャープ株式会社
端末装置
22日前
有限会社フィデリックス
マイクロフォン
1か月前
キヤノン電子株式会社
画像処理システム
23日前
シャープ株式会社
表示装置
1日前
株式会社NTTドコモ
端末
25日前
株式会社NTTドコモ
端末
24日前
シャープ株式会社
表示装置
1日前
技術開発合同会社
電子拡大鏡
10日前
個人
回動アームを構築する関節モジュール
1か月前
ダイハツ工業株式会社
人流取得装置
1か月前
続きを見る
他の特許を見る