TOP
|
特許
|
意匠
|
商標
特許ウォッチ
Twitter
他の特許を見る
10個以上の画像は省略されています。
公開番号
2025147664
公報種別
公開特許公報(A)
公開日
2025-10-07
出願番号
2024048020
出願日
2024-03-25
発明の名称
画像形成装置
出願人
沖電気工業株式会社
代理人
個人
主分類
H04N
1/00 20060101AFI20250930BHJP(電気通信技術)
要約
【課題】印刷情報を転送した場合において待ち時間を短縮する。
【解決手段】プリンタ4aは、ネットワークNWを介して複数の他の画像形成装置と接続可能であり、印刷ジョブを受信する受信部80と、他の画像形成装置の動作情報を取得する取得部82と、動作情報に基づいて印刷ジョブの転送先の候補となる他の画像形成装置を抽出する抽出部84と、印刷ジョブの転送先の候補となる他の画像形成装置に関する印刷先選択誘導情報を出力する出力部86とを設ける。
【選択図】図7
特許請求の範囲
【請求項1】
ネットワークを介して複数の他の画像形成装置と接続可能な画像形成装置であって、
印刷情報を受信する受信部と、
前記他の画像形成装置の動作情報を取得する取得部と、
前記動作情報に基づいて前記印刷情報の転送先の候補となる前記他の画像形成装置を抽出する抽出部と、
前記印刷情報の転送先の候補となる前記他の画像形成装置に関する情報を出力する出力部と
を有することを特徴とする画像形成装置。
続きを表示(約 890 文字)
【請求項2】
前記抽出部は、
前記印刷情報の転送先の候補となる前記他の画像形成装置の優先順位を抽出し、
前記出力部は、
前記印刷情報の転送先の候補となる前記他の画像形成装置の優先順位に関する情報を出力する
ことを特徴とする請求項1に記載の画像形成装置。
【請求項3】
前記取得部は、
前記画像形成装置に予め保存されている前記他の画像形成装置に関する情報を記憶する記憶部
をさらに有し、
前記抽出部は、
前記記憶部に記憶されている情報と前記取得部により取得された前記動作情報とに基づき、前記印刷情報の転送先の候補となる前記他の画像形成装置を抽出する
ことを特徴とする請求項1に記載の画像形成装置。
【請求項4】
前記他の画像形成装置のうち前記出力部の出力結果に応じて選択された転送先に前記印刷情報を転送する送信部
をさらに有することを特徴とする請求項1に記載の画像形成装置。
【請求項5】
前記受信部により前記印刷情報を受信すると、前記画像形成装置において所定の時間内に該印刷情報の印刷を開始可能である場合は該印刷情報の印刷を実行する一方、前記画像形成装置において前記所定の時間内に該印刷情報の印刷を開始不能である場合、前記取得部により前記他の画像形成装置の前記動作情報を取得させ、前記抽出部により前記動作情報に基づいて前記印刷情報の転送先の候補となる前記他の画像形成装置を抽出させ、前記出力部により前記印刷情報の転送先の候補となる前記他の画像形成装置に関する情報を出力させる制御部
をさらに有することを特徴とする請求項1に記載の画像形成装置。
【請求項6】
前記制御部は、
前記受信部により前記印刷情報を受信した時点で前記画像形成装置において他の印刷情報の印刷を実行中である場合、前記画像形成装置において前記所定の時間内に該印刷情報の印刷を開始不能であると判定する
ことを特徴とする請求項5に記載の画像形成装置。
発明の詳細な説明
【技術分野】
【0001】
本発明は画像形成装置に関し、例えば、印刷ジョブを転送する画像形成装置に適用して好適なものである。
続きを表示(約 1,500 文字)
【背景技術】
【0002】
従来、印刷中の画像形成装置が印刷ジョブを受信した場合、該画像形成装置から他の画像形成装置に印刷ジョブを転送する画像形成システムがあった(例えば、特許文献1参照)。
【先行技術文献】
【特許文献】
【0003】
特開2022-70157号公報
【発明の概要】
【発明が解決しようとする課題】
【0004】
しかしながらそのような画像形成システムにおいては、印刷情報としての印刷ジョブの転送先の画像形成装置においても、転送された印刷ジョブの印刷が直ちに開始されず、印刷完了までのユーザの待ち時間が長くなってしまう場合があった。
【0005】
本発明は以上の点を考慮してなされたもので、印刷情報を転送した場合において待ち時間を短縮し得る画像形成装置を提案しようとするものである。
【課題を解決するための手段】
【0006】
かかる課題を解決するため本発明の画像形成装置においては、ネットワークを介して複数の他の画像形成装置と接続可能な画像形成装置であって、印刷情報を受信する受信部と、他の画像形成装置の動作情報を取得する取得部と、動作情報に基づいて印刷情報の転送先の候補となる他の画像形成装置を抽出する抽出部と、印刷情報の転送先の候補となる他の画像形成装置に関する情報を出力する出力部とを設けるようにした。
【0007】
本発明は、印刷情報の転送先となる他の画像形成装置をユーザに選択させ、ユーザに選択された、印刷完了までの待ち時間が少ない転送先である他の画像形成装置に印刷情報を転送することができる。
【発明の効果】
【0008】
本発明によれば、印刷情報の転送先となる他の画像形成装置をユーザに選択させ、ユーザに選択された、印刷完了までの待ち時間が少ない転送先である他の画像形成装置に印刷情報を転送することができ、かくして印刷情報を転送した場合において待ち時間を短縮し得る画像形成装置を実現できる。
【図面の簡単な説明】
【0009】
画像形成システムの全体構成を示すブロック図である。
プリンタ4aの構成を示すブロック図である。
複写機6aの構成を示すブロック図である。
複写機6bの構成を示すブロック図である。
プリンタ4aに記憶された周辺装置情報を示す図である。
複写機6aに記憶された周辺装置情報を示す図である。
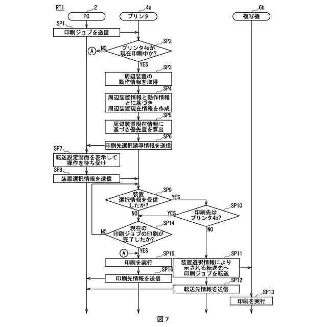
印刷処理手順を示すシーケンスチャートである。
転送設定画面を示す図である。
周辺装置現在情報を示す図である。
プリンタの機能構成を示すブロック図である。
【発明を実施するための形態】
【0010】
以下、発明を実施するための形態(以下実施の形態とする)について、図面を用いて説明する。
[1.画像形成システムの構成]
図1に示すように、画像形成システム1は、ユーザにより使用されるPC2、プリンタ4a、プリンタ4b、複写機6a及び複写機6bがそれぞれネットワークNWに接続されることにより構成されている。なお図示しないものの、ネットワークNWには、これらPC2、プリンタ4a、プリンタ4b、複写機6a及び複写機6b以外のPC、プリンタ及び複写機も接続されている。プリンタ4a及びプリンタ4bは互いに同様に構成されている。以下では、プリンタ4a及びプリンタ4bをまとめて、プリンタ4とも呼び、複写機6a及び複写機6bをまとめて複写機6とも呼ぶ。
(【0011】以降は省略されています)
この特許をJ-PlatPat(特許庁公式サイト)で参照する
関連特許
沖電気工業株式会社
画像形成装置
1か月前
沖電気工業株式会社
媒体処理装置
20日前
沖電気工業株式会社
施錠開閉装置
1か月前
沖電気工業株式会社
画像形成装置
1か月前
沖電気工業株式会社
画像形成装置
22日前
沖電気工業株式会社
画像形成装置
20日前
沖電気工業株式会社
画像形成装置
21日前
沖電気工業株式会社
処理システム
20日前
沖電気工業株式会社
半導体デバイス
1か月前
沖電気工業株式会社
発光装置及び表示装置
1か月前
沖電気工業株式会社
定着装置及び画像形成装置
23日前
沖電気工業株式会社
定着装置及び画像形成装置
20日前
沖電気工業株式会社
処理装置および処理システム
12日前
沖電気工業株式会社
電源制御装置及び画像形成装置
1か月前
沖電気工業株式会社
紙葉類取扱装置及び現金処理装置
26日前
沖電気工業株式会社
画像形成装置および媒体種別報知方法
13日前
沖電気工業株式会社
通信装置、通信方法、及び通信プログラム
21日前
沖電気工業株式会社
情報処理装置、情報処理方法、およびプログラム
1か月前
沖電気工業株式会社
情報処理システム、情報処理方法およびプログラム
14日前
沖電気工業株式会社
情報処理装置、情報処理方法、及び情報処理システム
20日前
沖電気工業株式会社
現像剤収容体、画像形成ユニットおよび画像形成装置
20日前
沖電気工業株式会社
情報処理装置、情報処理プログラム、及び情報処理方法
1か月前
沖電気工業株式会社
精算システム、精算装置、情報処理方法、及びプログラム
1か月前
沖電気工業株式会社
経路設定装置、経路設定方法、プログラムおよび経路設定システム
1か月前
沖電気工業株式会社
画像形成装置、画像形成システム、状態提示方法、及び状態提示プログラム
20日前
沖電気工業株式会社
情報処理装置、情報処理プログラム、情報処理方法、及び情報処理システム
12日前
沖電気工業株式会社
情報処理方法、情報処理プログラム、及び情報処理装置
12日前
個人
イヤーピース
12日前
個人
イヤーマフ
26日前
個人
監視カメラシステム
1か月前
個人
スイッチシステム
20日前
キーコム株式会社
光伝送線路
1か月前
WHISMR合同会社
収音装置
2か月前
サクサ株式会社
中継装置
1か月前
個人
スキャン式車載用撮像装置
1か月前
サクサ株式会社
中継装置
1か月前
続きを見る
他の特許を見る