TOP
|
特許
|
意匠
|
商標
特許ウォッチ
Twitter
他の特許を見る
10個以上の画像は省略されています。
公開番号
2025148183
公報種別
公開特許公報(A)
公開日
2025-10-07
出願番号
2024048812
出願日
2024-03-25
発明の名称
回動アームを構築する関節モジュール
出願人
個人
代理人
主分類
H04N
5/64 20060101AFI20250930BHJP(電気通信技術)
要約
【課題】ディスプレイ表示面や椅子の背もたれ等を任意角度に回動し当該位置で停止保持する回動アームに於いて、ネジで調節し固定する事による煩雑さを解消する。関節モジュールにアームを連結するだけで目的仕様の軽量で軽快に操作可能な多関節回動アームを構築可能にする。
【解決手段】両端に、XY軸に回頭する結合端を有し、この結合端を係止、して回頭角度を任意に保持する係止手段を具備する関節モジュールに、最適宜長さのアームを結合して回動アームを構築する。
【選択図】図1
特許請求の範囲
【請求項1】
筐体に軸支された回頭支軸により回頭自在な前結合端は、前記回頭支軸の一方の側周面にだけ回転係止体を噛合させて順回頭を禁止し、他方の側周面にだけ回転係止体を噛合させて逆回頭を禁止し、両側周面共に回転係止体を噛合させて回頭を禁止し、両側面共に回転係止体を噛合させずに回頭自由にする係止手段により、前結合端が任意の一方向にのみ回頭し、後結合端は非回頭である関節モジュール
続きを表示(約 370 文字)
【請求項2】
筐体に軸支された回頭支軸により回頭自在な前結合端は、前記回頭支軸の一方の側周面にだけ回転係止体を噛合させて順回頭を禁止し、他方の側周面にだけ回転係止体を噛合させて逆回頭を禁止し、両側周面共に回転係止体を噛合させて回頭を禁止し、両側面共に回転係止体を噛合させずに回頭自由にする係止手段により、前結合端が任意の一方向にのみ回頭し、後結合端は前結合端と直交し、同様の係止手段を有する事によりXY軸に回頭自在な関節モジュール
【請求項3】
係止手段が回頭支軸の直交歯車により結合端方向に軸支された第二の回頭支軸の側周面に係止手段を作用させる事が特徴である請求項1及び請求項2記載の関節モジュール
【請求項4】
回頭支軸が歯車であり、係止体が係止爪である請求項1~請求項3記載の関節モジュール
発明の詳細な説明
【技術分野】
【0001】
本発明は座椅子やベッドの横臥角度を角度自在に保持する可変角保持アームや、テレビの表示面や、工具を任意位置に保持する回動アーム(以下可変角アームも含め回動アームと称する)を簡単に構築する事が出来る関節モジュールに関するものである。
続きを表示(約 1,100 文字)
【背景技術】
【0002】
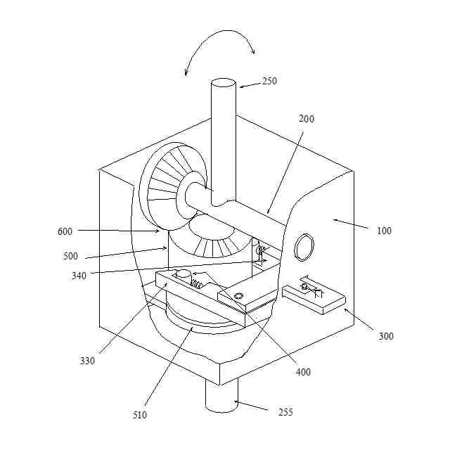
従来の回動アームとして、ディスプレイ面等を任意位置に保持する代表的なものとして図1があるが、アームの結合はネジの締め付で行われるため頑丈に作られていて、全体の重量は、保持するディスプレイ自体よりも重く、いわゆるオーバーヘッド状態となっている。
【0003】
また、保持物の位置決めをする際に、複数の関節間のネジを緩めたり締めたりを繰り返して角度調節をしていたので時間がかかり不便であった。
【0004】
座椅子の背もたれや、ベッドの横臥角度を任意位置に保持するためラチェット機構により係止する方式に於いては、例えば特許文献1があるが、任意位置の前後調整は不可逆的であり、保持した位置を変えるためには、一旦リセット位置まで戻してラチェットの係止を解消する必要があり、最適位置を得るためには位置保持、リセットを数回繰り返す必要があり、不便であった。
【0005】
他の方式としてネジで固定せずに摩擦力を利用したものがある。例えば、特許文献2では関節内部に摩擦部材を有し、これを押圧機構で押し付けて位置保持しているが、経時変化等により摩擦力が低下して性能劣化の可能性がある。
【0006】
球面の固定部に、アームの端部を磁石又はバネで押圧させて摩擦力で保持するものとして特許文献3があるが、係止力が弱く、保持物のサイズに制限がある。また、携帯端末を身体に固定して任意位置に保持するものとして特許文献4があるが、これは関節の自由度が低く、目的の最適表示位置に保持する事は困難である。
【0007】
更に、従来に於いては目的の仕様、用途に応じてその都度、設計し製造する不便があった。
特開2003-336790
特開平10-279298
特願2003-197485
特願 2013-24994
【発明の概要】
【発明が解決しようとする課題】
【0008】
アーム間の固定を、ネジの締付や、ばねの摩擦力で行う事による部品増加による自重の増大を解消する。座椅子等に於いては、角度変化させる際、一旦リセット位置まで戻す必要を無くして、自在に微調整する事を可能にする。
【0009】
また、各関節間の結合角度の調節を、最小回数、最短時間で済むようにする。
【0010】
更に、仕様毎にその都度、設計し製造する非効率を排して、最適な関節モジュールとアームを選択して組み立てるだけで、使用目的に適合した回動アームが完成する。
【課題を解決するための手段】
(【0011】以降は省略されています)
この特許をJ-PlatPat(特許庁公式サイト)で参照する
関連特許
個人
イヤーピース
2日前
個人
イヤーマフ
16日前
個人
監視カメラシステム
25日前
キーコム株式会社
光伝送線路
26日前
個人
スイッチシステム
10日前
サクサ株式会社
中継装置
1か月前
サクサ株式会社
中継装置
1か月前
WHISMR合同会社
収音装置
1か月前
個人
スキャン式車載用撮像装置
25日前
アイホン株式会社
電気機器
1か月前
サクサ株式会社
無線通信装置
1か月前
キヤノン電子株式会社
画像読取装置
10日前
キヤノン電子株式会社
画像読取装置
2か月前
個人
映像表示装置、及びARグラス
11日前
サクサ株式会社
無線通信装置
1か月前
個人
ワイヤレスイヤホン対応耳掛け
1か月前
ヤマハ株式会社
放音制御装置
10日前
キヤノン電子株式会社
画像読取装置
24日前
株式会社リコー
画像形成装置
18日前
キヤノン電子株式会社
画像読取装置
2日前
サクサ株式会社
無線システム
1か月前
個人
発信機及び発信方法
1か月前
日本電気株式会社
海底分岐装置
26日前
キヤノン電子株式会社
シート搬送装置
2日前
キヤノン株式会社
撮像システム
1か月前
キヤノン株式会社
画像処理装置
5日前
株式会社NTTドコモ
端末
25日前
株式会社NTTドコモ
端末
26日前
沖電気工業株式会社
画像形成装置
1か月前
株式会社NTTドコモ
端末
26日前
シャープ株式会社
表示装置
2日前
シャープ株式会社
表示装置
2日前
シャープ株式会社
端末装置
23日前
株式会社JVCケンウッド
通信システム
1か月前
キヤノン電子株式会社
画像処理システム
24日前
沖電気工業株式会社
画像形成装置
1か月前
続きを見る
他の特許を見る