TOP
|
特許
|
意匠
|
商標
特許ウォッチ
Twitter
他の特許を見る
公開番号
2025152415
公報種別
公開特許公報(A)
公開日
2025-10-09
出願番号
2024054298
出願日
2024-03-28
発明の名称
人流取得装置
出願人
ダイハツ工業株式会社
代理人
個人
主分類
H04N
7/18 20060101AFI20251002BHJP(電気通信技術)
要約
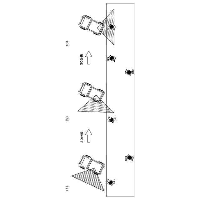
【課題】人流の取得対象となる範囲が変更されても適切な位置に撮像部をプリセットできる人流取得装置を実現する。
【解決手段】人流取得装置1は、車両に搭載された撮像部10により撮像して得られる画像に基づいて車両の周囲の人流を取得する人流取得装置であって、車両の位置を検出する車両位置検出部20と、記車両の位置に対応付けて予め設定される撮像部10による撮像方向を人流取得方向として記憶した外部記憶手段80と、車両位置検出部20により検出された車両の位置に対応する人流取得方向を外部記憶手段80から取得する方向制御部40と、撮像部10の撮像方向を制御する撮像方向制御部40eとを備え、撮像方向制御部40eは、取得した人流取得方向に向けて、撮像部10の撮像方向のプリセットを行うことを特徴とする。
【選択図】図1
特許請求の範囲
【請求項1】
車両に搭載された撮像部により撮像して得られる画像に基づいて前記車両の周囲の人流を取得する人流取得装置であって、
前記車両の位置を検出する車両位置検出部と、
前記車両の位置に対応付けて予め設定される前記撮像部による撮像方向を人流取得方向として記憶した方向記憶部と、
前記車両位置検出部により検出された前記車両の位置に対応する人流取得方向を前記方向記憶部から取得する取得部と、
前記撮像部の撮像方向を制御する方向制御部と、を備え、
前記方向制御部は、前記取得部が取得した前記人流取得方向に向けて、前記撮像部の撮像方向のプリセットを行うことを特徴とする人流取得装置。
続きを表示(約 290 文字)
【請求項2】
前記方向制御部は、前記撮像部が撮像した画像内に所定の物標があるか否かを判定する判定部を備え、
前記方向制御部は、前記判定部により前記画像内に前記所定の物標があると判定されたことを条件として、前記撮像部の撮像方向を、前記画像における前記所定の物標の位置に基づいて補正することを特徴とする請求項1に記載の人流取得装置。
【請求項3】
前記方向記憶部に記憶された前記人流取得方向は、過去に前記車両が同じ位置にいたときに、前記撮像部により撮像された画像における前記人流の方向に基づいて決定されたものであることを特徴とする請求項1に記載の人流取得装置。
発明の詳細な説明
【技術分野】
【0001】
本発明は、撮像部が撮像した画像に基づいて人の流れを取得する人流取得装置に関する。
続きを表示(約 1,700 文字)
【背景技術】
【0002】
従来、車両に搭載されて周囲の人流を取得する人流取得装置が知られている。例えば、特許文献1に記載の人流取得装置は、監視カメラのプリセット巡回機能を有する人流取得装置である。この装置は、PTZカメラが取得した監視対象範囲の画像データを解析し、監視対象の監視に適したPTZカメラのプリセット撮影位置を決定する。ここで、プリセット撮影位置とは、監視対象範囲内を通行する人物が映る可能性が高い画角であり、パン角度、チルト角度、ズーム位置で規定される。このようなプリセット撮影位置が複数設定され、所定の順序で巡回しながら被写体が撮影されることで監視が行われる。
【先行技術文献】
【特許文献】
【0003】
特開2016-100696号公報
【発明の概要】
【発明が解決しようとする課題】
【0004】
このような人流取得装置は、監視対象範囲が一定の場合は適切な監視を行うことができる。しかしながら、例えば、移動販売車のような日々監視対象範囲が変更される場合は、監視に適したプリセット位置を設定するのは困難である。したがって、このような場合は、その都度、稼働前にユーザが手動でカメラを最適な位置に移動させる必要がある。
【0005】
そこで本発明は、車両の周囲の人流を取得する人流取得装置において、人流の取得対象となる範囲が変更されても適切な位置に撮像部をプリセットできる人流取得装置を実現することを目的とする。
【課題を解決するための手段】
【0006】
(1)上述した課題を解決すべく提供される本発明の人流取得装置は、車両に搭載された撮像部により撮像して得られる画像に基づいて前記車両の周囲の人流を取得する人流取得装置であって、前記車両の位置を検出する車両位置検出部と、前記車両の位置に対応付けて予め設定される前記撮像部による撮像方向を人流取得方向として記憶した方向記憶部と、前記車両位置検出部により検出された前記車両の位置に対応する人流取得方向を前記方向記憶部から取得する取得部と、前記撮像部の撮像方向を制御する方向制御部と、を備え、前記方向制御部は、前記取得部が取得した前記人流取得方向に向けて、前記撮像部の撮像方向のプリセットを行うことを特徴としている。
【0007】
上記した人流取得装置は、取得部が車両の位置に対応する人流取得方向を取得し、方向制御部が、当該人流取得方向に向けて撮像部の撮像方向のプリセットを行う。ここで、人流取得方向は、撮像部が人流を取得する方向として予め設定された方向であり、車両の位置に対応して記憶されている。したがって、この人流取得装置は、車両の位置が変更されても、当該位置に応じた撮像部の撮像方向(人流取得方向)にプリセットを行うことができる。これにより、本発明の人流取得装置1は、移動するたびに、撮像部10の撮像方向を人流を取得するのに適した方向に変更する手間を省略することができる。
【0008】
(2)前記方向制御部は、前記撮像部が撮像した画像内に所定の物標があるか否かを判定する判定部を備え、前記方向制御部は、前記判定部により前記画像内に前記所定の物標があると判定されたことを条件として、前記撮像部の撮像方向を、前記画像における前記所定の物標の位置に基づいて補正するとよい。
【0009】
このようにすると、本発明の人流取得装置は、プリセットされた撮像部の撮像方向に所定の物標があると判定されたことを条件に、撮像部の撮像方向を所定の物標の位置に基づいて補正することが可能である。例えば、本発明の人流取得装置は、人流の取得と、所定の物標の周辺画像の取得と、を両立できる方向に、撮像部の撮像方向を補正することができる。
【0010】
(3)また、(1)に係る人流取得装置において、前記方向記憶部に記憶された前記人流取得方向は、過去に前記車両が同じ位置にいたときに、前記撮像部により撮像された画像における前記人流の方向に基づいて決定されたものであるとよい。
(【0011】以降は省略されています)
この特許をJ-PlatPat(特許庁公式サイト)で参照する
関連特許
個人
イヤーマフ
13日前
個人
監視カメラシステム
22日前
個人
スイッチシステム
7日前
キーコム株式会社
光伝送線路
23日前
個人
スキャン式車載用撮像装置
22日前
サクサ株式会社
中継装置
29日前
サクサ株式会社
中継装置
28日前
キヤノン電子株式会社
画像読取装置
21日前
サクサ株式会社
無線通信装置
28日前
サクサ株式会社
無線通信装置
28日前
ヤマハ株式会社
放音制御装置
7日前
個人
ワイヤレスイヤホン対応耳掛け
1か月前
キヤノン電子株式会社
画像読取装置
7日前
株式会社リコー
画像形成装置
15日前
個人
映像表示装置、及びARグラス
8日前
サクサ株式会社
無線システム
27日前
個人
発信機及び発信方法
27日前
日本電気株式会社
海底分岐装置
23日前
キヤノン株式会社
画像処理装置
2日前
株式会社NTTドコモ
端末
22日前
株式会社NTTドコモ
端末
23日前
株式会社NTTドコモ
端末
22日前
沖電気工業株式会社
画像形成装置
1か月前
株式会社NTTドコモ
端末
22日前
キヤノン電子株式会社
画像処理システム
21日前
有限会社フィデリックス
マイクロフォン
1か月前
大日本印刷株式会社
写真撮影装置
1か月前
株式会社JVCケンウッド
通信システム
1か月前
株式会社NTTドコモ
端末
23日前
シャープ株式会社
端末装置
20日前
沖電気工業株式会社
画像形成装置
1か月前
日本無線株式会社
無線通信システム
1か月前
ダイハツ工業株式会社
人流取得装置
28日前
技術開発合同会社
電子拡大鏡
8日前
個人
回動アームを構築する関節モジュール
1か月前
アスザック株式会社
遠隔操作システム
8日前
続きを見る
他の特許を見る