TOP
|
特許
|
意匠
|
商標
特許ウォッチ
Twitter
他の特許を見る
公開番号
2025140101
公報種別
公開特許公報(A)
公開日
2025-09-29
出願番号
2024039277
出願日
2024-03-13
発明の名称
画像形成装置
出願人
沖電気工業株式会社
代理人
個人
主分類
H04N
1/60 20060101AFI20250919BHJP(電気通信技術)
要約
【課題】指定された色で印刷されないことを防止する。
【解決手段】画像データの色相調整を行うカラーバランス調整部38と、カラーバランス調整部38による色相調整の前後の画像データの各画素の色相の変化量と画素値の変化量とに基づいて報知を行う報知部46と、を有するプリンタ1であって、報知部46は、色調整の前後の色相の変化量が色相閾値以上であり、かつ、色調整の前後における、画素値の変化量が最大のチャネルと最小のチャネルの変化量との差分がチャネル間画素値差閾値以下である画素の画素数を計数して、画像データ中の全画素数に対する該画素数の割合が画素数閾値よりも高い場合に報知を行う。
【選択図】図2
特許請求の範囲
【請求項1】
画像データの色調整を行う色調整部と、
前記色調整部による前記色調整の前後の前記画像データの色情報の変化に基づいて報知を行う報知部と
を有することを特徴とする画像形成装置。
続きを表示(約 1,000 文字)
【請求項2】
前記色調整による前記色情報である色相及び画素値の変化量を算出する算出部
をさらに有し、
前記報知部は、
前記色調整部による前記色調整の前後の前記画像データにおける色相の変化量と画素値の変化量とに基づいて前記報知を行う
ことを特徴とする請求項1に記載の画像形成装置。
【請求項3】
前記算出部は、
前記色調整の前後の色相の変化量が色相閾値以上であり、かつ、前記色調整の前後における、前記画素値の変化量が最大のチャネルの変化量と前記画素値の変化量が最小のチャネルの変化量との差分がチャネル間画素値差閾値以下である画素の画素数を計数して、前記画像データ中の全画素数に対する該画素数の割合が画素数閾値よりも高いか否かを判定し、
前記報知部は、前記割合が前記画素数閾値よりも高いと前記算出部が判定した場合、前記報知を行う
ことを特徴とする請求項2に記載の画像形成装置。
【請求項4】
前記算出部は、
前記色調整の前後の色相の変化量が色相閾値以上であり、かつ、前記色調整の前後の前記画素値の変化量が画素値差閾値以下のチャネルを含む画素の画素数を計数して、前記画像データ中の全画素数に対する該画素数の割合が画素数閾値よりも高いか否かを判定し、
前記報知部は、前記割合が前記画素数閾値よりも高いと前記算出部が判定した場合、前記報知を行う
ことを特徴とする請求項2に記載の画像形成装置。
【請求項5】
前記色調整の調整値を記憶する記憶部
をさらに有し、
前記色調整部は、
前記記憶部に記憶された前記調整値に基づいて前記画像データの前記色調整を行う
ことを特徴とする請求項1に記載の画像形成装置。
【請求項6】
前記報知部は、
印刷続行又は印刷中止を選択させる前記報知を行う
ことを特徴とする請求項1乃至請求項5の何れかに記載の画像形成装置。
【請求項7】
前記報知部による前記報知に応じ、印刷続行が選択された場合は前記画像データの印刷を実行する一方、印刷中止が選択された場合は前記画像データの印刷を中止する印刷部
をさらに有することを特徴とする請求項6に記載の画像形成装置。
発明の詳細な説明
【技術分野】
【0001】
本発明は画像形成装置に関し、例えば、カラーバランス調整を行う画像形成装置に適用して好適なものである。
続きを表示(約 1,000 文字)
【背景技術】
【0002】
従来、記憶部に記憶された調整値を用いて画像データに対し色調整を行い、色調整後の画像データを用紙に印刷する画像形成装置があった(例えば、特許文献1参照)。
【先行技術文献】
【特許文献】
【0003】
特開2015-225272号公報
【発明の概要】
【発明が解決しようとする課題】
【0004】
しかしながらそのような画像形成装置においては、記憶部に予め記憶された調整値を用いて色調整を行った画像データを印刷した場合に、指定された色で印刷されない場合があった。
【0005】
本発明は以上の点を考慮してなされたもので、指定された色で印刷されないことを防止し得る画像形成装置を提案しようとするものである。
【課題を解決するための手段】
【0006】
かかる課題を解決するため本発明の画像形成装置においては、画像データの色調整を行う色調整部と、色調整部による色調整の前後の画像データの色情報の変化に基づいて報知を行う報知部とを設けるようにした。
【0007】
本発明は、報知に応じて印刷中止が選択された場合は画像データの印刷を中止することができる。
【発明の効果】
【0008】
本発明によれば、報知に応じて印刷中止が選択された場合は画像データの印刷を中止することができ、かくして指定された色で印刷されないことを防止し得る画像形成装置を実現できる。
【図面の簡単な説明】
【0009】
プリンタのハードウェア構成を示すブロック図である。
プリンタの機能構成を示すブロック図である。
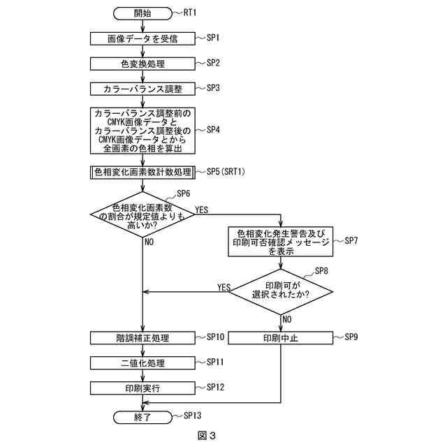
印刷処理手順を示すフローチャートである。
色相変化画素数計数処理手順を示すフローチャートである。
【発明を実施するための形態】
【0010】
以下、発明を実施するための形態(以下実施の形態とする)について、図面を用いて説明する。
[1.画像形成装置の構成]
図1にプリンタ1のハードウェア構成を示すように、プリンタ1は、CPU10、ROM12、RAM14、オペレーションパネル16、ネットワークI/F18、給紙トレイ20、プリンタエンジン22及び濃度センサ24を有しており、これらがプリンタバス26を介して相互に接続されている。
(【0011】以降は省略されています)
この特許をJ-PlatPat(特許庁公式サイト)で参照する
関連特許
沖電気工業株式会社
画像形成装置
1か月前
沖電気工業株式会社
媒体処理装置
1か月前
沖電気工業株式会社
画像形成装置
5日前
沖電気工業株式会社
画像形成装置
1か月前
沖電気工業株式会社
画像形成装置
1か月前
沖電気工業株式会社
画像形成装置
4日前
沖電気工業株式会社
処理システム
1か月前
沖電気工業株式会社
画像形成装置
1か月前
沖電気工業株式会社
定着装置及び画像形成装置
1か月前
沖電気工業株式会社
定着装置及び画像形成装置
1か月前
沖電気工業株式会社
処理装置および処理システム
25日前
沖電気工業株式会社
紙葉類取扱装置及び現金処理装置
1か月前
沖電気工業株式会社
画像形成装置および媒体種別報知方法
26日前
沖電気工業株式会社
通信装置、通信方法、及び通信プログラム
1か月前
沖電気工業株式会社
画像形成装置、画像形成媒体及び画像形成方法
4日前
沖電気工業株式会社
情報処理装置、情報処理方法およびプログラム
12日前
沖電気工業株式会社
情報処理システム、情報処理方法およびプログラム
27日前
沖電気工業株式会社
情報処理装置、情報処理方法、及び情報処理システム
1か月前
沖電気工業株式会社
現像剤収容体、画像形成ユニットおよび画像形成装置
1か月前
沖電気工業株式会社
情報処理方法、情報処理プログラム及び情報処理システム
4日前
沖電気工業株式会社
画像形成装置、画像形成システム、状態提示方法、及び状態提示プログラム
1か月前
沖電気工業株式会社
情報処理装置、情報処理プログラム、情報処理方法、及び情報処理システム
25日前
沖電気工業株式会社
情報処理方法、情報処理プログラム、及び情報処理装置
25日前
個人
イヤーピース
25日前
個人
イヤーマフ
1か月前
個人
監視カメラシステム
1か月前
キーコム株式会社
光伝送線路
1か月前
個人
スイッチシステム
1か月前
サクサ株式会社
中継装置
1か月前
個人
スキャン式車載用撮像装置
1か月前
サクサ株式会社
中継装置
1か月前
WHISMR合同会社
収音装置
2か月前
キヤノン株式会社
撮像装置
4日前
キヤノン株式会社
撮像装置
3か月前
アイホン株式会社
電気機器
2か月前
キヤノン電子株式会社
画像読取装置
25日前
続きを見る
他の特許を見る