TOP
|
特許
|
意匠
|
商標
特許ウォッチ
Twitter
他の特許を見る
10個以上の画像は省略されています。
公開番号
2025168347
公報種別
公開特許公報(A)
公開日
2025-11-07
出願番号
2025123890,2024071549
出願日
2025-07-24,2024-04-25
発明の名称
情報処理方法、情報処理プログラム、及び情報処理装置
出願人
沖電気工業株式会社
代理人
個人
,
個人
主分類
G06F
40/56 20200101AFI20251030BHJP(計算;計数)
要約
【課題】 対話の内容がコンパクトに表現されたグラフ文書を利用して対話を行うことができる情報処理方法を提供する。
【解決手段】 本発明の情報処理方法は、大規模言語モデルとの対話内容を、文書構造をグラフ化した編集可能なグラフ文書として表示部に表示させるための情報を出力することを特徴とする。当該本発明によれば、対話の内容がコンパクトに表現されたグラフ文書を利用して対話を行うことができる情報処理方法を提供可能となる。
【選択図】 図1
特許請求の範囲
【請求項1】
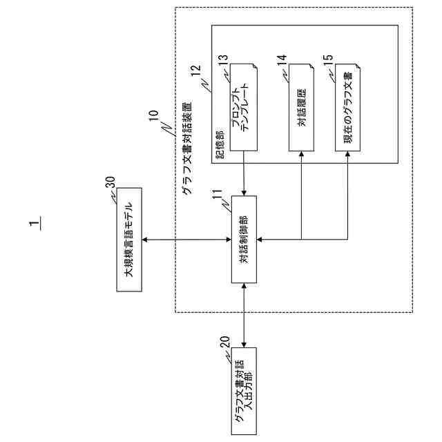
大規模言語モデルとの対話内容を、文書構造をグラフ化した編集可能なグラフ文書として表示部に表示させるための情報を出力することを特徴とする情報処理方法。
続きを表示(約 1,200 文字)
【請求項2】
大規模言語モデルとの対話内容に関する対話履歴を表示する欄と、前記対話内容を示す、文書構造をグラフ化したグラフ文書を表示する欄と、を有する画面を表示部に表示させるための情報を出力することを特徴とする情報処理方法。
【請求項3】
文書構造をグラフ化した第1のグラフ文書に基づく情報を含んだ第1のプロンプトを生成する第1ステップを有することを特徴とする情報処理方法。
【請求項4】
前記第1のグラフ文書を生成する大規模言語モデルに前記第1のプロンプトを出力する第2ステップをさらに有することを特徴とする請求項3に記載の情報処理方法。
【請求項5】
前記大規模言語モデルは、外部装置を介して入力されたユーザ発話文に対するシステム発話文も生成し、
前記第1のプロンプトには前記第1のグラフ文書に加えて前記ユーザ発話文と前記システム発話文の対話履歴情報を含み、
前記第2ステップは、該第1のプロンプトに基づき更新された前記第1のグラフ文書と前記システム発話文を前記大規模言語モデルから取得し、取得した前記第1のグラフ文書及び前記システム発話文を前記外部装置に送信する
ことを特徴とする請求項4に記載の情報処理方法。
【請求項6】
前記大規模言語モデルは、対話内容から参考となる第2のグラフ文書を検索するのに必要な検索クエリ文も生成し、
前記第1のグラフ文書及び前記対話履歴情報を含む情報に基づき第2のプロンプトを作成し、該第2のプロンプトを前記大規模言語モデルに送信し、該第2のプロンプトに基づき生成された前記検索クエリ文を前記大規模言語モデルから取得し、
保持するグラフ文書群から前記検索クエリ文に基づき、前記第2のグラフ文書を検索する第3ステップをさらに有し、
前記第1のプロンプトには、前記第3ステップにより検索してヒットした前記第2のグラフ文書の情報が含まれる
ことを特徴とする請求項5に記載の情報処理方法。
【請求項7】
前記第3ステップは、ベクトル検索により前記検索クエリ文に内容が近いグラフ断片を取得でき、さらに前記グラフ断片から特定のラベルでリンクされたグラフ断片も取得したものを合わせて検索結果として返す
ことを特徴とする請求項6に記載の情報処理方法。
【請求項8】
前記第3ステップは、前記第1のグラフ文書に付加情報を付与することができ、前記検索クエリ文に、検索する前記第2のグラフ文書を絞るような前記付加情報による条件を追加する
ことを特徴とする請求項6に記載の情報処理方法。
【請求項9】
請求項1~8のいずれか1つに記載の情報処理方法をコンピュータに実行させることを特徴とする情報処理プログラム。
【請求項10】
請求項9に記載の情報処理プログラムを実行することを特徴とする情報処理装置。
発明の詳細な説明
【技術分野】
【0001】
本発明は、情報処理方法、情報処理プログラム、及び情報処理装置に関し、例えば、グラフ文書を用いた対話システムに適用し得る。
続きを表示(約 1,100 文字)
【背景技術】
【0002】
近年、言語モデル(language model)の発展にともなって対話システムの性能も高まっており、様々な技術が開発されている。
【0003】
例えば、特許文献1には、言語モデルを利用して、対話により検索対象の文書を検索する装置が開示されている。また、特許文献2には、対話により、文書を編集する指示を出し、文書を修正する装置が開示されている。
【0004】
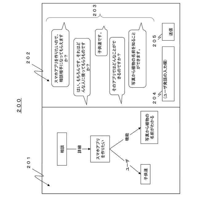
ところで、非特許文献1には、産業日本語研究会の公開資料として、テキスト文書の代わりにグラフ文書を利用することにより、さまざまな利点があることが述べられている。グラフ文書は、文書構造をグラフで表現するもので、1文程度の粒度の文章を1つのノードで表現し、文と文の関係をエッジで結び、関係の意味を表すラベルをエッジに付与することで、文書の構造および意味を表現することができる。
【先行技術文献】
【特許文献】
【0005】
特開2023-076413号公報
特開2023-017938号公報
【非特許文献】
【0006】
“産業日本語研究会・文書作成支援分科会 公開資料”[2024年4月17日検索],[Online]、INTERNET、<URL:https://tech-jpn.jp/wp-content/uploads/symposium/13/13-2-2.pdf>
【発明の概要】
【発明が解決しようとする課題】
【0007】
上述の特許文献1にあるような言語モデルを利用することで、ユーザからの発話に対して、対話システムからある程度適切な応答文を作成することができる。
【0008】
しかしながら、言語モデルに送信する応答文を作成するためのプロンプトには、長さの制限があるため、送信する対話履歴が長くなった場合、古い対話履歴を削除して送信する必要がある。その場合、削除した対話履歴の内容が言語モデルに渡されないため、その削除した対話履歴にある情報を考慮しない対話となってしまう問題がある。
【0009】
そのため、グラフ文書を利用して対話を行うことができる情報処理方法、情報処理プログラム、及び情報処理装置が望まれている。
【課題を解決するための手段】
【0010】
第1の本発明の情報処理方法は、大規模言語モデルとの対話内容を、文書構造をグラフ化した編集可能なグラフ文書として表示部に表示させるための情報を出力することを特徴とする。
(【0011】以降は省略されています)
この特許をJ-PlatPat(特許庁公式サイト)で参照する
関連特許
沖電気工業株式会社
画像形成装置
1日前
沖電気工業株式会社
画像形成装置
2日前
沖電気工業株式会社
処理装置および処理システム
22日前
沖電気工業株式会社
画像形成装置および媒体種別報知方法
23日前
沖電気工業株式会社
画像形成装置、画像形成媒体及び画像形成方法
1日前
沖電気工業株式会社
情報処理装置、情報処理方法およびプログラム
9日前
沖電気工業株式会社
情報処理方法、情報処理プログラム及び情報処理システム
1日前
沖電気工業株式会社
情報処理装置、情報処理プログラム、情報処理方法、及び情報処理システム
22日前
沖電気工業株式会社
情報処理方法、情報処理プログラム、及び情報処理装置
22日前
個人
詐欺保険
1か月前
個人
縁伊達ポイン
1か月前
個人
RFタグシート
1か月前
個人
職業自動販売機
15日前
個人
5掛けポイント
22日前
個人
QRコードの彩色
1か月前
個人
地球保全システム
1か月前
個人
ペルソナ認証方式
1か月前
個人
自動調理装置
1か月前
個人
情報処理装置
25日前
個人
残土処理システム
1か月前
個人
農作物用途分配システム
1か月前
個人
サービス情報提供システム
17日前
個人
インターネットの利用構造
29日前
個人
知的財産出願支援システム
1か月前
個人
タッチパネル操作指代替具
1か月前
個人
スケジュール調整プログラム
1か月前
個人
携帯端末障害問合せシステム
1か月前
個人
エリアガイドナビAIシステム
1か月前
株式会社キーエンス
受発注システム
1か月前
株式会社キーエンス
受発注システム
1か月前
個人
食品レシピ生成システム
1か月前
個人
海外支援型農作物活用システム
2か月前
株式会社キーエンス
受発注システム
1か月前
キヤノン株式会社
画像認識装置
9日前
キヤノン株式会社
情報処理装置
23日前
トヨタ自動車株式会社
通知装置
1か月前
続きを見る
他の特許を見る