TOP
|
特許
|
意匠
|
商標
特許ウォッチ
Twitter
他の特許を見る
10個以上の画像は省略されています。
公開番号
2025163570
公報種別
公開特許公報(A)
公開日
2025-10-29
出願番号
2024066977
出願日
2024-04-17
発明の名称
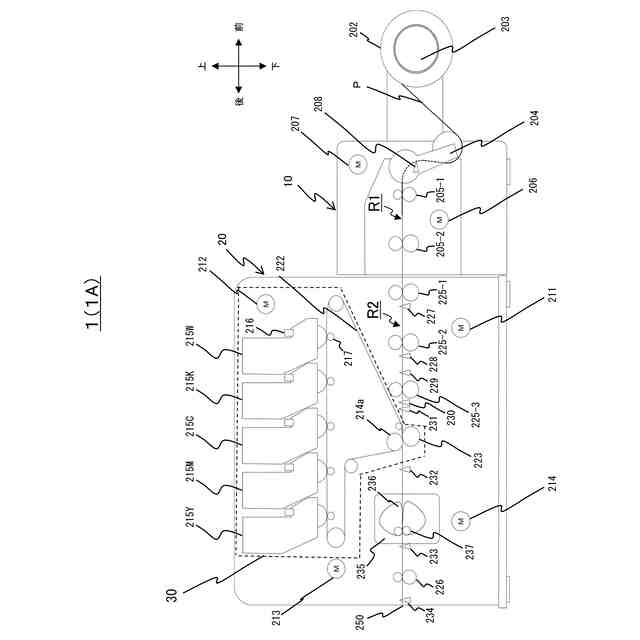
画像形成装置
出願人
沖電気工業株式会社
代理人
個人
,
個人
主分類
G03G
21/00 20060101AFI20251022BHJP(写真;映画;光波以外の波を使用する類似技術;電子写真;ホログラフイ)
要約
【課題】 印刷品質に問題がある印刷ページをリカバリ印刷の対象に追加できる画像形成装置を提供する。
【解決手段】 本開示は、所定間隔を保持して複数のラベルが設けられたロール状媒体を保持するロール状媒体保持手段と、保持するロール状媒体から引き出された連続紙の有無を検知する連続紙検知手段と、連続紙上の各ラベルのラベル間隔を検知する第1のセンサと、第1のセンサで検知した各ラベル間隔のデータを、各ラベル間隔を検知したタイミングで定着部を通過した印刷ページの識別情報と共に記録し、ロール状媒体の終端に達し、連続紙検知手段が連続紙を検知しなくなってから所定量搬送した分の各ラベル間隔の変動を判定する第1のセンサ制御手段と、変動があったラベル間隔と対応して記録した印刷ページの次ページ以降をリカバリ印刷の対象とする画像形成制御手段とを有する。
【選択図】 図1
特許請求の範囲
【請求項1】
所定間隔を保持して複数のラベルが設けられたロール状媒体を保持するロール状媒体保持手段と、
前記ロール状媒体保持手段で保持する前記ロール状媒体から引き出された連続紙の有無を検知する連続紙検知手段と、
前記連続紙上の各ラベルの所定間隔であるラベル間隔を検知する第1のセンサと、
前記第1のセンサで検知した前記各ラベル間隔のデータを、前記各ラベル間隔を検知したタイミングで定着部を通過した印刷ページの識別情報と共に記録し、前記ロール状媒体の終端に達し、前記連続紙検知手段が前記連続紙を検知しなくなってから所定量搬送した分の前記各ラベル間隔の変動を判定する第1のセンサ制御手段と、
前記第1のセンサ制御手段で変動があったラベル間隔と対応して記録した印刷ページの次ページ以降をリカバリ印刷の対象とする画像形成制御手段と
を有することを特徴とする画像形成装置。
続きを表示(約 680 文字)
【請求項2】
前記画像形成制御手段は、前記第1のセンサ制御手段で変動があったラベル間隔と対応して記録した印刷ページの次ページ以降を、リカバリ印刷の対象に含めるか否かをユーザに選択させることを特徴とする請求項1に記載の画像形成装置。
【請求項3】
前記第1のセンサは、前記ラベル間隔の代わりにラベル長を検知し、
前記第1のセンサ制御手段は、
前記第1のセンサで検知した前記各ラベル長のデータを、前記各ラベル長を検知したタイミングで定着部を通過した印刷ページの識別情報と共に記録し、
前記ラベル間隔の代わりに前記各ラベル長の変動を判定する
ことを特徴とする請求項1又は2に記載の画像形成装置。
【請求項4】
前記ロール状媒体の裏面にはブラックマークが施してあり、
前記連続紙上の各ブラックマークの所定間隔であるブラックマーク間隔を検知する第2のセンサと、
前記第2のセンサで検知した前記各ブラックマーク間隔のデータを、前記各ブラックマーク間隔を検知したタイミングで定着部を通過した印刷ページの識別情報と共に記録し、前記ロール状媒体の終端に達し、前記連続紙検知手段が前記連続紙を検知しなくなってから所定量搬送した分の前記各ラベル間隔の変動を判定する第2のセンサ制御手段と、
前記画像形成制御手段は、前記第2のセンサ制御手段で変動があったブラックマーク間隔と対応して記録した印刷ページの次ページ以降をリカバリ印刷の対象とする
ことを特徴とする請求項1に記載の画像形成装置。
発明の詳細な説明
【技術分野】
【0001】
本開示は、画像形成装置に関し、例えば、ダイカットラベル等の長尺状の媒体(ロール紙)に印刷を行うプリンタ等の画像形成装置に適用し得る。
続きを表示(約 1,300 文字)
【背景技術】
【0002】
従来、プリンタ等のロール紙を扱う画像形成装置では、印刷を行う本体にロール紙を供給するロール紙フィーダーユニットを備える構成が知られている(特許文献1等)。
【0003】
図13(A)では、従来のロール紙フィーダーユニットの概略構成を示している。図13(A)に示すように、ロール紙フィーダーユニット2は、ロール紙UにバックテンションTを付与するテンションバーBと、ロール紙Uを中心に回転可能なロール紙フォルダーFとを有する。
【0004】
このロール紙フィーダーユニット2では、ロール紙Uに十分な残量があり芯に巻き付いている場合、ロール紙フォルダーFが巻き取り方向Aに回転することによって、ロール紙Uとの当接部であるテンションバーBからバックテンションTが付与される。
【0005】
ただし、図13(B)に示すようにロール紙Uの終端に到達して芯から外れてしまった場合、ロール紙UがテンションバーBと当接せずにバックテンションTを付与することができなくなってしまう。このとき、バックテンションTがかからなくなったことによってロール紙Uの搬送速度が上昇し、画伸びが発生することが考えられる。また、ロール紙終端が芯にテープ止めされていた場合、テープが外れるまで搬送が一時停止して画縮みが発生することも考えられる。
【先行技術文献】
【特許文献】
【0006】
特開2018-69521号公報
【発明の概要】
【発明が解決しようとする課題】
【0007】
しかしながら、従来の画像形成装置ではロール紙の用紙切れを検出するまでロール紙の終端到達を検知できずに、ロール紙へバックテンションが付与されなくなった後も印刷を継続してしまっていた。
【0008】
このため、上述の印刷品質に問題があるページが印刷完了ページとなり、リカバリ印刷の対象から外れてしまう問題が生じていた。
【0009】
そのため、印刷品質に問題がある印刷ページをリカバリ印刷の対象に追加することができる画像形成装置が望まれている。
【課題を解決するための手段】
【0010】
本開示は、所定間隔を保持して複数のラベルが設けられたロール状媒体を保持するロール状媒体保持手段と、前記ロール状媒体保持手段で保持する前記ロール状媒体から引き出された連続紙の有無を検知する連続紙検知手段と、前記連続紙上の各ラベルの所定間隔であるラベル間隔を検知する第1のセンサと、前記第1のセンサで検知した前記各ラベル間隔のデータを、前記各ラベル間隔を検知したタイミングで定着部を通過した印刷ページの識別情報と共に記録し、前記ロール状媒体の終端に達し、前記連続紙検知手段が前記連続紙を検知しなくなってから所定量搬送した分の前記各ラベル間隔の変動を判定する第1のセンサ制御手段と、前記第1のセンサ制御手段で変動があったラベル間隔と対応して記録した印刷ページの次ページ以降をリカバリ印刷の対象とする画像形成制御手段とを有する。
【発明の効果】
(【0011】以降は省略されています)
この特許をJ-PlatPat(特許庁公式サイト)で参照する
関連特許
他の特許を見る