TOP
|
特許
|
意匠
|
商標
特許ウォッチ
Twitter
他の特許を見る
公開番号
2025165610
公報種別
公開特許公報(A)
公開日
2025-11-05
出願番号
2024069759
出願日
2024-04-23
発明の名称
情報処理システム、情報処理方法およびプログラム
出願人
沖電気工業株式会社
代理人
個人
,
個人
,
個人
主分類
G06F
16/9032 20190101AFI20251028BHJP(計算;計数)
要約
【課題】対象者にとって価値のあるメッセージを配信することが可能な技術を提供する。
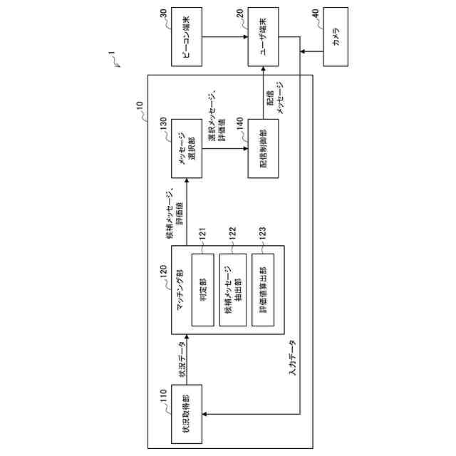
【解決手段】あらかじめ登録された複数の登録情報と、前記複数の登録情報それぞれに対応付けられた状況データおよび条件とに基づいて、前記複数の登録情報それぞれに関して前記状況データが前記条件に適合するか否かを判定する判定部と、前記条件に適合する前記状況データに対応付けられた1または複数の登録情報それぞれを候補情報として抽出する候補情報抽出部と、前記候補情報に基づいて、前記候補情報それぞれがどの程度選択されやすいかを示す評価値を算出する評価値算出部と、前記評価値に基づいて前記候補情報から1または複数の選択情報を選択する情報選択部と、前記選択情報の配信を制御する配信制御部と、を備える、情報処理システムが提供される。
【選択図】図1
特許請求の範囲
【請求項1】
あらかじめ登録された複数の登録情報と、前記複数の登録情報それぞれに対応付けられた状況データおよび条件とに基づいて、前記複数の登録情報それぞれに関して前記状況データが前記条件に適合するか否かを判定する判定部と、
前記条件に適合する前記状況データに対応付けられた1または複数の登録情報それぞれを候補情報として抽出する候補情報抽出部と、
前記候補情報に基づいて、前記候補情報それぞれがどの程度選択されやすいかを示す評価値を算出する評価値算出部と、
前記評価値に基づいて前記候補情報から1または複数の選択情報を選択する情報選択部と、
前記選択情報の配信を制御する配信制御部と、
を備える、情報処理システム。
続きを表示(約 900 文字)
【請求項2】
前記情報選択部は、前記候補情報から、前記評価値が大きい順に所定の数の候補情報を前記選択情報として選択する、
請求項1に記載の情報処理システム。
【請求項3】
前記情報選択部は、前記候補情報から、前記評価値が最も大きい候補情報を前記選択情報として選択する、
請求項2に記載の情報処理システム。
【請求項4】
前記情報選択部は、前記候補情報それぞれの評価値に基づいて、前記候補情報それぞれの選択確率を算出し、前記選択確率に基づいて前記選択情報を選択する、
請求項1に記載の情報処理システム。
【請求項5】
前記情報選択部は、前記評価値が大きいほど、前記選択確率を大きく算出する、
請求項4に記載の情報処理システム。
【請求項6】
前記評価値算出部は、
前記候補情報それぞれに関して、前記条件に適合するか否かが判定された前記状況データに基づいて、前記評価値を算出する、
請求項1に記載の情報処理システム。
【請求項7】
前記評価値算出部は、
前記候補情報それぞれに関して、前記条件に適合するか否かが判定された前記状況データの数を前記評価値として算出する、
請求項6に記載の情報処理システム。
【請求項8】
前記評価値算出部は、
前記候補情報それぞれに関して、前記条件に適合するか否かが判定された前記状況データに対応付けられた重みの総和または積を前記評価値として算出する、
請求項6に記載の情報処理システム。
【請求項9】
前記重みは、前記重みに対応する前記状況データの計算に用いられるデータ数が多いほど、大きく設定されている、
請求項8に記載の情報処理システム。
【請求項10】
前記重みは、前記重みに対応する前記状況データの計算に用いられるデータの時間幅が大きいほど、大きく設定されている、
請求項8に記載の情報処理システム。
(【請求項11】以降は省略されています)
発明の詳細な説明
【技術分野】
【0001】
本発明は、情報処理システム、情報処理方法およびプログラムに関する。
続きを表示(約 1,600 文字)
【背景技術】
【0002】
近年、対象者の行動の変化または意識の変化を促す方法として、対象者が携帯する端末または施設に備え付けられた端末にメッセージを配信する方法がある。例えば、対象者の意識は、健康に対する意識または購買に対する意識などである。対象者の行動は、健康な心身を得るための行動または購買行動などである。
【0003】
対象者の行動または意識の変化を促すためには、対象者が現在の時間または場所において実施しやすい内容がメッセージに含まれるという条件が満たされること(すなわち、「機会」があること)、メッセージの内容がユーザ自身の関心の程度に合っているという条件が満たされること(すなわち、「動機」があること)、メッセージの内容がユーザの自信の程度に合っているという条件が満たされること(すなわち、「能力」があること)が必要である。
【0004】
そして、これらの条件が満たされるように、行動のきっかけを与えるためのメッセージ、行動実施を賞賛するメッセージ、または、行動に関するリテラシーを高める知識を与えるためのメッセージを配信することが望ましい。メッセージの配信が望ましい状況として、対象者の状況がメッセージを閲覧しやすい状況であること、または、現在の作業に対する新たな作業の割り込みに耐えられる状況にあることも重要な要素である。
【0005】
特許文献1には、有効期限が設定されたメッセージを用意する技術が開示されている。かかる技術においては、対象者の行動データに基づいて対象者がメッセージを閲覧しやすいタイミングを検出したときに、そのタイミングが有効期限前であれば対象者にメッセージを配信する。
【先行技術文献】
【特許文献】
【0006】
特開2019-164736号公報
【発明の概要】
【発明が解決しようとする課題】
【0007】
メッセージに有効期限を設定する技術は、対象者に配信されるのが望ましいと判断されたメッセージが同じタイミングに1つしか存在しない場合などには有効である。しかし、対象者に配信されるのが望ましいと判断されたメッセージが同じタイミングに複数存在する場合などには、複数のメッセージの中のどのメッセージを優先して対象者に配信すればよいかを判断するのが困難である。
【0008】
例えば、メッセージに有効期限を設定する技術では、複数のメッセージを短時間で配信する必要がある場合などには、その短時間の中で対象者にとって価値のあるメッセージを提供することができない可能性がある。その結果として、対象者がメッセージの配信に対して煩わしさを感じ、メッセージの配信サービスの利用から離脱してしまう可能性もある。
【0009】
そこで、本発明は、上記問題に鑑みてなされたものであり、本発明の目的とするところは、対象者にとって価値のあるメッセージを配信することが可能な技術を提供することにある。
【課題を解決するための手段】
【0010】
上記課題を解決するために、本発明のある観点によれば、あらかじめ登録された複数の登録情報と、前記複数の登録情報それぞれに対応付けられた状況データおよび条件とに基づいて、前記複数の登録情報それぞれに関して前記状況データが前記条件に適合するか否かを判定する判定部と、前記条件に適合する前記状況データに対応付けられた1または複数の登録情報それぞれを候補情報として抽出する候補情報抽出部と、前記候補情報に基づいて、前記候補情報それぞれがどの程度選択されやすいかを示す評価値を算出する評価値算出部と、前記評価値に基づいて前記候補情報から1または複数の選択情報を選択する情報選択部と、前記選択情報の配信を制御する配信制御部と、を備える、情報処理システムが提供される。
(【0011】以降は省略されています)
この特許をJ-PlatPat(特許庁公式サイト)で参照する
関連特許
沖電気工業株式会社
画像形成装置
1か月前
沖電気工業株式会社
媒体処理装置
1か月前
沖電気工業株式会社
画像形成装置
2日前
沖電気工業株式会社
画像形成装置
1か月前
沖電気工業株式会社
画像形成装置
1か月前
沖電気工業株式会社
画像形成装置
1日前
沖電気工業株式会社
処理システム
1か月前
沖電気工業株式会社
画像形成装置
1か月前
沖電気工業株式会社
定着装置及び画像形成装置
1か月前
沖電気工業株式会社
定着装置及び画像形成装置
1か月前
沖電気工業株式会社
処理装置および処理システム
22日前
沖電気工業株式会社
紙葉類取扱装置及び現金処理装置
1か月前
沖電気工業株式会社
画像形成装置および媒体種別報知方法
23日前
沖電気工業株式会社
通信装置、通信方法、及び通信プログラム
1か月前
沖電気工業株式会社
画像形成装置、画像形成媒体及び画像形成方法
1日前
沖電気工業株式会社
情報処理装置、情報処理方法およびプログラム
9日前
沖電気工業株式会社
情報処理システム、情報処理方法およびプログラム
24日前
沖電気工業株式会社
情報処理装置、情報処理方法、及び情報処理システム
1か月前
沖電気工業株式会社
現像剤収容体、画像形成ユニットおよび画像形成装置
1か月前
沖電気工業株式会社
情報処理方法、情報処理プログラム及び情報処理システム
1日前
沖電気工業株式会社
画像形成装置、画像形成システム、状態提示方法、及び状態提示プログラム
1か月前
沖電気工業株式会社
情報処理装置、情報処理プログラム、情報処理方法、及び情報処理システム
22日前
沖電気工業株式会社
情報処理方法、情報処理プログラム、及び情報処理装置
22日前
個人
詐欺保険
1か月前
個人
縁伊達ポイン
1か月前
個人
RFタグシート
1か月前
個人
職業自動販売機
15日前
個人
5掛けポイント
22日前
個人
ペルソナ認証方式
1か月前
個人
QRコードの彩色
1か月前
個人
地球保全システム
1か月前
個人
自動調理装置
1か月前
個人
情報処理装置
25日前
個人
残土処理システム
1か月前
個人
表変換編集支援システム
2か月前
個人
農作物用途分配システム
1か月前
続きを見る
他の特許を見る