TOP
|
特許
|
意匠
|
商標
特許ウォッチ
Twitter
他の特許を見る
10個以上の画像は省略されています。
公開番号
2025167491
公報種別
公開特許公報(A)
公開日
2025-11-07
出願番号
2024072148
出願日
2024-04-26
発明の名称
処理装置および処理システム
出願人
沖電気工業株式会社
代理人
個人
,
個人
,
個人
主分類
G07B
15/00 20110101AFI20251030BHJP(チェック装置)
要約
【課題】簡易な構成によりパークアンドライドを促進することを可能にする技術が提供されることが望まれる。
【解決手段】駐車場に車両を駐車した利用者に関する情報である利用者情報を取得する情報取得部と、前記利用者情報を指定するための指定操作が入力されたこと、および、交通機関を利用するための利用操作が入力されたことに基づいて、駐車料金の割引に関する割引情報の送信を制御する送信制御部と、を備える、処理装置が提供される。
【選択図】図1
特許請求の範囲
【請求項1】
駐車場に車両を駐車した利用者に関する情報である利用者情報を取得する情報取得部と、
前記利用者情報を指定するための指定操作が入力されたこと、および、交通機関を利用するための利用操作が入力されたことに基づいて、駐車料金の割引に関する割引情報の送信を制御する送信制御部と、
を備える、処理装置。
続きを表示(約 1,000 文字)
【請求項2】
前記利用者情報は、前記車両を特定するための情報である車両情報を含む、
請求項1に記載の処理装置。
【請求項3】
前記指定操作は、前記駐車場への前記車両の入場時刻の入力操作を含む、
請求項2に記載の処理装置。
【請求項4】
前記指定操作は、前記車両の少なくとも一部が撮像されて得られた車両画像から認識された車番の入力操作を含む、
請求項2に記載の処理装置。
【請求項5】
前記指定操作は、前記車両の少なくとも一部が撮像されて得られた車両画像の選択操作を含む、
請求項2に記載の処理装置。
【請求項6】
前記指定操作は、前記駐車場における前記車両の駐車位置を示す駐車位置情報の入力操作を含む、
請求項2に記載の処理装置。
【請求項7】
前記利用者情報は、前記利用者が所持するICカードから読取部によって読み取られた識別情報を含む、
請求項1に記載の処理装置。
【請求項8】
処理装置と精算機とを備える、処理システムであって、
前記処理装置は、
駐車場に車両を駐車した利用者に関する情報である利用者情報を取得する情報取得部と、
前記利用者情報を指定する指定操作が入力されたこと、および、交通機関を利用するための利用操作が入力されたことに基づいて、駐車料金の割引に関する割引情報の送信を制御する送信制御部と、
を備え、
前記精算機は、
前記割引情報を受信し、前記割引情報に応じた割引料金を表示する、
処理システム。
【請求項9】
前記処理システムは、サーバを備え、
前記送信制御部は、前記割引情報の前記サーバへの送信を制御し、
前記サーバは、前記処理装置から前記割引情報を受信し、
前記精算機は、前記利用者情報を指定する指定操作が入力されたことに基づいて、前記サーバから前記割引情報を受信する、
請求項8に記載の処理システム。
【請求項10】
利用者が駐車場に車両を駐車したときに発行される媒体が挿入される媒体挿入口と、
前記媒体が前記媒体挿入口から挿入されたこと、および、交通機関を利用するための操作が入力されたことに基づいて、駐車料金の割引に関する割引情報の、前記媒体への書き込みを制御する制御部と、
を備える、処理装置。
発明の詳細な説明
【技術分野】
【0001】
本発明は、処理装置および処理システムに関する。
続きを表示(約 1,000 文字)
【背景技術】
【0002】
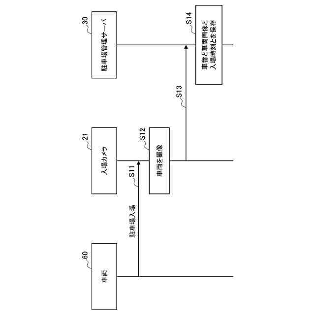
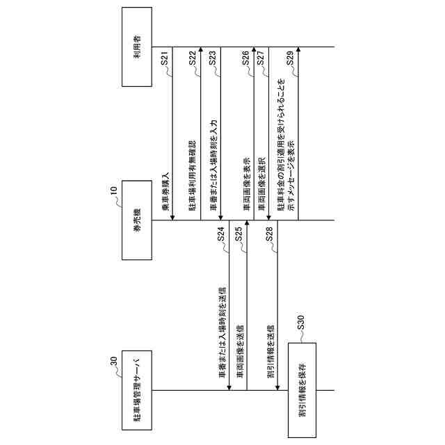
近年、利用者が郊外の駐車場までは車両を利用して移動し、駐車場に車両を駐車してからは交通機関を利用して目的地まで移動すること(以下、「パークアンドライド」とも言う。)が注目されている。パークアンドライドが促進されることによって、都市部の交通渋滞が緩和されたり、都市部の環境問題が低減されたりすることが期待される。そのため、利用者によるパークアンドライドを促進するための各種技術が知られている。
【0003】
例えば、特許文献1には、利用者のIC(Integrated Circuit)カードから読み取った交通機関の乗降データに基づいて、交通機関の利用の有無を判定し、交通機関の利用が有ると判定した場合に、駐車料金から所定の金額を割り引いた割引適用後の駐車料金を利用者に請求する駐車場精算機に関する技術が開示されている。
【先行技術文献】
【特許文献】
【0004】
特開2011-28565号公報
【発明の概要】
【発明が解決しようとする課題】
【0005】
しかし、利用者のICカードから読み取った交通機関の乗降データに基づいて、交通機関の利用の有無を判定する構成が精算機に組み込まれる必要があるとすると、駐車場精算機の構成が複雑になってしまう。そこで、簡易な構成によりパークアンドライドを促進することが望まれる。
【0006】
そこで、簡易な構成によりパークアンドライドを促進することを可能にする技術が提供されることが望まれる。
【課題を解決するための手段】
【0007】
上記課題を解決するために、本発明のある観点によれば、駐車場に車両を駐車した利用者に関する情報である利用者情報を取得する情報取得部と、前記利用者情報を指定するための指定操作が入力されたこと、および、交通機関を利用するための利用操作が入力されたことに基づいて、駐車料金の割引に関する割引情報の送信を制御する送信制御部と、を備える、処理装置が提供される。
【0008】
前記利用者情報は、前記車両を特定するための情報である車両情報を含んでもよい。
【0009】
前記指定操作は、前記駐車場への前記車両の入場時刻の入力操作を含んでもよい。
【0010】
前記指定操作は、前記車両の少なくとも一部が撮像されて得られた車両画像から認識された車番の入力操作を含んでもよい。
(【0011】以降は省略されています)
この特許をJ-PlatPat(特許庁公式サイト)で参照する
関連特許
沖電気工業株式会社
画像形成装置
1日前
沖電気工業株式会社
画像形成装置
2日前
沖電気工業株式会社
画像形成装置
1か月前
沖電気工業株式会社
画像形成装置
1か月前
沖電気工業株式会社
媒体処理装置
1か月前
沖電気工業株式会社
画像形成装置
1か月前
沖電気工業株式会社
画像形成装置
1か月前
沖電気工業株式会社
処理システム
1か月前
沖電気工業株式会社
定着装置及び画像形成装置
1か月前
沖電気工業株式会社
定着装置及び画像形成装置
1か月前
沖電気工業株式会社
処理装置および処理システム
22日前
沖電気工業株式会社
電源制御装置及び画像形成装置
1か月前
沖電気工業株式会社
紙葉類取扱装置及び現金処理装置
1か月前
沖電気工業株式会社
画像形成装置および媒体種別報知方法
23日前
沖電気工業株式会社
通信装置、通信方法、及び通信プログラム
1か月前
沖電気工業株式会社
情報処理装置、情報処理方法およびプログラム
9日前
沖電気工業株式会社
画像形成装置、画像形成媒体及び画像形成方法
1日前
沖電気工業株式会社
情報処理装置、情報処理方法、およびプログラム
1か月前
沖電気工業株式会社
情報処理システム、情報処理方法およびプログラム
24日前
沖電気工業株式会社
現像剤収容体、画像形成ユニットおよび画像形成装置
1か月前
沖電気工業株式会社
情報処理装置、情報処理方法、及び情報処理システム
1か月前
沖電気工業株式会社
情報処理方法、情報処理プログラム及び情報処理システム
1日前
沖電気工業株式会社
経路設定装置、経路設定方法、プログラムおよび経路設定システム
1か月前
沖電気工業株式会社
画像形成装置、画像形成システム、状態提示方法、及び状態提示プログラム
1か月前
沖電気工業株式会社
情報処理装置、情報処理プログラム、情報処理方法、及び情報処理システム
22日前
沖電気工業株式会社
情報処理方法、情報処理プログラム、及び情報処理装置
22日前
個人
自動販売機
2日前
株式会社イシダ
商品処理装置
1か月前
株式会社タムラ製作所
自動販売機
17日前
沖電気工業株式会社
媒体処理装置
3か月前
沖電気工業株式会社
媒体処理装置
2か月前
沖電気工業株式会社
施錠開閉装置
1か月前
沖電気工業株式会社
媒体処理装置
3か月前
アサヒ飲料株式会社
遠隔決済方法
22日前
沖電気工業株式会社
紙幣処理装置
3か月前
株式会社ライト
情報処理装置
3か月前
続きを見る
他の特許を見る