TOP
|
特許
|
意匠
|
商標
特許ウォッチ
Twitter
他の特許を見る
10個以上の画像は省略されています。
公開番号
2025163579
公報種別
公開特許公報(A)
公開日
2025-10-29
出願番号
2024066990
出願日
2024-04-17
発明の名称
通信装置、通信方法、及び通信プログラム
出願人
沖電気工業株式会社
代理人
個人
,
個人
,
個人
主分類
H04L
43/028 20220101AFI20251022BHJP(電気通信技術)
要約
【課題】通信機器のMACアドレスが変更された場合であっても、当該通信機器との通信を許可することができる通信装置及び通信方法を提供する。
【解決手段】通信装置(100)は、ネットワーク(300)上に存在する通信機器(200)のMACアドレス及び固有の識別情報をそれぞれ登録MACアドレス及び登録識別情報として記憶する記憶部(120)と、ネットワーク(300)を介して受信した通信パケットに含まれる送信元の通信機器のMACアドレスが登録MACアドレスと一致する場合に、送信元の通信機器との通信を許可する制御部(180)とを有し、制御部(180)は、ネットワーク(300)にブロードキャストで送信された所定の信号を検知したときに、登録識別情報を用いて登録MACアドレスを更新する。
【選択図】図1
特許請求の範囲
【請求項1】
ネットワーク上に存在する通信機器のMACアドレス及び固有の識別情報をそれぞれ登録MACアドレス及び登録識別情報として記憶する記憶部と、
前記ネットワークを介して受信した通信パケットに含まれる送信元の通信機器のMACアドレスが前記登録MACアドレスと一致する場合に、前記送信元の通信機器との通信を許可する制御部と、
を有し、
前記制御部は、前記ネットワークにブロードキャストで送信された所定の信号を検知したときに、前記登録識別情報を用いて前記登録MACアドレスを更新する
ことを特徴とする通信装置。
続きを表示(約 1,200 文字)
【請求項2】
前記所定の信号は、Gratutious Address Resolution Protocolを含む通信パケットである
ことを特徴とする請求項1に記載の通信装置。
【請求項3】
前記制御部は、前記送信元の前記通信機器の前記MACアドレスが前記送信元の前記通信機器によってランダムに変更されるランダムMACアドレスである場合に、前記登録識別情報を用いて前記登録MACアドレスを更新する
ことを特徴とする請求項1又は2に記載の通信装置。
【請求項4】
前記制御部は、前記登録識別情報を用いた要求を前記ネットワークへブロードキャストで送信し、前記要求への応答を受け取ることにより、前記登録MACアドレスを更新する
ことを特徴とする請求項1又は2に記載の通信装置。
【請求項5】
通信装置によって実行される通信方法であって、
ネットワーク上に存在する通信機器のMACアドレス及び固有の識別情報をそれぞれ登録MACアドレス及び登録識別情報として記憶部に記憶させるステップと、
前記ネットワークを介して受信した通信パケットに含まれる送信元の通信機器のMACアドレスが前記登録MACアドレスと一致する場合に、前記送信元の通信機器との通信を許可するステップと、
前記ネットワークにブロードキャストで送信された所定の信号を検知したときに、前記登録識別情報を用いて前記登録MACアドレスを更新するステップと、
を有することを特徴とする通信方法。
【請求項6】
通信装置によって実行される通信方法であって、
ネットワーク上に存在する通信機器のMACアドレス及び固有の識別情報をそれぞれ登録MACアドレス及び登録識別情報として記憶部に記憶させるステップと、
前記ネットワークを介して受信した通信パケットに含まれる送信元の通信機器のMACアドレスと前記登録MACアドレスが一致する否か判定するステップと、
前記通信パケットに含まれる送信元の通信機器のMACアドレスが前記登録MACアドレスと異なる場合に、前記登録MACアドレスを前記送信元の通信機器のMACアドレスへ更新するステップと、
を有することを特徴とする通信方法。
【請求項7】
ネットワーク上に存在する通信機器のMACアドレス及び固有の識別情報をそれぞれ登録MACアドレス及び登録識別情報として記憶部に記憶させるステップと、
前記ネットワークを介して受信した通信パケットに含まれる送信元の通信機器のMACアドレスが前記登録MACアドレスと一致する場合に、前記送信元の通信機器との通信を許可するステップと、
前記ネットワークにブロードキャストで送信された所定の信号を検知したときに、前記登録識別情報を用いて前記登録MACアドレスを更新するステップと、
を通信装置に実行させることを特徴とする通信プログラム。
発明の詳細な説明
【技術分野】
【0001】
本開示は、通信装置、通信方法、及び通信プログラムに関する。
続きを表示(約 2,500 文字)
【背景技術】
【0002】
登録されているMAC(Media Access Control)アドレスである登録MACアドレスを用いてフィルタリングを行うMACアドレスフィルタリング機能を備える通信装置がある(例えば、特許文献1を参照)。この通信装置は、MACアドレスフィルタリング機能によって、登録MACアドレスと同じMACアドレスを持つ通信機器との通信を許可する。
【0003】
また、セキュリティ性能を高めるために、自身のMACアドレスをランダムに変更するMACアドレスランダム化機能を備える通信機器が増加している。
【先行技術文献】
【特許文献】
【0004】
特開2014-127838号公報
【発明の概要】
【発明が解決しようとする課題】
【0005】
しかしながら、通信機器がMACアドレスランダム化機能によってMACアドレスを変更すると、登録MACアドレスと通信機器のMACアドレスとが一致しなくなる。このため、通信装置は、変更後のMACアドレスを持つ通信機器との通信を許可しなくなる。
【0006】
本開示は、通信許可されている通信機器のMACアドレスが変更された場合であっても、当該通信機器との通信を許可することができる通信装置、通信方法、及び通信プログラムを提供することを目的とする。
【課題を解決するための手段】
【0007】
本開示の通信装置は、ネットワーク上に存在する通信機器のMACアドレス及び固有の識別情報をそれぞれ登録MACアドレス及び登録識別情報として記憶する記憶部と、前記ネットワークを介して受信した通信パケットに含まれる送信元の通信機器のMACアドレスが前記登録MACアドレスと一致する場合に、前記送信元の通信機器との通信を許可する制御部と、を有し、前記制御部は、前記ネットワークにブロードキャストで送信された所定の信号を検知したときに、前記登録識別情報を用いて前記登録MACアドレスを更新することを特徴とする。
【0008】
本開示の通信方法は、通信装置によって実行される方法であって、ネットワーク上に存在する通信機器のMACアドレス及び固有の識別情報をそれぞれ登録MACアドレス及び登録識別情報として記憶部に記憶させるステップと、前記ネットワークを介して受信した通信パケットに含まれる送信元の通信機器のMACアドレスが前記登録MACアドレスと一致する場合に、前記送信元の通信機器との通信を許可するステップと、前記ネットワークにブロードキャストで送信された所定の信号を検知したときに、前記登録識別情報を用いて前記登録MACアドレスを更新するステップと、を有することを特徴とする。
【発明の効果】
【0009】
本開示の通信装置又は通信方法によれば、通信許可されている通信機器のMACアドレスが変更された場合であっても、当該通信機器との通信を許可することができる。
【図面の簡単な説明】
【0010】
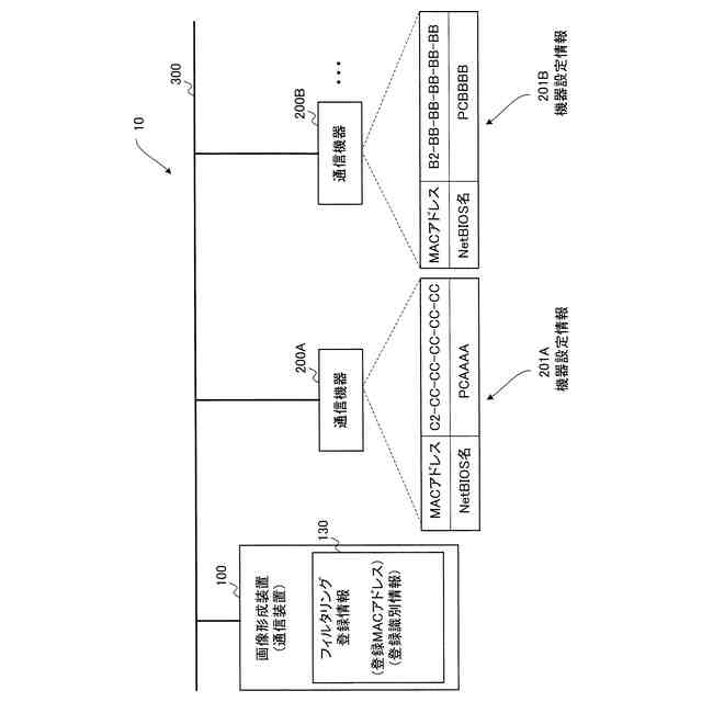
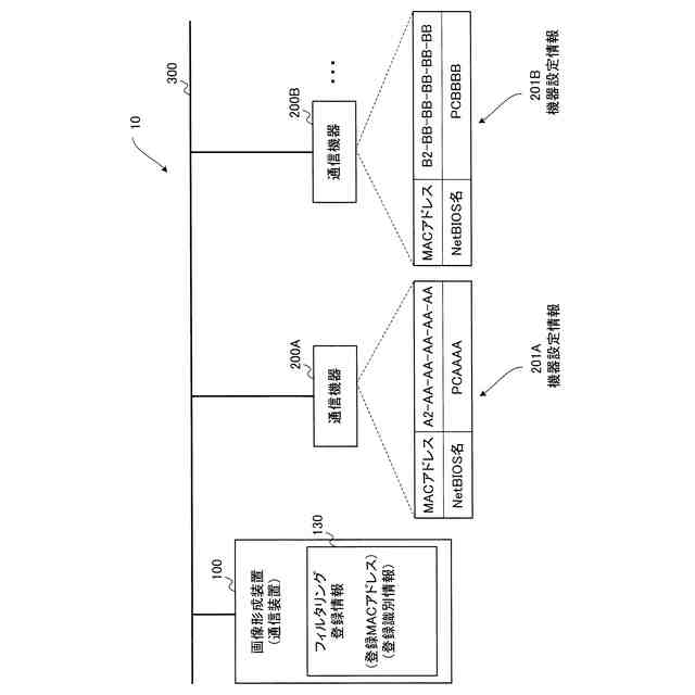
実施の形態1及び2に係る画像形成装置(通信装置)と通信機器とを含む通信システムの構成を示すブロック図である。
実施の形態1及び2に係る画像形成装置の構成を概略的に示すブロック図である。
実施の形態1及び2に係る画像形成装置の記憶部に記憶されるフィルタリング登録情報(登録MACアドレスと登録識別情報とを含む)の例を示す図である。
図1に示される通信機器の構成を概略的に示すブロック図である。
ネットワークから通信パケットを受信した画像形成装置の通信部と制御部の処理を示す図である。
(A)及び(B)は、実施の形態1及び2に係る画像形成装置のハードウェア構成の例を示す図である。
実施の形態1及び2に係る画像形成装置の表示部に表示される通知画面の例を示す図である。
図1の通信システムの通信機器のMACアドレスがMACアドレスランダム化機能によって変更された状況を示すブロック図である。
図5のMACフィルタ処理部によって実行される処理(IP通信処理部が通信パケットをMACフィルタ処理部に受け渡したときの処理)を示すフローチャートである。
MACアドレスランダム化機能によって生成されたMACアドレスの仕様を示す図である。
図5のMACフィルタ処理アプリケーションによって実行される処理を示すフローチャートである。
図5のMACフィルタ処理部によって実行される処理(IP通信処理部が通信パケットをMACフィルタ処理部に受け渡したときの処理)を示すフローチャートである。
通信パケットの構造を示す概略図である。
図5のMACフィルタ処理アプリケーションによって実行される処理(ソケットからMACフィルタ処理アプリケーションに通信パケットを受け渡したときの処理)を示すフローチャートである。
実施の形態1及び2に係る画像形成装置の記憶部に記憶されるフィルタリング登録情報(登録MACアドレスと登録識別情報とを含む)の例を示す概略図である。
通信機器のMACアドレスがランダムに変更された後に画像形成装置に印刷要求をした際の、通信機器と画像形成装置との動作を示すシーケンス図である。
実施の形態2に係る画像形成装置(通信装置)において、MACフィルタ処理部によって実行される処理(IP通信処理部が通信パケットをMACフィルタ処理部に受け渡したときの処理)を示すフローチャートである。
実施の形態2に係る画像形成装置(通信装置)と通信機器との動作(通信機器のMACアドレスがランダムに変更された後の動作)を示すシーケンス図である。
実施の形態2に係る画像形成装置(通信装置)と通信機器との動作(UDPを使用したSNMPによる設定値取得要求を受け取った場合の動作)を示すシーケンス図である。
【発明を実施するための形態】
(【0011】以降は省略されています)
この特許をJ-PlatPat(特許庁公式サイト)で参照する
関連特許
沖電気工業株式会社
媒体処理装置
21日前
沖電気工業株式会社
処理システム
21日前
沖電気工業株式会社
画像形成装置
21日前
沖電気工業株式会社
画像形成装置
22日前
沖電気工業株式会社
画像形成装置
23日前
沖電気工業株式会社
定着装置及び画像形成装置
21日前
沖電気工業株式会社
処理装置および処理システム
13日前
沖電気工業株式会社
画像形成装置および媒体種別報知方法
14日前
沖電気工業株式会社
通信装置、通信方法、及び通信プログラム
22日前
沖電気工業株式会社
情報処理装置、情報処理方法およびプログラム
今日
沖電気工業株式会社
情報処理システム、情報処理方法およびプログラム
15日前
沖電気工業株式会社
現像剤収容体、画像形成ユニットおよび画像形成装置
21日前
沖電気工業株式会社
情報処理装置、情報処理方法、及び情報処理システム
21日前
沖電気工業株式会社
情報処理装置、情報処理プログラム、情報処理方法、及び情報処理システム
13日前
沖電気工業株式会社
画像形成装置、画像形成システム、状態提示方法、及び状態提示プログラム
21日前
沖電気工業株式会社
情報処理方法、情報処理プログラム、及び情報処理装置
13日前
個人
イヤーピース
13日前
個人
イヤーマフ
27日前
個人
監視カメラシステム
1か月前
キーコム株式会社
光伝送線路
1か月前
個人
スイッチシステム
21日前
WHISMR合同会社
収音装置
2か月前
個人
スキャン式車載用撮像装置
1か月前
サクサ株式会社
中継装置
1か月前
サクサ株式会社
中継装置
1か月前
アイホン株式会社
電気機器
2か月前
キヤノン株式会社
撮像装置
2か月前
株式会社リコー
画像形成装置
29日前
キヤノン電子株式会社
画像読取装置
21日前
キヤノン電子株式会社
画像読取装置
2か月前
ヤマハ株式会社
放音制御装置
21日前
個人
映像表示装置、及びARグラス
22日前
サクサ株式会社
無線通信装置
1か月前
サクサ株式会社
無線システム
1か月前
株式会社リコー
画像形成装置
2か月前
キヤノン電子株式会社
画像読取装置
1か月前
続きを見る
他の特許を見る