TOP
|
特許
|
意匠
|
商標
特許ウォッチ
Twitter
他の特許を見る
公開番号
2025167573
公報種別
公開特許公報(A)
公開日
2025-11-07
出願番号
2024072334
出願日
2024-04-26
発明の名称
媒体搬送装置及び記録装置
出願人
セイコーエプソン株式会社
代理人
個人
,
個人
,
個人
主分類
B65H
20/02 20060101AFI20251030BHJP(運搬;包装;貯蔵;薄板状または線条材料の取扱い)
要約
【課題】偏荷重による皺の発生を抑制する。
【解決手段】媒体搬送装置は、布帛を繰り出す繰出し部と、布帛に搬送方向への送り力を付与する主ローラーと、主ローラーとの対で布帛を挟持した状態で軸の回りに回転し、主ローラーの長手方向(X軸方向)に沿って互いに間隔を持って順に並ぶ3つ以上の複数の副ローラー161,162,163と、軸を支持する支持ユニットと、副ローラーを主ローラーに対して押し付ける押付力Pを発生する押付力発生部とを備える。押付力発生部は、各副ローラーの主ローラーに対する各押付力P1,P2,P3が一様になる方向に調整する調整部によって各押付力P1,P2,P3を発生する。
【選択図】図4
特許請求の範囲
【請求項1】
布帛を繰り出す繰出し部と、
前記布帛に搬送方向への送り力を付与する主ローラーと、
前記主ローラーとの対で前記布帛を挟持した状態で軸の回りに回転し、前記主ローラーの長手方向に沿って互いに間隔を持って順に並ぶ3つ以上の複数の副ローラーと、
前記軸を支持する支持ユニットと、
前記副ローラーを前記主ローラーに対して押し付ける押付力を発生する押付力発生部と、を備え、
前記押付力発生部は、前記各副ローラーの前記主ローラーに対する前記各押付力が一様になる方向に調整する調整部によって前記各押付力を発生する、
ことを特徴とする媒体搬送装置。
続きを表示(約 1,400 文字)
【請求項2】
請求項1に記載の媒体搬送装置において、
前記支持ユニットは、前記軸を固定状態で支持し、且つ揺動可能であり、
前記調整部は、
前記支持ユニットに対して前記揺動の方向に弾性力を加える弾性部材を備え、
前記弾性部材によって前記各押付力を発生する、
ことを特徴とする媒体搬送装置。
【請求項3】
請求項2に記載の媒体搬送装置において、
前記複数の副ローラーは、
軸がそれぞれ独立しており、
前記各軸は独立して前記支持ユニットに固定されている、
ことを特徴とする媒体搬送装置。
【請求項4】
請求項1に記載の媒体搬送装置において、
前記複数の副ローラーは、共通の軸に取り付けられ、
前記軸は、前記支持ユニットに前記押付力の方向に移動可能に支持され、
前記調整部は、
前記軸における各副ローラーの間の部分を同じ押圧力で押圧する複数の押圧部を備え、
前記複数の副ローラーの内の前記軸の両端部に位置するものを第1重量の各端位置副ローラーとし、前記各端位置副ローラーの間に位置するものを前記第1重量より軽い第2重量の間位置副ローラーとし、
前記同じ押圧力と、前記第1重量と前記第2重量の重量差によって前記各押付力を発生する、
ことを特徴とする媒体搬送装置。
【請求項5】
請求項1に記載の媒体搬送装置において、
前記複数の副ローラーは、共通の軸に取り付けられ、
前記軸は、前記支持ユニットに前記押付力の方向に移動可能に支持され、
前記調整部は、
前記軸における各副ローラーの間の部分を同じ押圧力で押圧する複数の押圧部を備え、
前記複数の副ローラーの内の前記軸の両端部に位置するものを第1硬度の各端位置副ローラーとし、前記各端位置副ローラーの間に位置するものを前記第1硬度より低い第2硬度の間位置副ローラーとし、
前記同じ押圧力と、前記第1硬度と前記第2硬度の硬度差によって前記各押付力を発生する、
ことを特徴とする媒体搬送装置。
【請求項6】
請求項1に記載の媒体搬送装置において、
前記搬送方向に搬送される前記布帛を巻き取る巻取り部と、
前記繰出し部と前記巻取り部との間の位置に配置され、搬送される前記布帛に処理を施す処理部と、を備え、
前記副ローラーは、前記搬送方向における前記繰出し部と前記処理部との間の位置に配置される、
ことを特徴とする媒体搬送装置。
【請求項7】
布帛を繰り出す繰出し部と、
前記布帛に搬送方向への送り力を付与する主ローラーと、
前記主ローラーとの対で前記布帛を挟持した状態で軸の回りに回転し、前記主ローラーの長手方向に沿って互いに間隔を持って順に並ぶ3つ以上の複数の副ローラーと、
前記軸を支持する支持ユニットと、
前記副ローラーを前記主ローラーに対して押し付ける押付力を発生する押付力発生部と、
搬送される前記布帛に記録を実行する記録部と、を備え、
前記押付力発生部は、前記各副ローラーの前記主ローラーに対する前記各押付力が一様になる方向に調整する調整部によって前記各押付力を発生する、
ことを特徴とする記録装置。
発明の詳細な説明
【技術分野】
【0001】
本発明は、媒体搬送装置及び記録装置に関する。
続きを表示(約 2,200 文字)
【背景技術】
【0002】
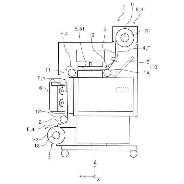
この種の装置の一例として、特許文献1に記載の記録装置が挙げられる。特許文献1には、次のことが記載されている。
紙案内上ユニットには、3つの従動ローラーが保持されている。その3つの従動ローラーの軸体は、両側の軸端部において軸受部を介してコイルばねの弾性力を受け、中間部位において更にコイルばねの弾性力を直接受ける。
【先行技術文献】
【特許文献】
【0003】
特開2008-44272号公報
【発明の概要】
【発明が解決しようとする課題】
【0004】
3つの内の中央の従動ローラーには、両側のコイルばねの両方の弾性力が作用するため、左右両端に位置する各従動ローラーよりもかかる荷重が大きくなってしまう。前記中央と前記左右の各従動ローラーで荷重差が生じると、偏荷重となり、ユニット内や隣接するユニットとの搬送力に差が発生する。
媒体が例えば紙のような平面的な組織構造となっている場合は、このような搬送力差があっても変形しにくい。しかし、媒体が例えば布帛のような、糸を織ったり編んだりして構成される立体的な組織構造となっている場合は、搬送力差により布帛の伸縮や変形が生じ皺が発生しやすい。即ち、各従動ローラーの前記偏荷重による前記皺の発生を抑制することにおいて改善の余地がある。
【課題を解決するための手段】
【0005】
上記課題を解決するため、本発明に係る媒体搬送装置は、布帛を繰り出す繰出し部と、前記布帛に搬送方向への送り力を付与する主ローラーと、前記主ローラーとの対で前記布帛を挟持した状態で軸の回りに回転し、前記主ローラーの長手方向に沿って互いに間隔を持って順に並ぶ3つ以上の複数の副ローラーと、前記軸を支持する支持ユニットと、前記副ローラーを前記主ローラーに対して押し付ける押付力を発生する押付力発生部と、を備え、前記押付力発生部は、前記各副ローラーの前記主ローラーに対する前記各押付力が一様になる方向に調整する調整部によって前記各押付力を発生することを特徴とする。
【0006】
また、本発明に係る記録装置は、布帛を繰り出す繰出し部と、前記布帛に搬送方向への送り力を付与する主ローラーと、前記主ローラーとの対で前記布帛を挟持した状態で軸の回りに回転し、前記主ローラーの長手方向に沿って互いに間隔を持って順に並ぶ3つ以上の複数の副ローラーと、前記軸を支持する支持ユニットと、前記副ローラーを前記主ローラーに対して押し付ける押付力を発生する押付力発生部と、搬送される前記媒体に記録を実行する記録部と、を備え、前記押付力発生部は、前記各副ローラーの前記主ローラーに対する前記各押付力が一様になる方向に調整する調整部によって前記各押付力を発生することを特徴とする。
【図面の簡単な説明】
【0007】
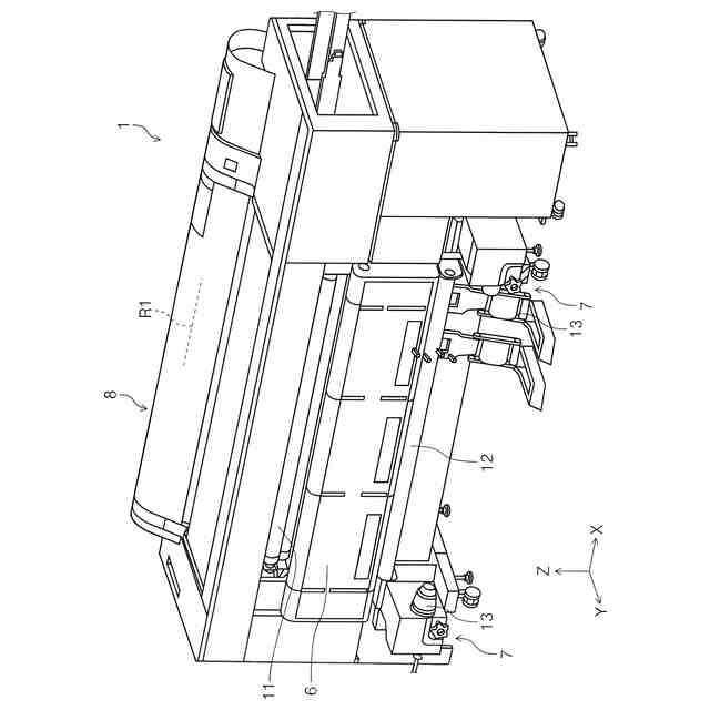
実施形態1に係る記録装置の斜視図。
実施形態1の記録装置の概略側面図。
実施形態1の媒体搬送装置の要部斜視図。
実施形態1の要部拡大斜視図。
実施形態1の要部拡大正面図。
実施形態2の要部拡大斜視図。
実施形態2と実施形態3の要部拡大正面図。
【発明を実施するための形態】
【0008】
以下、本発明について先ず概略的に説明する。
本発明の第1の態様に係る媒体搬送装置は、布帛を繰り出す繰出し部と、前記布帛に搬送方向への送り力を付与する主ローラーと、前記主ローラーとの対で前記布帛を挟持した状態で軸の回りに回転し、前記主ローラーの長手方向に沿って互いに間隔を持って順に並ぶ3つ以上の複数の副ローラーと、前記軸を支持する支持ユニットと、前記副ローラーを前記主ローラーに対して押し付ける押付力を発生する押付力発生部と、を備え、前記押付力発生部は、前記各副ローラーの前記主ローラーに対する前記各押付力が一様になる方向に調整する調整部によって前記各押付力を発生することを特徴とする。
ここで、「前記各押付力が一様になる方向に調整する調整部によって」における「各押付力が一様になる」とは、前記各副ローラーの各押付力が厳密に同じになることまでは必要なく、前記各押付力の差が前記調整部による調整が無い状態よりも小さくなっている状態でよいことを意味する。
【0009】
本態様によれば、前記副ローラーを前記主ローラーに対して押し付ける押付力を発生する押付力発生部を備え、前記押付力発生部は、前記各副ローラーの前記主ローラーに対する前記各押付力が一様になる方向に調整する調整部によって前記各押付力を発生するように構成されている。即ち、前記調整部によって前記各副ローラーの前記主ローラーに対する前記各押付力が一様になる方向に調整される。これにより、前記各副ローラーの偏荷重による前記布帛の組織変形で生じる皺の発生を抑制することができる。
【0010】
本発明の第2の態様に係る媒体搬送装置は、第1の態様に従属する態様であって、前記支持ユニットは、前記軸を固定状態で支持し、且つ揺動可能であり、前記調整部は、前記支持ユニットに対して前記揺動の方向に弾性力を加える弾性部材を備え、前記弾性部材によって前記各押付力を発生することを特徴とする。
(【0011】以降は省略されています)
この特許をJ-PlatPat(特許庁公式サイト)で参照する
関連特許
セイコーエプソン株式会社
記録装置
3日前
セイコーエプソン株式会社
電子時計
1日前
セイコーエプソン株式会社
読み取り装置
18日前
セイコーエプソン株式会社
情報処理装置
15日前
セイコーエプソン株式会社
振動デバイス
3日前
セイコーエプソン株式会社
プロジェクター
1日前
セイコーエプソン株式会社
シート製造装置
15日前
セイコーエプソン株式会社
プロジェクター
9日前
セイコーエプソン株式会社
シート製造装置
3日前
セイコーエプソン株式会社
プロジェクター
1日前
セイコーエプソン株式会社
シート製造装置
3日前
セイコーエプソン株式会社
三次元造形装置
2日前
セイコーエプソン株式会社
シート製造装置
3日前
セイコーエプソン株式会社
トルク伝達機構
1日前
セイコーエプソン株式会社
表示装置の制御方法
1日前
セイコーエプソン株式会社
慣性センサーモジュール
3日前
セイコーエプソン株式会社
三次元造形物の製造方法
1日前
セイコーエプソン株式会社
媒体搬送装置及び記録装置
1日前
セイコーエプソン株式会社
乾燥装置及び印刷システム
1日前
セイコーエプソン株式会社
液体吐出ヘッドの製造方法
10日前
セイコーエプソン株式会社
振動素子、振動子、及び発振器
10日前
セイコーエプソン株式会社
液体噴射ヘッド及び液体噴射装置
1日前
セイコーエプソン株式会社
液体噴射ヘッド及び液体噴射装置
1日前
セイコーエプソン株式会社
物理量センサー及び物理量検出装置
12日前
セイコーエプソン株式会社
捺染用インクジェットインク組成物
4日前
セイコーエプソン株式会社
射出成形用材料とその樹脂の選定方法
11日前
セイコーエプソン株式会社
液体吐出装置、液体吐出装置の制御方法
4日前
セイコーエプソン株式会社
シート製造装置、およびシート製造方法
10日前
セイコーエプソン株式会社
媒体搬送装置、画像読取装置、印刷装置
4日前
セイコーエプソン株式会社
投写方法、プロジェクター及びプログラム
1日前
セイコーエプソン株式会社
管理システム、情報処理装置及び管理方法
9日前
セイコーエプソン株式会社
バンド、時計、およびバンド長さ調整機構
1日前
セイコーエプソン株式会社
物理量検出装置及び物理量検出装置の製造方法
15日前
セイコーエプソン株式会社
記録装置、積載装置、及び記録装置の制御方法
2日前
セイコーエプソン株式会社
投射位置の判定方法および投射位置の判定装置
1日前
セイコーエプソン株式会社
液体吐出システム、液体吐出システムの制御方法
3日前
続きを見る
他の特許を見る