TOP
|
特許
|
意匠
|
商標
特許ウォッチ
Twitter
他の特許を見る
10個以上の画像は省略されています。
公開番号
2025166999
公報種別
公開特許公報(A)
公開日
2025-11-07
出願番号
2024071243
出願日
2024-04-25
発明の名称
液体噴射ヘッド及び液体噴射装置
出願人
セイコーエプソン株式会社
代理人
個人
,
個人
,
個人
主分類
B41J
2/14 20060101AFI20251030BHJP(印刷;線画機;タイプライター;スタンプ)
要約
【課題】接着剤の硬化収縮によって固定板に変形が生じ難い液体噴射ヘッド及び液体噴射装置を提供する。
【解決手段】第1方向に液体を噴射する複数の第1ノズルと、前記複数の第1ノズルと連通する第1共通液室と、を有する第1ヘッドチップ8と、前記第1共通液室と連通する第1流路400を有する流路構造体と、前記第1ヘッドチップ8が固定される固定板と、第1接着剤201と、を備え、前記第1ヘッドチップ8は、前記第1共通液室と連通する第1接続流路43aを内部に有するとともに前記第1方向とは反対の第2方向を向く面から前記第2方向に突出する第1流路管43を有し、前記流路構造体は、前記第1流路管が挿入された第1開口225を有し、前記第1流路管43の外周面と前記第1開口225の内周面との間に配置された前記第1接着剤201によって、前記第1流路400と前記第1接続流路43aとを液密に接続する。
【選択図】図4
特許請求の範囲
【請求項1】
第1方向に液体を噴射する複数の第1ノズルと、前記複数の第1ノズルと連通する第1共通液室と、を有する第1ヘッドチップと、
前記第1共通液室と連通する第1流路を有する流路構造体と、
前記第1ヘッドチップが固定されることで前記流路構造体との間で前記第1ヘッドチップを収容し、且つ、前記複数の第1ノズルを露出するための第1露出開口部を有する固定板と、
第1接着剤と、
を備え、
前記第1ヘッドチップは、前記第1共通液室と連通する第1接続流路を内部に有するとともに前記第1方向とは反対の第2方向を向く面から前記第2方向に突出する第1流路管を有し、
前記流路構造体は、前記第1方向を向く面から前記第2方向へ前記流路構造体の一部を貫通するとともに前記第1流路管が挿入された第1開口を有し、
前記第1流路管の外周面と前記第1開口の内周面との間に配置された前記第1接着剤によって、前記第1流路と前記第1接続流路とを液密に接続する、
ことを特徴とする液体噴射ヘッド。
続きを表示(約 1,500 文字)
【請求項2】
前記第1接着剤は、前記第1方向において前記第1ヘッドチップと前記流路構造体との間に挟まれていない、
ことを特徴とする請求項1に記載の液体噴射ヘッド。
【請求項3】
前記第1流路は、前記第1方向に垂直な面に沿って延在する第1部分を含み、
前記第1流路管の先端は、前記第1部分の底面よりも前記第2方向に突出する、
ことを特徴とする請求項1に記載の液体噴射ヘッド。
【請求項4】
前記流路構造体は、前記第1開口の少なくとも一部および前記第1部分の一部を画定する第1基板と、前記第1基板に積層されることで前記第1部分の一部を画定する第2基板と、を含む、
ことを特徴とする請求項3に記載の液体噴射ヘッド。
【請求項5】
前記第1開口の少なくとも一部を画定する第1基板、および、前記第1流路管のそれぞれは、剛体である、
ことを特徴とする請求項1に記載の液体噴射ヘッド。
【請求項6】
複数の第2ノズルと、前記複数の第2ノズルと連通する第2共通液室と、を有する第2ヘッドチップと、
第2接着剤と、
を備え、
前記固定板は、前記第2ヘッドチップが固定されることで前記流路構造体との間で前記第2ヘッドチップを収容し、且つ、前記複数の第2ノズルを露出するための第2露出開口部を有し、
前記流路構造体は、前記第2共通液室と連通する第2流路を有し、
前記第2ヘッドチップは、前記第2共通液室と連通する第2接続流路を内部に有するとともに前記第2方向を向く面から前記第2方向に突出する第2流路管を有し、
前記流路構造体は、前記第1方向を向く面から前記第2方向へ前記流路構造体の一部を貫通するとともに前記第2流路管が挿入された第2開口を有し、
前記第2流路管の外周面と前記第2開口の内周面との間に配置された前記第2接着剤によって、前記第2流路と前記第2接続流路とを液密に接続する、
ことを特徴とする請求項1に記載の液体噴射ヘッド。
【請求項7】
第3接着剤を備え、
前記流路構造体は、第3流路を有し、
前記第1ヘッドチップは、第3接続流路を内部に有するとともに前記第2方向を向く前記面から前記第2方向に突出する第3流路管を有し、
前記流路構造体は、前記第1方向を向く前記面から前記第2方向へ前記流路構造体の一部を貫通するとともに前記第3流路管が挿入された第3開口を有し、
前記第3流路管の外周面と前記第3開口の内周面との間に配置された前記第3接着剤によって、前記第3流路と前記第3接続流路とを液密に接続する、
ことを特徴とする請求項1に記載の液体噴射ヘッド。
【請求項8】
前記第1流路は、前記第1共通液室に液体を供給するための流路であり、
前記第3流路は、前記第1共通液室に供給され、且つ、前記複数の第1ノズルから噴射されなかった液体を回収するための流路である、
ことを特徴とする請求項7に記載の液体噴射ヘッド。
【請求項9】
前記第1ヘッドチップは、前記複数の第1ノズルとは異なる複数の第3ノズルと、前記複数の第3ノズルと連通する第3共通液室と、を有し、
前記第3流路は、前記第3共通液室と連通する、
ことを特徴とする請求項7に記載の液体噴射ヘッド。
【請求項10】
前記第1流路および前記第3流路は、互いに独立した流路である、
ことを特徴とする請求項9に記載の液体噴射ヘッド。
(【請求項11】以降は省略されています)
発明の詳細な説明
【技術分野】
【0001】
本発明は、ノズルから液体を噴射する液体噴射ヘッド及び液体噴射装置に関し、特に液体としてインクを吐出するインクジェット式記録ヘッド及びインクジェット式記録装置に関する。
続きを表示(約 2,300 文字)
【背景技術】
【0002】
インクジェット式プリンターやプロッター等のインクジェット式記録装置に代表される液体噴射装置は、カートリッジやタンク等に貯留されたインクなどの液体を液滴として噴射可能な液体噴射ヘッドを具備する。
【0003】
液体噴射ヘッドは、液体を噴射するノズルを有するヘッドチップと、ヘッドチップが固定された固定板と、固定板との間でヘッドチップを収容するホルダーを有すると共にヘッドチップに液体を供給する流路が設けられた流路構造体と、を備える。そして、流路構造体の流路とヘッドチップの流路とは、積層方向に垂直な面同士を接着剤で接着することで液密に接続される(例えば、特許文献1参照)。
【先行技術文献】
【特許文献】
【0004】
特開2022-25894号公報
【発明の概要】
【発明が解決しようとする課題】
【0005】
しかしながら、流路構造体とヘッドチップとは、積層方向に垂直な面同士が接着剤で接着されるため、接着剤を硬化させた後に当該接着剤が収縮することでヘッドチップが積層方向において流路構造体に近づき、ヘッドチップが固定された固定板が凹むなどの変形が生じる虞がある。
【課題を解決するための手段】
【0006】
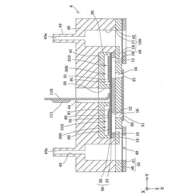
上記課題を解決する本発明の態様は、第1方向に液体を噴射する複数の第1ノズルと、前記複数の第1ノズルと連通する第1共通液室と、を有する第1ヘッドチップと、前記第1共通液室と連通する第1流路を有する流路構造体と、前記第1ヘッドチップが固定されることで前記流路構造体との間で前記第1ヘッドチップを収容し、且つ、前記複数の第1ノズルを露出するための第1露出開口部を有する固定板と、第1接着剤と、を備え、前記第1ヘッドチップは、前記第1共通液室と連通する第1接続流路を内部に有するとともに前記第1方向とは反対の第2方向を向く面から前記第2方向に突出する第1流路管を有し、前記流路構造体は、前記第1方向を向く面から前記第2方向へ前記流路構造体の一部を貫通するとともに前記第1流路管が挿入された第1開口を有し、前記第1流路管の外周面と前記第1開口の内周面との間に配置された前記第1接着剤によって、前記第1流路と前記第1接続流路とを液密に接続する、ことを特徴とする液体噴射ヘッドにある。
【0007】
また、本発明の他の態様は、第1方向に液体を噴射する複数の第1ノズルと、前記複数の第1ノズルと連通する第1共通液室と、を有する第1ヘッドチップと、前記第1共通液室と連通する第1流路を有する流路構造体と、前記第1ヘッドチップが固定されることで前記流路構造体との間で前記第1ヘッドチップを収容し、且つ、前記複数の第1ノズルを露出するための第1露出開口部を有する固定板と、第1接着剤と、を備え、前記流路構造体は、前記第1流路の一部である第1接続流路を内部に有するとともに前記第1方向を向く面から前記第1方向に突出する第1流路管を有し、前記第1ヘッドチップは、前記第1方向とは反対の第2方向を向く面から前記第1方向へ前記第1ヘッドチップの一部を貫通するとともに前記第1流路管が挿入された第1開口を有し、前記第1流路管の外周面と前記第1開口の内周面との間に配置された前記第1接着剤によって、前記第1共通液室と前記第1接続流路とを液密に接続する、ことを特徴とする液体噴射ヘッドにある。
【0008】
また、本発明の他の態様は、上記態様に記載の液体噴射ヘッドと、前記液体噴射ヘッドに供給するための液体を貯留する液体貯留部と、を備える、ことを特徴とする液体噴射装置にある。
【図面の簡単な説明】
【0009】
実施形態1に係る液体噴射装置の概略構成を示す図である。
実施形態1に係る液体噴射ヘッドの分解斜視図である。
実施形態1に係る液体噴射ヘッドの断面図である。
実施形態1に係る液体噴射ヘッドの要部を拡大した断面図である。
実施形態1に係るヘッドチップの断面図である。
実施形態1に係る第1流路接続部と接着剤とを+Z方向に見た図である。
実施形態1に係る液体噴射ヘッドの要部を拡大した断面図である。
実施形態1に係るヘッドチップの変形例を示す断面図である。
実施形態1に係る液体噴射ヘッドの変形例を示す要部拡大断面図である。
実施形態2に係る液体噴射ヘッドの要部拡大断面図である。
実施形態3に係る液体噴射ヘッドの要部拡大断面図である。
【発明を実施するための形態】
【0010】
以下に本発明を実施形態に基づいて詳細に説明する。ただし、以下の説明は、本発明の一態様を示すものであって、本発明の範囲内で任意に変更可能である。各図において同じ符号を付したものは、同一の部材を示しており、適宜説明が省略されている。また、各図においてX、Y、Zは、互いに直交する3つの空間軸を表している。本明細書では、これらの軸に沿った方向をX方向、Y方向、及びZ方向とする。各図の矢印が向かう方向を正(+)方向、矢印の反対方向を負(-)方向として説明する。また、Z方向は、鉛直方向を示し、+Z方向は鉛直下向き、-Z方向は鉛直上向きを示す。さらに、正方向及び負方向を限定しない3つの空間軸の方向については、X軸方向、Y軸方向、Z軸方向として説明する。
(【0011】以降は省略されています)
この特許をJ-PlatPat(特許庁公式サイト)で参照する
関連特許
個人
箔熱転写装置
1か月前
シヤチハタ株式会社
印判
5か月前
キヤノン株式会社
電子機器
1日前
三光株式会社
感熱記録材料
7か月前
キヤノン株式会社
記録装置
1か月前
独立行政法人 国立印刷局
印刷物
8か月前
株式会社リコー
液体吐出装置
6か月前
株式会社リコー
印刷システム
1か月前
株式会社リコー
液体吐出装置
5か月前
株式会社リコー
液体吐出装置
2か月前
株式会社リコー
画像形成装置
1か月前
株式会社リコー
画像形成装置
1か月前
株式会社リコー
液体吐出装置
6か月前
独立行政法人 国立印刷局
貼付機構
2か月前
独立行政法人 国立印刷局
貼付装置
2か月前
株式会社リコー
画像形成装置
1か月前
株式会社リコー
液体吐出装置
5か月前
理想科学工業株式会社
印刷装置
7か月前
キヤノン株式会社
画像形成装置
2か月前
キヤノン株式会社
画像形成装置
6か月前
キヤノン株式会社
画像処理装置
5か月前
ブラザー工業株式会社
プリンタ
2か月前
ブラザー工業株式会社
プリンタ
2か月前
キヤノン株式会社
印刷システム
8か月前
ブラザー工業株式会社
プリンタ
5か月前
独立行政法人 国立印刷局
潜像印刷物
2か月前
キヤノン株式会社
画像記録装置
1か月前
ブラザー工業株式会社
プリンタ
7か月前
ブラザー工業株式会社
液体吐出ヘッド
1か月前
理想科学工業株式会社
印刷装置
1か月前
カシオ計算機株式会社
印刷装置
15日前
独立行政法人 国立印刷局
潜像形成体
1か月前
シャープ株式会社
画像形成装置
17日前
キヤノン株式会社
画像形成装置
4か月前
キヤノン株式会社
画像形成装置
8か月前
キヤノン株式会社
画像形成装置
7か月前
続きを見る
他の特許を見る