TOP
|
特許
|
意匠
|
商標
特許ウォッチ
Twitter
他の特許を見る
10個以上の画像は省略されています。
公開番号
2025167009
公報種別
公開特許公報(A)
公開日
2025-11-07
出願番号
2024071258
出願日
2024-04-25
発明の名称
トルク伝達機構
出願人
セイコーエプソン株式会社
代理人
弁理士法人明成国際特許事務所
主分類
F16H
25/06 20060101AFI20251030BHJP(機械要素または単位;機械または装置の効果的機能を生じ維持するための一般的手段)
要約
【課題】内ピンを要しないトルク伝達機構を提供する。
【解決手段】トルク伝達機構は、円柱形状を有し、回転軸周りに回転可能に構成された第1部材であって、前記回転軸周りに延びるジグザグ形状の第1溝が設けられた外周面を有する第1部材と、前記第1部材を囲う円環形状を有し、前記回転軸周りに回転可能に構成された第2部材であって、前記回転軸周りに延びるジグザグ形状の第2溝が設けられた内周面を有する第2部材と、前記第1溝内および前記第2溝内に配置され、前記第1溝内および前記第2溝内を転動可能に構成された1以上の第1転動部材と、前記第1部材と前記第2部材との間に配置され、前記第1転動部材の前記回転軸に沿った移動を許容し、前記第1転動部材の前記回転軸周りの移動を規制する第1規制部材と、を備える。
【選択図】図3
特許請求の範囲
【請求項1】
円柱形状を有し、回転軸周りに回転可能に構成された第1部材であって、前記回転軸周りに延びるジグザグ形状の第1溝が設けられた外周面を有する第1部材と、
前記第1部材を囲う円環形状を有し、前記回転軸周りに回転可能に構成された第2部材であって、前記回転軸周りに延びるジグザグ形状の第2溝が設けられた内周面を有する第2部材と、
前記第1溝内および前記第2溝内に配置され、前記第1溝内および前記第2溝内を転動可能に構成された1以上の第1転動部材と、
前記第1部材と前記第2部材との間に配置され、前記第1転動部材の前記回転軸に沿った移動を許容し、前記第1転動部材の前記回転軸周りの移動を規制する第1規制部材と、を備える、トルク伝達機構。
続きを表示(約 1,900 文字)
【請求項2】
請求項1に記載のトルク伝達機構であって、
前記第1溝および前記第2溝は、1以上の山部および谷部を有する周期的な波形状であり、
前記第1溝の前記山部および前記谷部の個数と、前記第2溝の前記山部および前記谷部の個数とは、それぞれ異なる、トルク伝達機構。
【請求項3】
請求項1に記載のトルク伝達機構であって、
前記第1転動部材は、球状を有する、トルク伝達機構。
【請求項4】
請求項1に記載のトルク伝達機構であって、
前記第1転動部材は、一の転動部材と、他の転動部材と、を含み、
前記第1規制部材は、前記一の転動部材の前記回転軸に沿った移動を許容し、前記第1転動部材の前記回転軸周りの移動を規制する一の規制部と、前記他の転動部材の前記回転軸に沿った移動を許容し、前記他の転動部材の前記回転軸周りの移動を規制する他の規制部と、を有する、トルク伝達機構。
【請求項5】
請求項1に記載のトルク伝達機構であって、
前記第1部材と前記第1規制部材との間に配置され、前記第1部材を前記第1規制部材に対して回転可能に保持する第1軸受部をさらに備える、トルク伝達機構。
【請求項6】
請求項1に記載のトルク伝達機構であって、
前記第2部材と前記第1規制部材との間に配置され、前記第2部材を前記第1規制部材に対して回転可能に保持する第2軸受部をさらに備える、トルク伝達機構。
【請求項7】
請求項2に記載のトルク伝達機構であって、
前記第2部材の外周面には、前記回転軸周りに延びるジグザグ形状の第3溝が設けられ、
前記トルク伝達機構は、さらに、
前記第2部材を囲う円環形状を有し、前記回転軸周りに回転可能に構成された第3部材であって、前記回転軸周りに延びるジグザグ形状の第4溝が設けられた内周面を有する第3部材と、
前記第3溝内および前記第4溝内に配置され、前記第3溝内および前記第4溝内を転動可能に構成された1以上の第2転動部材と、
前記第2部材と前記第3部材との間に配置され、前記第2転動部材の前記回転軸に沿った移動を許容し、前記第2転動部材の前記回転軸周りの移動を規制する第2規制部材と、を備え、
前記第3溝および前記第4溝は、1以上の前記山部および前記谷部を有する周期的な波形状であり、
前記第3溝の前記山部および前記谷部の個数と、前記第4溝の前記山部および前記谷部の個数とは、それぞれ異なる、トルク伝達機構。
【請求項8】
請求項1に記載のトルク伝達機構であって、
前記第1部材の外周面には、前記第1溝と対応するジグザグ形状の第1対応溝が、前記第1溝と前記回転軸の方向に並んで設けられ、
前記第2部材の内周面には、前記第2溝と対応するジグザグ形状の第2対応溝が、前記第2溝と前記回転軸の方向に並んで設けられ、
前記トルク伝達機構は、さらに、前記第1対応溝内および前記第2対応溝内に配置され、前記第1対応溝内および前記第2対応溝内を転動可能に構成された1以上の第3転動部材を備え、
前記第1規制部材は、さらに、前記第3転動部材の前記回転軸に沿った移動を許容し、前記第3転動部材の前記回転軸周りの移動を規制する、トルク伝達機構。
【請求項9】
請求項8に記載のトルク伝達機構であって、
前記第1溝と、前記第1対応溝とは、それぞれ同じ数の山部および谷部を有する周期的な波形状であり、
前記第2溝と、前記第2対応溝とは、それぞれ同じ数の前記山部および前記谷部を有する周期的な波形状であり、
少なくとも一の前記第1転動部材は、少なくとも一の前記第3転動部材が前記第1対応溝の前記谷部に位置する場合に、前記第1溝の前記山部に位置するように、かつ、前記少なくとも一の第3転動部材が前記第2対応溝の前記谷部に位置する場合に、前記第2溝の前記山部に位置するように構成されている、トルク伝達機構。
【請求項10】
請求項9に記載のトルク伝達機構であって、
前記第1溝と前記第1対応溝とは、前記第1溝の前記山部と前記第1対応溝の前記谷部とが対向するように配置され、
前記第2溝と前記第2対応溝とは、前記第2溝の前記山部と前記第2対応溝の前記谷部とが対向するように配置されている、トルク伝達機構。
(【請求項11】以降は省略されています)
発明の詳細な説明
【技術分野】
【0001】
本開示は、トルク伝達機構に関する。
続きを表示(約 2,100 文字)
【背景技術】
【0002】
トルク伝達機構に関し、特許文献1には、偏心揺動型の減速機構が開示されている。特許文献1の減速機構では、外歯歯車の自転成分が内ピンを介してキャリア体に伝達されることで、トルク伝達が実現される。
【先行技術文献】
【特許文献】
【0003】
特開2019-132364号公報
【発明の概要】
【発明が解決しようとする課題】
【0004】
特許文献1の技術では、機構の動作時に、トルク伝達を担う内ピンに剪断方向の負荷が生じることで、内ピンが破断する虞があった。
【課題を解決するための手段】
【0005】
本開示の一形態によれば、トルク伝達機構が提供される。このトルク伝達機構は、円柱形状を有し、回転軸周りに回転可能に構成された第1部材であって、前記回転軸周りに延びるジグザグ形状の第1溝が設けられた外周面を有する第1部材と、前記第1部材を囲う円環形状を有し、前記回転軸周りに回転可能に構成された第2部材であって、前記回転軸周りに延びるジグザグ形状の第2溝が設けられた内周面を有する第2部材と、前記第1溝内および前記第2溝内に配置され、前記第1溝内および前記第2溝内を転動可能に構成された1以上の第1転動部材と、前記第1部材と前記第2部材との間に配置され、前記第1転動部材の前記回転軸に沿った移動を許容し、前記第1転動部材の前記回転軸周りの移動を規制する第1規制部材と、を備える。
【図面の簡単な説明】
【0006】
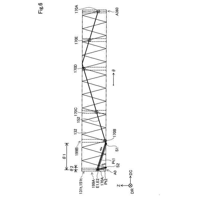
第1実施形態におけるトルク伝達機構の概略構成を示す斜視図。
第1実施形態におけるトルク伝達機構の概略構成を示す分解斜視図。
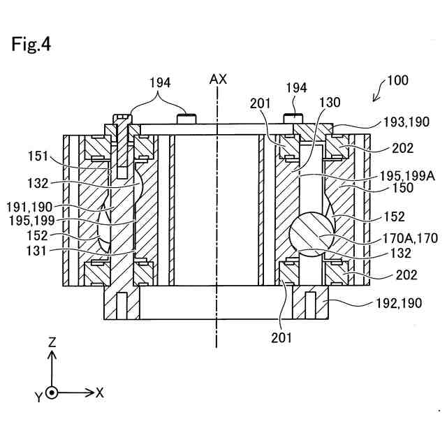
図1のIII-III断面図。
図1のIV-IV断面図。
第1実施形態におけるトルク伝達機構の第1の説明図。
第1実施形態におけるトルク伝達機構の第2の説明図。
第2実施形態におけるトルク伝達機構の概略構成を模式的に示す断面図。
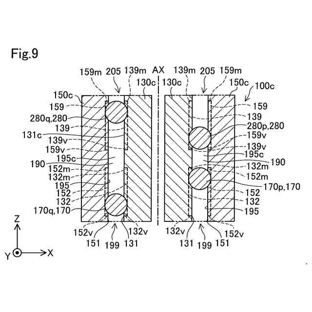
図7のVIII-VIII断面図。
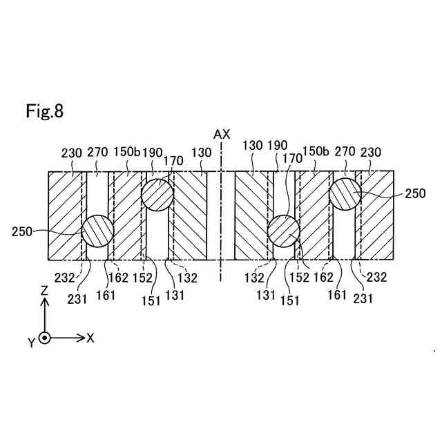
第3実施形態におけるトルク伝達機構の概略構成を模式的に示す断面図。
第4実施形態におけるトルク伝達機構の概略構成を模式的に示す断面図。
第5実施形態におけるトルク伝達機構の概略構成を示す斜視図。
第5実施形態におけるトルク伝達機構の概略構成を示す分解斜視図。
図11のXIII-XIII断面図。
図11のXIV-XIV断面図。
他の実施形態におけるトルク伝達機構の第1の例の説明図。
他の実施形態におけるトルク伝達機構の第2の例の説明図。
他の実施形態におけるトルク伝達機構の第3の例の説明図。
【発明を実施するための形態】
【0007】
A.第1実施形態:
図1は、第1実施形態におけるトルク伝達機構100の概略構成を示す斜視図である。図2は、トルク伝達機構100の概略構成を示す分解斜視図である。図1には、互いに直交するX,Y,Z方向を示す矢印が示されている。X方向及びY方向は、水平面に平行な方向であり、Z方向は、鉛直上向きに沿った方向である。X,Y,Z方向を示す矢印は、他の図においても、図示の方向が図1と対応するように適宜、図示してある。以下の説明において、方向の向きを特定する場合には、各図において矢印が指し示す方向を「+」、その反対の方向を「-」として、方向表記に正負の符合を併用する。以下では、+Z方向のことを「上」、-Z方向のことを「下」ともいう。
【0008】
本実施形態では、トルク伝達機構100は、減速装置として構成されている。図1および図2に示すように、トルク伝達機構100は、第1部材130と、第2部材150と、1以上の第1転動部材170と、第1規制部材190とを備える。さらに、本実施形態におけるトルク伝達機構100は、第1軸受部201と、第2軸受部202とを備える。
【0009】
本実施形態におけるトルク伝達機構100は、全体として円柱形状を有している。トルク伝達機構100は、トルク伝達機構100の回転軸AXがZ方向に沿うように配置されている。本実施形態では、回転軸AXは、第1部材130の回転軸、および、第2部材150の回転軸に相当する。なお、本開示において、「円柱形状」は、中実の円柱形状と、中空の円柱形状とを含む。また、以下では、回転軸AXに沿った方向のことを、回転軸AX方向ともいう。
【0010】
トルク伝達機構100の周方向DCは、第1部材130の周方向、および、第2部材150の周方向に相当する。本開示では、周方向DCを、+Z方向側からトルク伝達機構100を見たときの反時計回り方向と定義する。また、以下では、特に断らない限り、「反時計回り」とは、+Z方向側からトルク伝達機構100を見たときの反時計回りを意味する。「時計回り」についても略同様である。
(【0011】以降は省略されています)
この特許をJ-PlatPat(特許庁公式サイト)で参照する
関連特許
個人
留め具
25日前
個人
鍋虫ねじ
2か月前
個人
紛体用仕切弁
2か月前
個人
回転伝達機構
3か月前
個人
差動歯車用歯形
4か月前
個人
給排気装置
1か月前
個人
ジョイント
1か月前
個人
ナット
1か月前
個人
ナット
3日前
株式会社不二工機
電磁弁
4か月前
個人
地震の揺れ回避装置
3か月前
個人
吐出量監視装置
2か月前
柿沼金属精機株式会社
分岐管
2か月前
カヤバ株式会社
緩衝器
4か月前
カヤバ株式会社
ダンパ
4か月前
兼工業株式会社
バルブ
4日前
カヤバ株式会社
緩衝器
4か月前
カヤバ株式会社
ダンパ
4か月前
カヤバ株式会社
緩衝器
1か月前
株式会社奥村組
制振機構
1か月前
株式会社不二工機
電磁弁
2か月前
株式会社不二工機
電動弁
1か月前
株式会社ニフコ
クリップ
1か月前
アズビル株式会社
回転弁
1か月前
株式会社タカギ
水栓装置
3か月前
株式会社奥村組
制振機構
1か月前
株式会社三五
ドライブシャフト
17日前
株式会社ノーリツ
分配弁
1か月前
株式会社不二越
転がり軸受
2か月前
株式会社ケアコム
取付器具
3か月前
井関農機株式会社
作業車両
4か月前
個人
ワンウェイベアリング
3か月前
株式会社ノナガセ
免震装置
18日前
アマテイ株式会社
釘
10日前
個人
誘導電流活用式差動制限装置
1か月前
アイホン株式会社
電気機器
1か月前
続きを見る
他の特許を見る