TOP
|
特許
|
意匠
|
商標
特許ウォッチ
Twitter
他の特許を見る
10個以上の画像は省略されています。
公開番号
2025140777
公報種別
公開特許公報(A)
公開日
2025-09-29
出願番号
2024040352
出願日
2024-03-14
発明の名称
電気機器
出願人
アイホン株式会社
代理人
個人
主分類
F16J
15/06 20060101AFI20250919BHJP(機械要素または単位;機械または装置の効果的機能を生じ維持するための一般的手段)
要約
【課題】両面テープ等を用いずともカバー部材にパッキンを取り付けることができ、製造に係る作業効率の良い電気機器を提供する。
【解決手段】収納凹部18を被覆可能なカバー部材30のカバー部31に、後方へ突出する取付リブ35、35・・を設ける一方、弾性変形可能なパッキン40に、取付リブ35、35・・を押し込むことで取付リブ35、35が貫通可能な切り込み41、41・・を設けており、取付リブ35、35・・を切り込み41、41・・に押し込んで貫通させることにより切り込み41、41・・が弾性変形し、当該弾性変形に伴い取付リブ35、35・・の基端部がパッキン40に挟持されることによって、パッキン40が取り付けられるようにした。
【選択図】図8
特許請求の範囲
【請求項1】
本体ケースの前面に開口部が設けられ、前記開口部の前方を覆う被覆姿勢と前記開口部の前方を開放する開放姿勢との間で姿勢変更可能なカバー部材が取り付けられているとともに、前記カバー部材の後面に弾性変形可能なパッキンが取り付けられた電気機器であって、
前記カバー部材に、後方へ突出するリブが設けられている一方、前記パッキンに、前記リブを押し込み可能な切り込みが設けられており、
前記リブを前記切り込みに押し込むことにより前記切り込みが弾性変形し、当該弾性変形に伴い前記リブが前記パッキンに挟持されることによって、前記パッキンが取り付けられていることを特徴とする電気機器。
発明の詳細な説明
【技術分野】
【0001】
本発明は、本体ケースに開閉動作可能なカバー部材が取り付けられてなる電気機器に関するものである。
続きを表示(約 1,800 文字)
【背景技術】
【0002】
従来一般的な電気機器には、たとえば本体ケースの表面にコネクタを露出させるための開口部が設けられているとともに、そのコネクタを被覆/露出可能な、すなわち開口部を開閉可能なカバー部材が取り付けられてなるものがある(たとえば特許文献1)。そして、そのような電気機器においては、カバー部材の箇所から水や湿気が浸入する事態を防止するためにカバー部材にパッキンを取り付けることもある。
【先行技術文献】
【特許文献】
【0003】
特開2011-77696号公報
【発明の概要】
【発明が解決しようとする課題】
【0004】
従来ではカバー部材にパッキンを取り付けるにあたり、両面テープを用いてカバー部材の表面に貼着する等していたが、そのように両面テープを利用して貼着するという作業は煩雑であるという問題がある。
【0005】
そこで、本発明は、上記問題に鑑みなされたものであって、両面テープ等を用いずともカバー部材にパッキンを取り付けることができ、製造に係る作業効率の良い電気機器を提供しようとするものである。
【課題を解決するための手段】
【0006】
上記目的を達成するために、本発明は、本体ケースの前面に開口部が設けられ、開口部の前方を覆う被覆姿勢と開口部の前方を開放する開放姿勢との間で姿勢変更可能なカバー部材が取り付けられているとともに、カバー部材の後面に弾性変形可能なパッキンが取り付けられた電気機器であって、カバー部材に、後方へ突出するリブが設けられている一方、パッキンに、リブを押し込み可能な切り込みが設けられており、リブを切り込みに押し込むことにより切り込みが弾性変形し、当該弾性変形に伴いリブがパッキンに挟持されることによって、パッキンが取り付けられていることを特徴とする。
【発明の効果】
【0007】
本発明によれば、カバー部材に、後方へ突出するリブを設ける一方、パッキンに、リブを押し込み可能な切り込みを設けた。そして、リブを切り込みに押し込むことにより切り込みが弾性変形し、当該弾性変形に伴いリブがパッキンに挟持されることによって、パッキンが取り付けられるようにした。したがって、従来のように両面テープを用いる等せずともカバー部材にパッキンを取り付けることができ、製造に係る作業効率の向上、ひいては製造コストの低減を図ることができる。
【図面の簡単な説明】
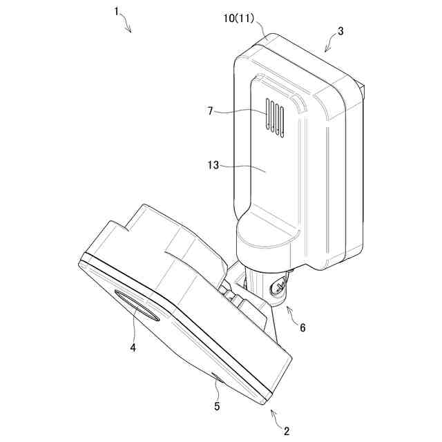
【0008】
監視カメラの外観を示した斜視説明図である。
通信装置を前側から示した説明図である。
化粧カバーが取り外された本体ケースを前方から示した斜視説明図である。
化粧カバーが取り外された本体ケースを後方から示した斜視説明図である。
図3の状態からカバー部材を開放姿勢へと回動操作した状態を示した斜視説明図である。
カバー部材を示した斜視説明図であり、(a)は前側から、(b)は後側から夫々示している。
パッキンを示した説明図である。
図2中のA-A線断面のうち要部を拡大して示した説明図である。
図2中のB-B線断面のうち要部を拡大して示した説明図である。
【発明を実施するための形態】
【0009】
以下、本発明の一実施形態となる通信装置について、図面にもとづき詳細に説明する。
【0010】
図1は、監視カメラ1の外観を示した斜視説明図である。図2は、通信装置3を前側から示した説明図である。図3は、化粧カバー13が取り外された本体ケース10を前方から示した斜視説明図である。図4は、化粧カバー13が取り外された本体ケース10を後方から示した斜視説明図である。図5は、図3の状態からカバー部材30を開放姿勢へと回動操作した状態を示した斜視説明図である。図6は、カバー部材30を示した斜視説明図であり、(a)は前側から、(b)は後側から夫々示している。図7は、パッキン40を示した説明図である。図8は、図2中のA-A線断面のうち要部を拡大して示した説明図である。図9は、図2中のB-B線断面のうち要部を拡大して示した説明図である。
(【0011】以降は省略されています)
この特許をJ-PlatPat(特許庁公式サイト)で参照する
関連特許
アイホン株式会社
電気機器
1か月前
アイホン株式会社
通信システム
1か月前
アイホン株式会社
カメラシステム
1か月前
アイホン株式会社
カメラ装置の保持構造
1か月前
アイホン株式会社
インターホンシステム
1か月前
アイホン株式会社
インターホンシステム
1か月前
アイホン株式会社
インターホンシステム
1か月前
アイホン株式会社
インターホンシステム
1か月前
アイホン株式会社
仕様情報管理システム
1か月前
アイホン株式会社
鍵貸出システム、鍵貸出システムを備えた集合玄関機
1か月前
アイホン株式会社
インターホンシステムおよびインターホンシステムにおける制御方法
4日前
ヤマハ株式会社
解錠管理方法および解錠管理システム
1か月前
個人
留め具
27日前
個人
鍋虫ねじ
2か月前
個人
回転伝達機構
3か月前
個人
ホース保持具
6か月前
個人
紛体用仕切弁
2か月前
個人
差動歯車用歯形
4か月前
個人
トーションバー
7か月前
個人
給排気装置
1か月前
個人
ジョイント
1か月前
個人
ナット
5日前
株式会社不二工機
電磁弁
4か月前
個人
回転式配管用支持具
8か月前
個人
ナット
1か月前
個人
ボルトナットセット
7か月前
株式会社不二工機
電磁弁
5か月前
個人
地震の揺れ回避装置
3か月前
個人
吐出量監視装置
2か月前
個人
ベルトテンショナ
8か月前
カヤバ株式会社
ダンパ
4か月前
柿沼金属精機株式会社
分岐管
2か月前
カヤバ株式会社
緩衝器
4か月前
カヤバ株式会社
緩衝器
1か月前
カヤバ株式会社
緩衝器
8か月前
カヤバ株式会社
ダンパ
4か月前
続きを見る
他の特許を見る