TOP
|
特許
|
意匠
|
商標
特許ウォッチ
Twitter
他の特許を見る
公開番号
2025152166
公報種別
公開特許公報(A)
公開日
2025-10-09
出願番号
2024053941
出願日
2024-03-28
発明の名称
通信システム
出願人
アイホン株式会社
代理人
弁理士法人信栄事務所
主分類
H04M
9/00 20060101AFI20251002BHJP(電気通信技術)
要約
【課題】簡便な設定で子機と親機との間のセキュアな通信経路を形成可能な通信システムを提供する。
【解決手段】通信システム1は、子機10と、子機10からの呼出を受信する親機40と、子機10と親機40との通信を確立するために子機10側に設けられる第一通信部30と、子機10と親機40との通信を確立するために親機40側に設けられる第二通信部60と、を備えている。第一通信部30は、リアルタイム通信技術を用いて第二通信部60とのトンネル接続を確立することにより、第二通信部60との通信を行うように構成されている。
【選択図】図1
特許請求の範囲
【請求項1】
インターホンシステムまたはナースコールシステムに用いられる通信システムであって、
子機と、
前記子機からの呼出を受信する親機と、
前記子機と前記親機との通信を確立するために前記子機側に設けられる第一通信部と、
前記子機と前記親機との通信を確立するために前記親機側に設けられる第二通信部と、
を備え、
前記第一通信部は、リアルタイム通信技術を用いて前記第二通信部とのトンネル接続を確立することにより、前記第二通信部との通信を行うように構成されている、通信システム。
続きを表示(約 490 文字)
【請求項2】
前記第一通信部は、前記リアルタイム通信技術のデータチャネルを用いることで、前記第二通信部との間のP2P(Peer to Peer)通信を確立する、請求項1に記載の通信システム。
【請求項3】
前記子機側に設けられて前記子機の周囲を撮像可能な第一カメラと、
前記親機側に設けられて前記親機の周囲を撮像可能な第二カメラと、
をさらに備え、
前記第一通信部は、前記第一カメラに搭載され、
前記第二通信部は、前記第二カメラに搭載されている、請求項1または2に記載の通信システム。
【請求項4】
前記子機が設置される第一施設と、前記親機が設置される第二施設とは、離隔している、請求項1または2に記載の通信システム。
【請求項5】
前記第一通信部は、互いに離隔して配置された複数の前記子機のそれぞれに対応して設けられ、
前記第二通信部は、前記リアルタイム通信技術を用いた通信によって、複数の前記第一通信部のそれぞれと通信を行うように構成されている、請求項1または2に記載の通信システム。
発明の詳細な説明
【技術分野】
【0001】
本発明は、通信システムに関する。
続きを表示(約 1,700 文字)
【背景技術】
【0002】
特許文献1は、ナースコールシステムにおいて、ナースコール親機と携帯端末との間の暗号化接続機能を提供するために、例えば、VPN(Virtual Private Network)による暗号化を用いて、ナースコール親機と携帯端末との間で予め暗号化接続を確立しておくことで、ナースコール親機と携帯端末との間の通信を自動的に暗号化することを開示している。
また、特許文献2は、ナースコールサーバと、外部機関に設置されたケア情報サーバとが、VPNを介して通信可能に接続されることで、ナースコールサーバとケア情報サーバとを連携させることにより、ナースコールサーバが管理する情報とケア情報サーバが管理する情報とを関連付けて処理できるように構成された情報処理システムを開示している。
【先行技術文献】
【特許文献】
【0003】
特開2021-106303号公報
特開2022-133028号公報
【発明の概要】
【発明が解決しようとする課題】
【0004】
特許文献1や特許文献2に開示のようなVPN技術を用いたシステムでは、高価な接続機器を用いる必要があり、また装置間の接続を確立するための設定が煩雑であった。
【0005】
そこで、本発明は、インターホンシステムまたはナースコールシステムに用いられる通信システムであって、簡便な設定で子機と親機との間のセキュアな通信経路を形成可能な通信システムを提供することを目的とする。
【課題を解決するための手段】
【0006】
上記目的を達成するために、本発明の通信システムは、
インターホンシステムまたはナースコールシステムに用いられる通信システムであって、
子機と、
前記子機からの呼出を受信する親機と、
前記子機と前記親機との通信を確立するために前記子機側に設けられる第一通信部と、
前記子機と前記親機との通信を確立するために前記親機側に設けられる第二通信部と、
を備え、
前記第一通信部は、リアルタイム通信技術を用いて前記第二通信部とのトンネル接続を確立することにより、前記第二通信部との通信を行うように構成されている。
【0007】
上記構成によれば、第一通信部と第二通信部との間でリアルタイム通信技術を用いてトンネル接続を確立することで、簡便な設定で子機と親機との間のセキュアな通信経路を形成することができる。
【発明の効果】
【0008】
本発明によれば、インターホンシステムまたはナースコールシステムに用いられる通信システムであって、簡便な設定で子機と親機との間のセキュアな通信経路を形成可能な通信システムを提供することができる。
【図面の簡単な説明】
【0009】
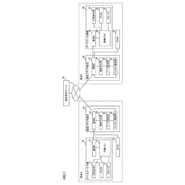
本発明の実施形態に係る通信システムの構成図である。
図1の通信システムが備える通信管理装置の機能構成を示す図である。
通信システムの動作の一例を説明するためのフローチャートである。
【発明を実施するための形態】
【0010】
(システムの全体構成)
以下、図面を参照して本発明実施の通信システム1を説明する。
図1は、本発明の実施形態に係る通信システム1の全体構成図である。通信システム1は、拠点Aの端末装置であるナースコール子機10が、通信ネットワーク2を介して、他の拠点Bの端末装置であるナースコール親機40と通信するためのシステムである。例えば、拠点Bのユーザは、通信システム1によって提供される遠隔通信等の所定のイベントに参加することによって、遠隔地である拠点Aから配信される音声や映像等を拠点Bにおいて取得することで、拠点Aの状況をリアルタイムに閲覧することができる。ここで、所定のイベントとは、通信システム1を介した遠隔拠点間の通信によって実現される通話、遠隔診療、相談、または遠隔地に対する監視等を含む。
(【0011】以降は省略されています)
この特許をJ-PlatPat(特許庁公式サイト)で参照する
関連特許
アイホン株式会社
通信システム
1か月前
アイホン株式会社
カメラシステム
1か月前
アイホン株式会社
カメラ装置の保持構造
1か月前
アイホン株式会社
インターホンシステム
1か月前
アイホン株式会社
インターホンシステム
1か月前
アイホン株式会社
インターホンシステム
1か月前
アイホン株式会社
インターホンシステム
1か月前
アイホン株式会社
仕様情報管理システム
1か月前
アイホン株式会社
鍵貸出システム、鍵貸出システムを備えた集合玄関機
1か月前
アイホン株式会社
インターホンシステムおよびインターホンシステムにおける制御方法
4日前
個人
イヤーピース
3日前
個人
イヤーマフ
17日前
個人
監視カメラシステム
26日前
個人
スイッチシステム
11日前
キーコム株式会社
光伝送線路
27日前
サクサ株式会社
中継装置
1か月前
サクサ株式会社
中継装置
1か月前
個人
スキャン式車載用撮像装置
26日前
WHISMR合同会社
収音装置
2か月前
キヤノン株式会社
撮像装置
2か月前
アイホン株式会社
電気機器
1か月前
株式会社リコー
画像形成装置
19日前
キヤノン電子株式会社
画像読取装置
11日前
株式会社リコー
画像形成装置
3か月前
株式会社リコー
画像形成装置
2か月前
ヤマハ株式会社
放音制御装置
11日前
サクサ株式会社
無線システム
1か月前
個人
ワイヤレスイヤホン対応耳掛け
1か月前
サクサ株式会社
無線通信装置
1か月前
キヤノン電子株式会社
画像読取装置
25日前
キヤノン電子株式会社
画像読取装置
3日前
株式会社リコー
画像形成装置
2か月前
個人
映像表示装置、及びARグラス
12日前
サクサ株式会社
無線通信装置
1か月前
キヤノン電子株式会社
画像読取装置
2か月前
日本電気株式会社
海底分岐装置
27日前
続きを見る
他の特許を見る