TOP
|
特許
|
意匠
|
商標
特許ウォッチ
Twitter
他の特許を見る
10個以上の画像は省略されています。
公開番号
2025152406
公報種別
公開特許公報(A)
公開日
2025-10-09
出願番号
2024054280
出願日
2024-03-28
発明の名称
カメラシステム
出願人
アイホン株式会社
代理人
個人
主分類
G03B
17/56 20210101AFI20251002BHJP(写真;映画;光波以外の波を使用する類似技術;電子写真;ホログラフイ)
要約
【課題】マイクの向きをカメラの撮像方向に合わせて変更することができるカメラシステムを提供する。
【解決手段】カメラとマイクとが内蔵された本体ケース10を備えたカメラ装置2と、スピーカが内蔵された本体ケース20を備えた通信装置3とを、少なくとも上下方向を軸とした回転動作が可能な角度調整機構部6により連結しているため、マイクの向きをカメラの撮像方向に合わせて変更することができ、カメラにより撮像された映像とマイクにより集音された音声や環境音とが一致しないという状況が起こらない。
【選択図】図1
特許請求の範囲
【請求項1】
カメラ、マイク、及びスピーカを備えているとともに、所定方向を軸とする回転動作によってカメラの撮像方向を調整することができるカメラシステムであって、
前記カメラと前記マイクとが備えられた第1のケースと、前記スピーカが備えられた第2のケースとを有するとともに、
前記第1のケースと前記第2のケースとが、前記所定方向を軸とした回転動作が可能な角度調整機構部により連結されていることを特徴とするカメラシステム。
続きを表示(約 370 文字)
【請求項2】
前記第1のケースに内蔵されている第1の基板と、前記第2のケースに内蔵されている第2の基板とを電気的に接続する接続ケーブルが、前記第1のケースから前記第2のケースにかけて前記角度調整機構部内を通して配されていることを特徴とする請求項1に記載のカメラシステム。
【請求項3】
前記第1のケース内と、前記第2のケース内と、前記角度調整機構部内との少なくとも何れか一箇所において、前記接続ケーブルがゴム若しくは合成樹脂製のケーブル保持部材に挿通され、前記ケーブル保持部材が所定の取付孔に差し込まれた状態で取り付けられているとともに、
前記ケーブル保持部材の周面に、前記ケーブル保持部材の周面と前記取付孔の内面との隙間を塞ぐ凸条部が設けられていることを特徴とする請求項2に記載のカメラシステム。
発明の詳細な説明
【技術分野】
【0001】
本発明は、カメラ、マイク、及びスピーカを備えたカメラシステムに関するものである。
続きを表示(約 2,500 文字)
【背景技術】
【0002】
従来、撮像方向を調整可能とされたカメラを有するカメラシステムには、マイク及びスピーカを備えることがある(たとえば特許文献1)。
【先行技術文献】
【特許文献】
【0003】
特開2022-164670号公報
【発明の概要】
【発明が解決しようとする課題】
【0004】
しかしながら、従来のカメラシステムでは、カメラの撮像方向に合わせてマイクの向きが変わるというようなことがなく、カメラの撮像方向によってはカメラにより撮像された映像とマイクにより集音された音声や環境音とが一致しないという問題があった。また、従来のカメラシステムでは、マイクとスピーカとが同一のケース体に設けられているため、スピーカから発せられた音や声がケース体の内部を通ってマイクに伝わりやすいという問題もある。
【0005】
そこで、本発明は、上記問題に鑑みなされたものであって、マイクの向きをカメラの撮像方向に合わせて変更することができる上、スピーカから発せられた音や声がケース体の内部を通ってマイクに伝わりにくいカメラシステムを提供しようとするものである。
【課題を解決するための手段】
【0006】
上記目的を達成するために、本発明のうち請求項1に記載の発明は、カメラ、マイク、及びスピーカを備えているとともに、所定方向を軸とする回転動作によってカメラの撮像方向を調整することができるカメラシステムであって、カメラとマイクとが備えられた第1のケースと、スピーカが備えられた第2のケースとを有するとともに、第1のケースと第2のケースとが、所定方向を軸とした回転動作が可能な角度調整機構部により連結されていることを特徴とする。
本発明によれば、カメラとマイクとが備えられた第1のケースと、スピーカが備えられた第2のケースとを有するとともに、第1のケースと第2のケースとが、所定方向を軸とした回転動作が可能な角度調整機構部により連結されているため、マイクの向きをカメラの撮像方向に合わせて変更することができ、カメラにより撮像された映像とマイクにより集音された音声や環境音とが一致しないという状況が起こらない。
【0007】
請求項2に記載の発明は、請求項1に記載の発明において、第1のケースに内蔵されている第1の基板と、第2のケースに内蔵されている第2の基板とを電気的に接続する接続ケーブルが、第1のケースから第2のケースにかけて角度調整機構部内を通して配されていることを特徴とする。
請求項2に記載の発明によれば、第1のケースに内蔵されている第1の基板と、第2のケースに内蔵されている第2の基板とを電気的に接続する接続ケーブルが、第1のケースから第2のケースにかけて角度調整機構部内を通して配されているため、接続ケーブルの外部への露出を減らすことができ、カメラの撮像角度の調整時に接続ケーブルが不用意に傷つく等の事態が起こりにくい。
【0008】
請求項3に記載の発明は、請求項2に記載の発明において、第1のケース内と、第2のケース内と、角度調整機構部内との少なくとも何れか一箇所において、接続ケーブルがゴム若しくは合成樹脂製のケーブル保持部材に挿通され、ケーブル保持部材が所定の取付孔に差し込まれた状態で取り付けられているとともに、ケーブル保持部材の周面に、ケーブル保持部材の周面と取付孔の内面との隙間を塞ぐ凸条部が設けられていることを特徴とする
請求項3に記載の発明によれば、第1のケース内と、第2のケース内と、角度調整機構部内との少なくとも何れか一箇所において、接続ケーブルがゴム若しくは合成樹脂製のケーブル保持部材に挿通され、ケーブル保持部材が所定の取付孔に差し込まれた状態で取り付けられているとともに、ケーブル保持部材の周面に、ケーブル保持部材の周面と取付孔の内面との隙間を塞ぐ凸条部が設けられているため、スピーカから発せられた音声が第2のケース内から角度調整機構部内を通って第1のケース内に達しにくくなっている。すなわち、スピーカから発せられた音声がマイクによる集音に影響を及ぼしにくいカメラシステムとすることができる。
【発明の効果】
【0009】
本発明によれば、カメラとマイクとが備えられた第1のケースと、スピーカが備えられた第2のケースとを有するとともに、第1のケースと第2のケースとを、所定方向を軸とした回転動作が可能な角度調整機構部により連結している。したがって、マイクの向きをカメラの撮像方向に合わせて変更することができ、カメラにより撮像された映像とマイクにより集音された音声や環境音とが一致しないという状況が起こらないカメラシステムとすることができる。
【図面の簡単な説明】
【0010】
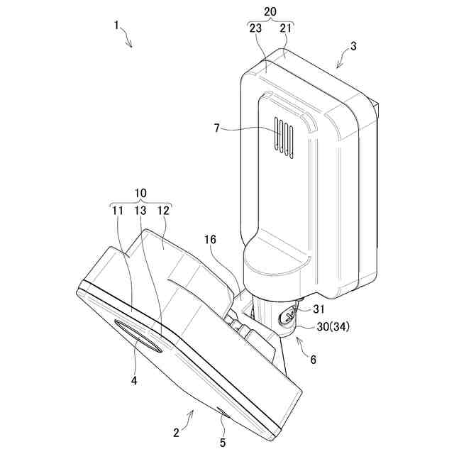
監視カメラの外観を示した斜視説明図である。
化粧パネルが取り外されたカメラ装置の本体ケースを前側から示した説明図である。
通信装置を前側から示した説明図である。
化粧カバーが取り外された通信装置の本体ケースを前側から示した説明図である。
図4の状態にある本体ケースから後金具を分離した状態を前方左斜め上から示した斜視説明図である。
図5と同状態にある本体ケース及び後金具を前方左斜め下から示した斜視説明図である。
分解状態にある後金具を前方左斜め上から示した斜視説明図である。
分解状態にある後金具を前方左斜め下から示した斜視説明図である。
分解状態にある後金具を前方右斜め下から示した斜視説明図である。
連結金具を上側から示した説明図である。
ケース保持部材を示した説明図であり、(a)は前側から、(b)は上側から夫々示している。
【発明を実施するための形態】
(【0011】以降は省略されています)
この特許をJ-PlatPat(特許庁公式サイト)で参照する
関連特許
アイホン株式会社
通信システム
1か月前
アイホン株式会社
カメラシステム
1か月前
アイホン株式会社
カメラ装置の保持構造
1か月前
アイホン株式会社
インターホンシステム
1か月前
アイホン株式会社
インターホンシステム
1か月前
アイホン株式会社
インターホンシステム
1か月前
アイホン株式会社
インターホンシステム
1か月前
アイホン株式会社
仕様情報管理システム
1か月前
アイホン株式会社
鍵貸出システム、鍵貸出システムを備えた集合玄関機
1か月前
アイホン株式会社
インターホンシステムおよびインターホンシステムにおける制御方法
4日前
個人
表示装置
26日前
個人
雨用レンズカバー
24日前
株式会社シグマ
絞りユニット
1か月前
日本精機株式会社
車両用投射装置
1か月前
キヤノン株式会社
撮像装置
1か月前
キヤノン株式会社
撮像装置
1か月前
キヤノン株式会社
撮像装置
17日前
キヤノン株式会社
撮像装置
17日前
キヤノン株式会社
撮像装置
2か月前
キヤノン株式会社
撮像装置
17日前
株式会社リコー
画像形成装置
11日前
株式会社リコー
画像形成装置
11日前
株式会社リコー
画像形成装置
1か月前
株式会社リコー
画像形成装置
2か月前
株式会社リコー
画像形成装置
5日前
株式会社リコー
画像形成装置
2か月前
株式会社リコー
画像形成装置
14日前
株式会社オプトル
プロジェクタ
1か月前
キヤノン株式会社
トナー
1か月前
キヤノン株式会社
画像形成装置
27日前
キヤノン株式会社
トナー
1か月前
キヤノン株式会社
画像形成装置
2か月前
キヤノン株式会社
トナー
20日前
キヤノン株式会社
画像形成装置
13日前
キヤノン株式会社
トナー
2か月前
キヤノン株式会社
現像装置
1か月前
続きを見る
他の特許を見る