TOP
|
特許
|
意匠
|
商標
特許ウォッチ
Twitter
他の特許を見る
10個以上の画像は省略されています。
公開番号
2025166555
公報種別
公開特許公報(A)
公開日
2025-11-06
出願番号
2024070656
出願日
2024-04-24
発明の名称
インターホンシステムおよびインターホンシステムにおける制御方法
出願人
アイホン株式会社
代理人
弁理士法人信栄事務所
主分類
H04M
9/00 20060101AFI20251029BHJP(電気通信技術)
要約
【課題】セキュリティ性を向上させつつ、データ処理の煩雑化を抑制可能なインターホンシステムおよびその制御方法を提供する。
【解決手段】集合玄関機10と、居室親機30と、集合玄関機10および居室親機30を制御する制御機20とを備える。集合玄関機10は、居住者を呼び出す呼出操作部111およびサービス事業者に関連付けられたサービス情報を入力するサービス選択部112を表示可能な表示部11と、来訪者を撮像するカメラ13とを有する。制御機20は、サービス選択部112に対する来訪者の入力操作に基づきカメラ13による第一撮像画像の撮像を開始する第一撮像モードと、呼出操作部111に対する来訪者の呼出操作に基づきカメラ13による第二撮像画像の撮像を開始する第二撮像モードとを実行可能であり、第一撮像モードよりも後に第二撮像モードが実行された場合に、第一撮像画像の代わりに第二撮像画像を居室親機30へ送信する。
【選択図】図2
特許請求の範囲
【請求項1】
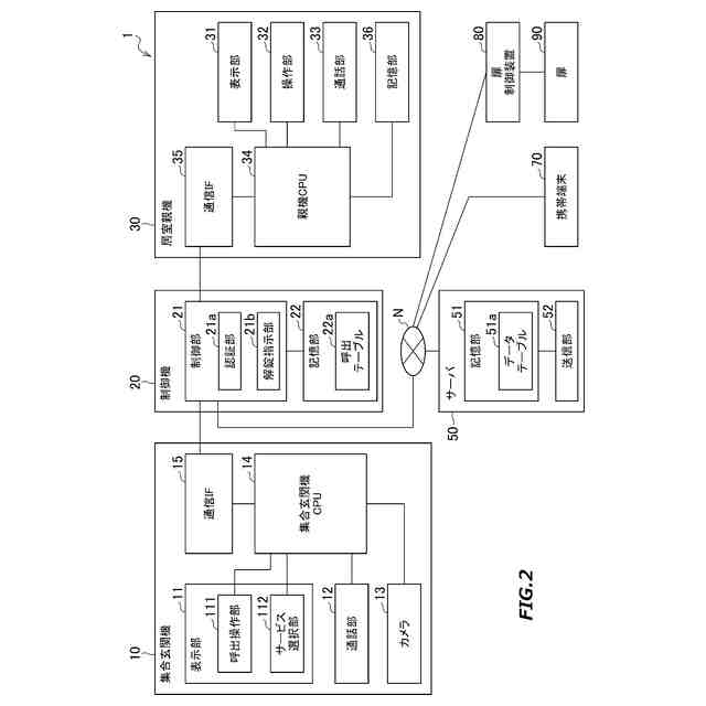
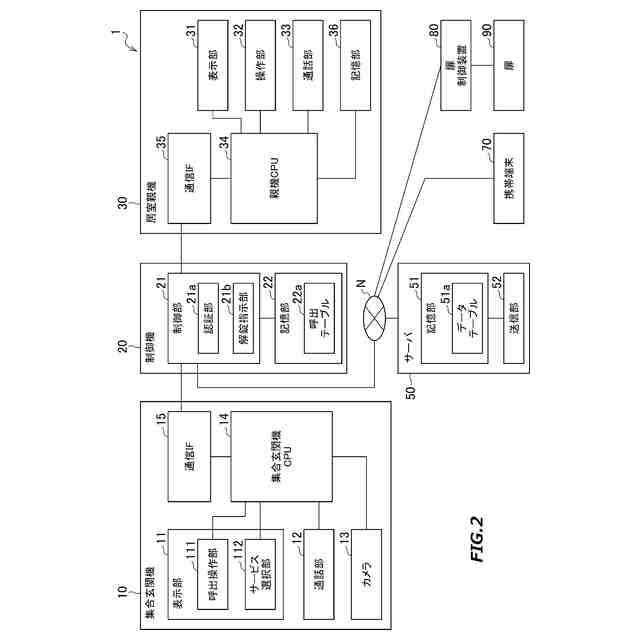
来訪者が居住者を呼び出して通話するための子機と、前記子機からの呼び出しに居住者が応答するための居室親機と、前記子機および前記居室親機の動作を制御する制御部と、を備えたインターホンシステムであって、
前記子機は、前記居住者を呼び出すための呼出操作部およびサービス事業者に関連付けられたサービス情報を入力するための情報入力部を少なくとも表示可能な表示部と、前記来訪者を撮像する撮像部と、を有し、
前記制御部は、
前記情報入力部に対する前記来訪者の入力操作に基づいて前記撮像部における第一撮像画像の撮像を開始する第一撮像モードと、前記呼出操作部に対する前記来訪者の呼出操作に基づいて前記撮像部における第二撮像画像の撮像を開始する第二撮像モードと、を実行可能であり、
前記第一撮像モードよりも後に前記第二撮像モードが実行された場合には、前記第一撮像画像の代わりに前記第二撮像画像を前記居室親機へ送信する、
ように構成されている、インターホンシステム。
続きを表示(約 1,300 文字)
【請求項2】
前記制御部は、前記第一撮像モードよりも後に前記第二撮像モードが実行された場合であって、前記呼出操作に対する前記居室親機からの応答動作を行わないよう設定されている場合には、前記第二撮像画像に加えて、あるいは、前記第二撮像画像の代わりに、前記第一撮像画像を前記居室親機へ送信するよう構成されている、請求項1に記載のインターホンシステム。
【請求項3】
前記制御部は、前記子機及び前記居室親機を備えた集合住宅の入口に設置された扉の施錠及び解錠を制御する扉制御装置と通信可能であり、
前記制御部は、
前記子機または前記来訪者が携帯する端末の少なくとも一方から、前記サービス情報を含む解錠要求を受け付けた場合に、前記サービス情報の認証を実行し、
前記認証が成功した場合に、前記扉制御装置に解錠指示を送信し、
前記来訪者の前記集合住宅内への入館を通知するための入館通知を前記第一撮像画像とともに前記居室親機へ送信する、
よう構成されている、請求項2に記載のインターホンシステム。
【請求項4】
前記制御部は、前記第一撮像画像を記憶する第一記憶部を有し、
前記居室親機は、前記制御部から受信した少なくとも前記第二撮像画像を記憶する第二記憶部を有し、
前記制御部は、所定の期間経過後に、前記第一撮像画像を前記第一記憶部から消去させるように構成されている、請求項1または2に記載のインターホンシステム。
【請求項5】
前記入力操作は、所定のサービスの実行を開始するための第一入力操作と、前記第一入力操作の後に前記所定のサービスの実施者の属性を入力するための第二入力操作と、前記第二入力操作の後に前記所定のサービスに関する識別番号を入力するための第三入力操作と、を含み、
前記制御部は、前記第一入力操作を受けて前記第一撮像モードを実行するよう構成されている、請求項1または2に記載のインターホンシステム。
【請求項6】
来訪者が居住者を呼び出して通話するための子機と、前記子機からの呼び出しに居住者が応答するための居室親機と、前記子機と前記居室親機とを通信可能に制御する制御部と、を備えたインターホンシステムにおける制御方法であって、
サービス事業者に関連付けられたサービス情報を入力するために前記子機に設けられた情報入力部に対する入力操作を受け付けるステップと、
前記子機から前記居室親機への呼出動作を実行させるために前記子機に設けられた呼出操作部に対する呼出操作を受け付けるステップと、
前記情報入力部に対する前記入力操作に基づいて前記子機に設けられた撮像部における第一撮像画像の撮像を開始する第一撮像モードを実行するステップと
前記呼出操作部に対する前記呼出操作に基づいて前記撮像部における第二撮像画像の撮像を開始する第二撮像モードを実行するステップと、
前記第一撮像モードよりも後に前記第二撮像モードが実行された場合には、前記第一撮像画像の代わりに前記第二撮像画像を前記居室親機へ送信するステップと、
を含む、制御方法。
発明の詳細な説明
【技術分野】
【0001】
本発明は、インターホンシステムおよびインターホンシステムにおける制御方法に関する。
続きを表示(約 2,400 文字)
【背景技術】
【0002】
近年、荷物の受取人が配送先の住宅等に不在である場合に、指定された場所に荷物を置くことで配送を完了する、いわゆる置き配と呼ばれる配送形態が増えてきている。置き配を用いた配送サービスにおいて、集合住宅等への立ち入りを許可されている来訪者を対象に、集合住宅等の入口に設置されているオートロック扉を自動で解錠するための種々の技術が提案されている(例えば、特許文献1、特許文献2)。
【先行技術文献】
【特許文献】
【0003】
特開2021-14729号公報
特開2020-53047号公報
【発明の概要】
【発明が解決しようとする課題】
【0004】
特許文献1や特許文献2に開示の技術では、居住者による操作なしに来訪者側での操作のみでオートロック扉の解錠が可能となるためセキュリティ対策の面では改善の余地がある。
【0005】
そこで、本発明は、セキュリティ性を向上させつつ、データ処理の煩雑化を抑制可能なインターホンシステムおよび当該インターホンシステムにおける制御方法を提供することを目的とする。
【課題を解決するための手段】
【0006】
上記目的を達成するために、本発明のインターホンシステムは、
来訪者が居住者を呼び出して通話するための子機と、前記子機からの呼び出しに居住者が応答するための居室親機と、前記子機および前記居室親機の動作を制御する制御部と、を備えたインターホンシステムであって、
前記子機は、前記居住者を呼び出すための呼出操作部およびサービス事業者に関連付けられたサービス情報を入力するための情報入力部を少なくとも表示可能な表示部と、前記来訪者を撮像する撮像部と、を有し、
前記制御部は、
前記情報入力部に対する前記来訪者の入力操作に基づいて前記撮像部における第一撮像画像の撮像を開始する第一撮像モードと、前記呼出操作部に対する前記来訪者の呼出操作に基づいて前記撮像部における第二撮像画像の撮像を開始する第二撮像モードと、を実行可能であり、
前記第一撮像モードよりも後に前記第二撮像モードが実行された場合には、前記第一撮像画像の代わりに前記第二撮像画像を前記居室親機へ送信する、
ように構成されている。
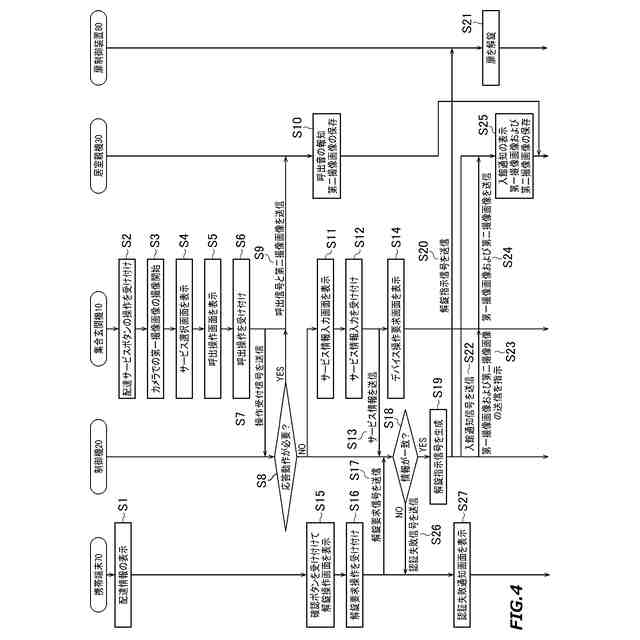
【0007】
上記構成によれば、例えば宅配業者等のサービス事業者が住宅を訪問した際に、宅配業者が情報入力部に対する入力操作を行ったタイミングで撮像部により来訪者の撮像(第一撮像画像の撮像)が開始される。これにより、従来よりも早いタイミングから来訪者の撮像が開始されるため、必要に応じて第一撮像画像を後から確認することができ、セキュリティ性を向上させることができる。また、その一方で、情報入力部での入力操作がなされた後に呼出操作部に対する呼出操作がなされた場合には、呼出操作のタイミングで撮像された第二撮像画像が第一撮像画像の代わりに居室親機に送信される。これにより、呼出操作がなされて居住者が応答動作を実行する場合には、第二撮像画像のみが居室親機側で確認できるため、居室親機側でのデータ処理の煩雑化や保存データ量の増大を避けることができる。
【0008】
また、上記目的を達成するために、本発明のインターホンシステムにおける制御方法は、
来訪者が居住者を呼び出して通話するための子機と、前記子機からの呼び出しに居住者が応答するための居室親機と、前記子機と前記居室親機とを通信可能に制御する制御部と、を備えたインターホンシステムにおける制御方法であって、
サービス事業者に関連付けられたサービス情報を入力するために前記子機に設けられた情報入力部に対する入力操作を受け付けるステップと、
前記子機から前記居室親機への呼出動作を実行させるために前記子機に設けられた呼出操作部に対する呼出操作を受け付けるステップと、
前記情報入力部に対する前記入力操作に基づいて前記子機に設けられた撮像部における第一撮像画像の撮像を開始する第一撮像モードを実行するステップと、
前記呼出操作部に対する前記呼出操作に基づいて前記撮像部における第二撮像画像の撮像を開始する第二撮像モードを実行するステップと、
前記第一撮像モードよりも後に前記第二撮像モードが実行された場合には、前記第一撮像画像の代わりに前記第二撮像画像を前記居室親機へ送信するステップと、
を含む。
【0009】
上記構成によれば、例えば宅配業者等のサービス事業者が住宅を訪問した際に、宅配業者が情報入力部に対する入力操作を行ったタイミングで撮像部により来訪者の撮像(第一撮像画像の撮像)が開始されるので、従来よりも早いタイミングから来訪者の撮像が開始され、必要に応じて第一撮像画像を後から確認することができ、セキュリティ性を向上させることができる。また、情報入力部での入力操作がなされた後に呼出操作部に対する呼出操作がなされた場合には、呼出操作のタイミングで撮像された第二撮像画像が第一撮像画像の代わりに居室親機に送信されるので、呼出操作がなされて居住者が応答動作を実行するときに、第二撮像画像のみを居室親機側で確認することができ、居室親機側でのデータ処理の煩雑化や保存データ量の増大を避けることができる。
【発明の効果】
【0010】
本発明によれば、セキュリティ性を向上させつつ、データ処理の煩雑化を抑制可能なインターホンシステムおよび当該インターホンシステムにおける制御方法を提供することができる。
【図面の簡単な説明】
(【0011】以降は省略されています)
この特許をJ-PlatPat(特許庁公式サイト)で参照する
関連特許
アイホン株式会社
インターホンシステム
4日前
アイホン株式会社
インターホンシステム
4日前
アイホン株式会社
インターホンシステムおよびインターホンシステムにおける制御方法
1か月前
個人
イヤーピース
1か月前
個人
イヤーマフ
1か月前
個人
監視カメラシステム
1か月前
キーコム株式会社
光伝送線路
1か月前
個人
スイッチシステム
1か月前
WHISMR合同会社
収音装置
2か月前
サクサ株式会社
中継装置
2か月前
サクサ株式会社
中継装置
2か月前
個人
スキャン式車載用撮像装置
1か月前
キヤノン株式会社
撮像装置
4日前
キヤノン株式会社
撮像装置
4日前
キヤノン株式会社
撮像装置
4日前
キヤノン株式会社
撮像装置
11日前
アイホン株式会社
電気機器
2か月前
キヤノン電子株式会社
画像読取装置
1か月前
個人
映像表示装置、及びARグラス
1か月前
キヤノン電子株式会社
画像読取装置
1か月前
キヤノン電子株式会社
画像読取装置
3か月前
ヤマハ株式会社
放音制御装置
1か月前
サクサ株式会社
無線システム
2か月前
キヤノン電子株式会社
画像読取装置
1か月前
サクサ株式会社
無線通信装置
2か月前
個人
ワイヤレスイヤホン対応耳掛け
2か月前
株式会社リコー
画像形成装置
1か月前
サクサ株式会社
無線通信装置
2か月前
キヤノン株式会社
撮像システム
2か月前
キヤノン電子株式会社
シート搬送装置
1か月前
日本電気株式会社
海底分岐装置
1か月前
個人
発信機及び発信方法
2か月前
キヤノン株式会社
画像処理装置
1か月前
キヤノン株式会社
情報処理装置
19日前
シャープ株式会社
表示装置
1か月前
日本セラミック株式会社
超音波送受信器
19日前
続きを見る
他の特許を見る