TOP
|
特許
|
意匠
|
商標
特許ウォッチ
Twitter
他の特許を見る
10個以上の画像は省略されています。
公開番号
2025144749
公報種別
公開特許公報(A)
公開日
2025-10-03
出願番号
2024044586
出願日
2024-03-21
発明の名称
解錠管理方法および解錠管理システム
出願人
ヤマハ株式会社
代理人
弁理士法人旺知国際特許事務所
主分類
E05B
49/00 20060101AFI20250926BHJP(錠;鍵;窓または戸の付属品;金庫)
要約
【課題】集合住宅の来訪者に対して共用玄関ドアを解錠する仕組を簡便な構成により実現する。
【解決手段】解錠管理システムは、集合住宅における共用玄関ドアの解錠が可能な後付けの解錠装置と、集合住宅の来訪者の第1端末装置および集合住宅の関係者の第2端末装置の各々と通信する制御システムとを具備する。制御システムは、共用玄関ドアの近傍に設置された識別画像の読取により集合住宅の識別情報を取得した第1端末装置から、当該識別情報を含む利用要求を受信し、第1端末装置と識別情報に対応する第2端末装置との間の通信を利用要求に応じて開始し、解錠装置は、通信の開始後において第2端末装置に対する関係者からの指示に応じて共用玄関ドアを解錠する。
【選択図】図1
特許請求の範囲
【請求項1】
集合住宅における共用玄関ドアの解錠が可能な後付けの解錠装置と、
前記集合住宅の来訪者の第1端末装置および前記集合住宅の関係者の第2端末装置の各々と通信する制御システムと
により実現される解錠管理方法であって、
前記制御システムは、
前記共用玄関ドアの近傍に設置された識別画像の読取により前記集合住宅の識別情報を取得した前記第1端末装置から、当該識別情報を含む利用要求を受信し、
前記第1端末装置と前記識別情報に対応する前記第2端末装置との間の通信を前記利用要求に応じて開始し、
前記解錠装置は、
前記通信の開始後において前記第2端末装置に対する前記関係者からの指示に応じて前記共用玄関ドアを解錠する
解錠管理方法。
続きを表示(約 1,000 文字)
【請求項2】
前記制御システムは、さらに、
前記集合住宅の複数の住戸の何れかの指定を前記第1端末装置から受付け、
前記通信の開始においては、前記識別情報が示す前記集合住宅の複数の住戸のうち前記指定に係る住戸について登録された前記第2端末装置と、前記第1端末装置との間の通信を開始する
請求項1の解錠管理方法。
【請求項3】
前記第1端末装置は、
前記識別画像の読取により、前記制御システムの所在を表す接続情報と、前記集合住宅の識別情報とを取得し、
前記接続情報が示す前記制御システムに対して、前記識別情報を含む前記利用要求を送信する
請求項1または請求項2の解錠管理方法。
【請求項4】
前記制御システムは、
前記第1端末装置から前記利用要求を受信すると、前記第1端末装置との通信の許否を前記第2端末装置に照会し、前記第1端末装置との通信を前記関係者が許可した場合に前記通信を開始する
請求項1の解錠管理方法。
【請求項5】
前記第1端末装置からの前記利用要求により前記共用玄関ドアが解錠された場合、前記来訪者による以後の来訪においては、前記制御システムと前記解錠装置との間の通信により、前記解錠装置は前記共用玄関ドアを解錠する
請求項1の解錠管理方法。
【請求項6】
前記識別画像は、前記解錠装置とは別体の提示部により提示される
請求項1の解錠管理方法。
【請求項7】
前記第2端末装置は、前記解錠装置と通信可能であり、
前記第1端末装置は、前記解錠装置と通信できない
請求項1の解錠管理方法。
【請求項8】
集合住宅における共用玄関ドアの解錠が可能な後付けの解錠装置と、
前記集合住宅の来訪者の第1端末装置および前記集合住宅の関係者の第2端末装置の各々と通信する制御システムとを具備し、
前記制御システムは、
前記共用玄関ドアの近傍に設置された識別画像の読取により前記集合住宅の識別情報を取得した前記第1端末装置から、当該識別情報を含む利用要求を受信し、
前記第1端末装置と前記識別情報に対応する前記第2端末装置との間の通信を前記利用要求に応じて開始し、
前記解錠装置は、
前記通信の開始後において前記第2端末装置に対する前記関係者からの指示に応じて前記共用玄関ドアを解錠する
解錠管理システム。
発明の詳細な説明
【技術分野】
【0001】
本開示は、例えば集合住宅等に設置された解錠装置の解錠および施錠を管理する技術に関する。
続きを表示(約 2,300 文字)
【背景技術】
【0002】
例えばスマートフォン等の端末装置を利用して住戸の玄関ドアを解錠する技術が従来から提案されている。例えば非特許文献1には、集合住宅の共用玄関に設置されたインターホンシステムにスマートフォンからアクセスすることで、集合住宅の居住者が共用玄関ドアを遠隔で解錠できることが開示されている。
【先行技術文献】
【非特許文献】
【0003】
アイホン株式会社,スマートフォン・タブレット連動,[online],[令和6年2月1日検索],インターネット,<https://www.aiphone.co.jp/products/complex/system/vixusadvance/feature/mobile.html>
【発明の概要】
【発明が解決しようとする課題】
【0004】
非特許文献1の技術によれば、集合住宅のインターホンシステムと居住者のスマートフォンとの通信により居住者が来訪者と通話したうえで、居住者が遠隔から共用玄関ドアを解錠できる。したがって、例えば居住者が解錠した共用玄関ドアから宅配業者が集合住宅に入館し、住戸の専用玄関前に配達物を配達すること(すなわち置き配)が可能である。
【0005】
しかし、非特許文献1の技術では、集合住宅の共用玄関に専用のインターホンシステムを設置する必要がある。したがって、既存の集合住宅に導入するには、設置済のインターホンシステムを交換する大規模な工事が必要となり、設置コストが大きいという問題がある。以上の事情を考慮して、本開示のひとつの態様は、集合住宅の来訪者に対して共用玄関ドアを解錠する仕組を簡便な構成により実現することを目的とする。
【課題を解決するための手段】
【0006】
以上の課題を解決するために、本開示のひとつの態様に係る解錠管理方法は、集合住宅における共用玄関ドアの解錠が可能な後付けの解錠装置と、前記集合住宅の来訪者の第1端末装置および前記集合住宅の関係者の第2端末装置の各々と通信する制御システムとにより実現される解錠管理方法であって、前記制御システムは、前記共用玄関ドアの近傍に設置された識別画像の読取により前記集合住宅の識別情報を取得した前記第1端末装置から、当該識別情報を含む利用要求を受信し、前記第1端末装置と前記識別情報に対応する前記第2端末装置との間の通信を前記利用要求に応じて開始し、前記解錠装置は、前記通信の開始後において前記第2端末装置に対する前記関係者からの指示に応じて前記共用玄関ドアを解錠する。
【0007】
本開示のひとつの態様に係る解錠管理システムは、集合住宅における共用玄関ドアの解錠が可能な後付けの解錠装置と、前記集合住宅の来訪者の第1端末装置および前記集合住宅の関係者の第2端末装置の各々と通信する制御システムとを具備し、前記制御システムは、前記共用玄関ドアの近傍に設置された識別画像の読取により前記集合住宅の識別情報を取得した前記第1端末装置から、当該識別情報を含む利用要求を受信し、前記第1端末装置と前記識別情報に対応する前記第2端末装置との間の通信を前記利用要求に応じて開始し、前記解錠装置は、前記通信の開始後において前記第2端末装置に対する前記関係者からの指示に応じて前記共用玄関ドアを解錠する。
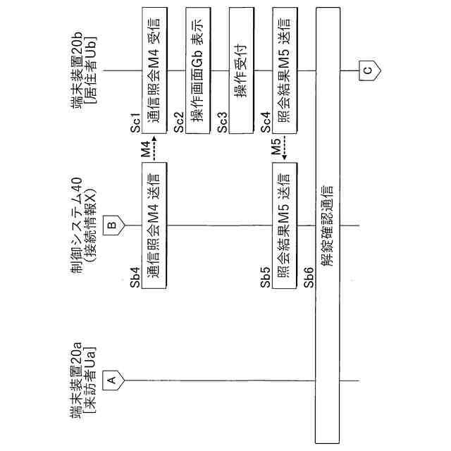
【図面の簡単な説明】
【0008】
第1実施形態に係る解錠管理システムのブロック図である。
端末装置のブロック図である。
制御システムのブロック図である。
管理テーブルの模式図である。
解錠管理システムの動作のフローチャートである。
解錠管理システムの動作のフローチャートである。
解錠管理システムの動作のフローチャートである。
操作画面の模式図である。
操作画面の模式図である。
操作画面の模式図である。
第2実施形態における解錠管理システムの動作のフローチャートである。
変形例における制御システムの動作のフローチャートである。
変形例における制御システムの動作のフローチャートである。
【発明を実施するための形態】
【0009】
A:第1実施形態
図1は、第1実施形態における解錠管理システム100の構成を例示するブロック図である。解錠管理システム100は、例えばマンションまたはアパート等の集合住宅10における共用玄関ドア11の施錠および解錠を管理するための情報システムである。共用玄関ドア11は、集合住宅10の各住戸の居住者Ubが共用する玄関ドアであり、集合住宅10に入館するための共用玄関に設置される。解錠管理システム100は、端末装置20aと端末装置20bと解錠装置30と制御システム40とを具備する。
【0010】
集合住宅10には来訪者Uaが来訪する。来訪者Uaは、居住者Ubを宛先とする配達物15を配送する宅配業者の配達員である。解錠管理システム100を利用して共用玄関ドア11が解錠されることで、来訪者Uaは集合住宅10に入館し、居住者Ubの住戸に来訪できる。来訪者Uaは、居住者Ubの住戸にて居住者Ubに配達物15を直接的に手渡してもよいし、居住者Ubの住戸における専用玄関の近傍に配達物15を配達(すなわち置き配)してもよい。なお、居住者Ubは、集合住宅10内に所在してもよいし集合住宅10以外の任意の場所に外出していてもよい。
(【0011】以降は省略されています)
この特許をJ-PlatPat(特許庁公式サイト)で参照する
関連特許
ヤマハ株式会社
放音制御装置
19日前
ヤマハ株式会社
ドライバユニット
1か月前
ヤマハ株式会社
音処理方法および音処理装置
2か月前
ヤマハ株式会社
音処理装置および音処理方法
2か月前
ヤマハ株式会社
音処理方法および音処理装置
1か月前
ヤマハ株式会社
音処理システム及び音処理方法
1か月前
ヤマハ株式会社
収音制御方法および収音制御装置
1か月前
ヤマハ株式会社
音声処理方法および音声処理装置
1か月前
ヤマハ株式会社
解錠管理方法および解錠管理システム
1か月前
ヤマハ株式会社
駆動装置、音響装置および車両用ドア
1か月前
ヤマハ株式会社
音信号処理方法および音信号処理装置
1か月前
ヤマハ株式会社
データ処理方法およびデータ処理装置
2か月前
ヤマハ株式会社
信号処理の方法、プログラムおよび装置
1か月前
ヤマハ株式会社
画像処理方法、画像処理装置及びプログラム
1か月前
ヤマハ株式会社
スピーカ装置、音信号処理方法及びプログラム
1か月前
ヤマハ株式会社
情報処理方法、情報処理システムおよびプログラム
1か月前
ヤマハ株式会社
情報処理方法、情報処理システムおよびプログラム
2か月前
ヤマハ株式会社
パネル
3か月前
ヤマハ株式会社
処理装置
13日前
ヤマハ株式会社
定位提供方法、定位提供システムおよび定位提供プログラム
2か月前
ヤマハ株式会社
スクリーンユニット
2か月前
ヤマハ株式会社
再生データ生成方法
1か月前
ヤマハ株式会社
オーディオデータ処理装置、推論装置、及びオーディオデータ処理方法
1か月前
ヤマハ株式会社
鍵盤装置及び演奏操作装置
4日前
ヤマハ株式会社
音響信号処理装置、楽器、音響信号処理方法および音響信号処理プログラム
22日前
ヤマハ株式会社
演奏操作装置および鍵盤楽器
1か月前
ヤマハ株式会社
音の処理方法及び音処理装置
1か月前
ヤマハ株式会社
楽器用検出システムおよび楽器
2か月前
ヤマハ株式会社
モデルデータ決定方法、モデルデータ決定装置およびモデルデータ決定プログラム
1か月前
ヤマハ株式会社
情報処理装置、及びその制御方法
2か月前
ヤマハ株式会社
楽器用ペダルユニットおよび電子鍵盤装置
2か月前
ヤマハ株式会社
音信号処理方法および音信号処理システム
2か月前
ヤマハ株式会社
映像出力方法、映像出力装置および映像出力システム
1か月前
ヤマハ株式会社
データ出力方法、プログラム、データ出力装置および電子楽器
4日前
個人
物品保管箱
3か月前
個人
防犯用ドア装置
3か月前
続きを見る
他の特許を見る