TOP
|
特許
|
意匠
|
商標
特許ウォッチ
Twitter
他の特許を見る
10個以上の画像は省略されています。
公開番号
2025173419
公報種別
公開特許公報(A)
公開日
2025-11-27
出願番号
2024079002
出願日
2024-05-14
発明の名称
鍵盤装置
出願人
ヤマハ株式会社
代理人
弁理士法人高橋・林アンドパートナーズ
主分類
G10H
1/34 20060101AFI20251119BHJP(楽器;音響)
要約
【課題】流体を用いた抵抗によりタッチ感を得る場合に、磁場制御とは異なる方法で押鍵時と離鍵時で発生する抵抗を異ならせること
【解決手段】一実施形態における鍵盤装置10は、押下可能に配置された第1鍵70と、流体を囲んで保持するための保持部23と、第1鍵70が押下されるときに力を受けて流体29の中を第1方向に移動するように構成された第1移動体21と、を含む。第1移動体21は、第1方向に移動するときに流体29から受ける力が、第1鍵70が第1方向とは逆の第2方向に移動するときに流体29から受ける力より大きくなる形状を有する。
【選択図】図2
特許請求の範囲
【請求項1】
押下可能に配置された第1鍵と、
流体を囲んで保持するための保持部と、
前記第1鍵が押下されるときに力を受けて前記流体の中を第1方向に移動するように構成された第1移動体と、
を含み、
前記第1移動体は、前記第1方向に移動するときに前記流体から受ける力が、前記第1鍵が前記第1方向とは逆の第2方向に移動するときに前記流体から受ける力より大きくなる形状を有する、
鍵盤装置。
続きを表示(約 320 文字)
【請求項2】
前記第1鍵に隣接し、押下可能に配置された第2鍵と、
前記第2鍵が押下されるときに力を受けて前記流体の中を前記第1方向に移動する第2移動体と、
をさらに含み、
前記第1移動体と前記第2移動体とが移動する前記流体は、1つの領域において前記保持部に囲まれている、
請求項1に記載の鍵盤装置。
【請求項3】
発音体と、
前記発音体を打撃するための打撃部と、
前記第1鍵が押下されたことを検出するための検出部と、
前記第1鍵の検出結果に応じて前記打撃部が前記発音体を打撃するように制御する制御部と、
を含む、請求項1または請求項2に記載の鍵盤装置。
発明の詳細な説明
【技術分野】
【0001】
本発明は、鍵盤装置に関する。
続きを表示(約 1,900 文字)
【背景技術】
【0002】
鍵盤装置において押鍵するときの感覚(以下、タッチ感という)は、目的に応じて様々に設計される。例えば、電子ピアノのタッチ感は、アコースティックピアノに近いタッチ感が得られるように設計される。タッチ感の設計においては、様々なパラメータに依存する負荷を制御する必要がある。特許文献1には、磁性流体を用いた抵抗をタッチ感の設計に利用する技術が開示されている。
【先行技術文献】
【特許文献】
【0003】
特開2009-236985号公報
【発明の概要】
【発明が解決しようとする課題】
【0004】
押鍵時には指に反力を与えることでタッチ感が得られるが、離鍵時には鍵が速やかにレスト位置に戻るようにすることが必要である。一方、流体を用いた抵抗は、流体中を移動する物体に対して移動方向とは反対向きに発生するため、離鍵時において鍵がレスト位置に戻るときにも、その移動を妨げるように抵抗が発生する。特許文献1においては、磁性流体を用いることで、磁場を制御して離鍵時の抵抗を小さくしている。しかしながら、磁性流体を用いたり、鍵の動きに連動して精密に磁場を制御したりすることは、多くのコストを必要とする。
【0005】
本発明の目的の一つは、流体を用いた抵抗によりタッチ感を得る場合に、新たな方法で押鍵時と離鍵時とで発生する抵抗を異ならせることにある。
【課題を解決するための手段】
【0006】
一実施形態における鍵盤装置は、押下可能に配置された第1鍵と、流体を囲んで保持するための保持部と、前記第1鍵が押下されるときに力を受けて前記流体の中を第1方向に移動するように構成された第1移動体と、を含む。前記第1移動体は、前記第1方向に移動するときに前記流体から受ける力が、前記第1鍵が前記第1方向とは逆の第2方向に移動するときに前記流体から受ける力より大きくなる形状を有する。
【発明の効果】
【0007】
本発明の一実施形態によれば、流体を用いた抵抗によりタッチ感を得る場合に、新たな方法で押鍵時と離鍵時とで発生する抵抗を異ならせることができる。
【図面の簡単な説明】
【0008】
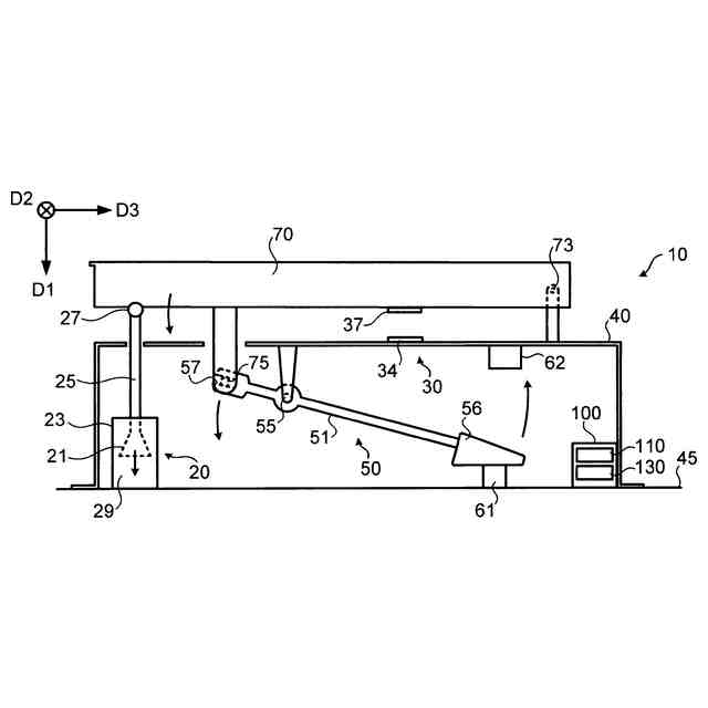
一実施形態における鍵盤装置の外観を説明するための図である。
一実施形態における鍵盤部の構成を説明するための図である。
一実施形態における鍵盤部の動作を説明するための図である。
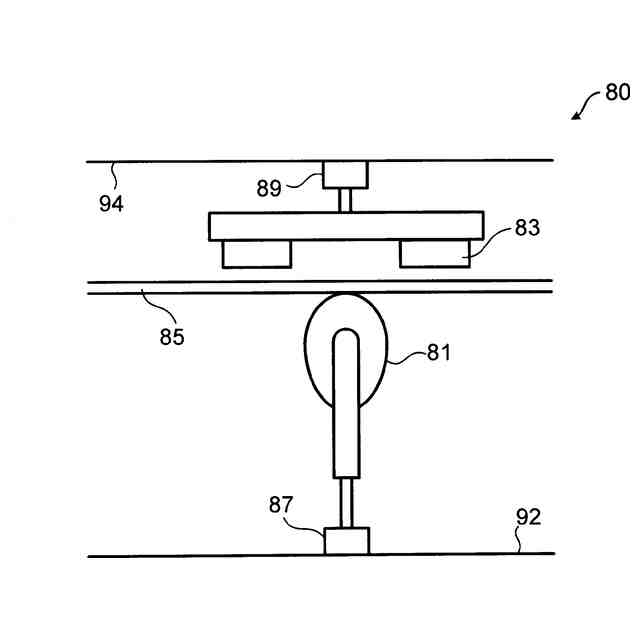
一実施形態における流体負荷部の構成を説明するための図である。
一実施形態における流体負荷部の構成を説明するための図である。
一実施形態における発音部の構成を説明するための図である。
一実施形態における発音部の動作を説明するための図である。
変形例における鍵盤部の構成を説明するための図である。
変形例における鍵盤部の動作を説明するための図である。
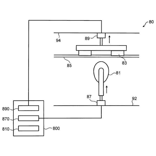
変形例における流体負荷部の構成を説明するための図である。
変形例における流体負荷部の構成を説明するための図である。
変形例における流体負荷部の構成を説明するための図である。
変形例における流体負荷部の構成を説明するための図である。
変形例における鍵盤部の構成を説明するための図である。
変形例における鍵盤部の構成を説明するための図である。
【発明を実施するための形態】
【0009】
以下、本発明の一実施形態における鍵盤装置について、図面を参照しながら詳細に説明する。以下に示す実施形態は一例であって、本発明はこれらの実施形態に限定して解釈されるものではない。なお、本実施形態で参照する図面において、同一部分または同様な機能を有する部分には同一の符号または類似の符号(数字の後にA、B等を付しただけの符号)を付し、その繰り返しの説明は省略する場合がある。また、図面の寸法比率は説明の都合上実際の比率とは異なったり、構成の一部が図面から省略されたりする場合がある。
【0010】
<実施形態>
一実施形態における鍵盤装置は、流体と流体の中を移動する移動体によって発生した抵抗を用いてタッチ感を発生させる構成を含む。以下、鍵盤装置について詳細を説明する。以下の説明において、「上」、「下」、「左」、「右」、「手前」、「奥」といった表現は、鍵盤装置の演奏者から見た位置関係を示す。
(【0011】以降は省略されています)
この特許をJ-PlatPat(特許庁公式サイト)で参照する
関連特許
ヤマハ株式会社
鍵盤装置
2日前
ヤマハ株式会社
放音制御装置
1か月前
ヤマハ株式会社
ドライバユニット
1か月前
ヤマハ株式会社
音処理装置及び音処理方法
9日前
ヤマハ株式会社
音処理方法および音処理装置
2か月前
ヤマハ株式会社
音処理装置および音処理方法
2か月前
ヤマハ株式会社
音処理方法および音処理装置
2か月前
ヤマハ株式会社
音処理システム及び音処理方法
1か月前
ヤマハ株式会社
収音制御方法および収音制御装置
1か月前
ヤマハ株式会社
音声処理方法および音声処理装置
1か月前
ヤマハ株式会社
駆動装置、音響装置および車両用ドア
2か月前
ヤマハ株式会社
音信号処理方法および音信号処理装置
1か月前
ヤマハ株式会社
解錠管理方法および解錠管理システム
1か月前
ヤマハ株式会社
データ処理方法およびデータ処理装置
3か月前
ヤマハ株式会社
信号処理の方法、プログラムおよび装置
1か月前
ヤマハ株式会社
画像処理方法、画像処理装置及びプログラム
1か月前
ヤマハ株式会社
スピーカ装置、音信号処理方法及びプログラム
1か月前
ヤマハ株式会社
情報処理方法、情報処理システムおよびプログラム
2か月前
ヤマハ株式会社
情報処理方法、情報処理システムおよびプログラム
1か月前
ヤマハ株式会社
処理装置
24日前
ヤマハ株式会社
再生データ生成方法
1か月前
ヤマハ株式会社
スクリーンユニット
2か月前
ヤマハ株式会社
オーディオデータ処理装置、推論装置、及びオーディオデータ処理方法
1か月前
ヤマハ株式会社
音響信号処理装置、楽器、音響信号処理方法および音響信号処理プログラム
1か月前
ヤマハ株式会社
鍵盤装置及び演奏操作装置
15日前
ヤマハ株式会社
音の処理方法及び音処理装置
1か月前
ヤマハ株式会社
演奏操作装置および鍵盤楽器
1か月前
ヤマハ株式会社
楽器用検出システムおよび楽器
2か月前
ヤマハ株式会社
モデルデータ決定方法、モデルデータ決定装置およびモデルデータ決定プログラム
1か月前
ヤマハ株式会社
情報処理装置、及びその制御方法
2か月前
ヤマハ株式会社
コード推定装置およびコード推定方法
3日前
ヤマハ株式会社
映像出力方法、映像出力装置および映像出力システム
1か月前
ヤマハ株式会社
データ出力方法、プログラム、データ出力装置および電子楽器
15日前
個人
遮音材
22日前
個人
歌唱補助器具
1か月前
個人
管楽器用リガチャ-
1か月前
続きを見る
他の特許を見る