TOP
|
特許
|
意匠
|
商標
特許ウォッチ
Twitter
他の特許を見る
公開番号
2025157613
公報種別
公開特許公報(A)
公開日
2025-10-15
出願番号
2025131885,2022049805
出願日
2025-08-06,2022-03-25
発明の名称
再生データ生成方法
出願人
ヤマハ株式会社
代理人
弁理士法人高橋・林アンドパートナーズ
主分類
G10H
1/00 20060101AFI20251007BHJP(楽器;音響)
要約
【課題】ユーザの演奏に追従した自動処理において、ユーザに与える臨場感を高めること
【解決手段】一実施形態におけるデータ出力方法は、演奏操作によって生成される演奏データを取得することと、演奏データに基づいて所定の楽譜における楽譜演奏位置を特定することと、楽譜演奏位置に基づいて第1データを再生することと、第1データに対応して設定された第1仮想位置に応じた第1位置情報を当該第1データに付与することと、第1位置情報が付与された第1データを含む再生データを出力することと、を含む。
【選択図】図7
特許請求の範囲
【請求項1】
演奏操作によって生成される演奏データを取得することと、
前記演奏データに基づいて所定の楽譜における楽譜演奏位置を特定することと、
前記楽譜演奏位置に基づいて、予め設定された第1演奏パートの演奏音に対応した音データ、又は、前記第1演奏パートの演奏者画像に対応した動画データを含む第1データを再生することと、
前記第1データに対応して設定された第1仮想位置に応じた第1位置情報を当該第1データに付与することと、
前記第1位置情報が付与された前記第1データを含む再生データを出力することと、
を含み、
前記第1仮想位置は、さらに前記楽譜演奏位置に対応して設定されている、
データ出力方法。
発明の詳細な説明
【技術分野】
【0001】
本発明はデータを出力する技術に関する。
続きを表示(約 1,700 文字)
【背景技術】
【0002】
所定の楽曲についてユーザによる演奏によって得られた音データを解析することによって、その楽曲における楽譜上の演奏位置を特定する技術が提案されている。この技術を自動演奏に適用することによって、ユーザによる演奏に追従した自動演奏を実現する技術も提案されている(例えば、特許文献1)。
【先行技術文献】
【特許文献】
【0003】
特開2017-207615号公報
【発明の概要】
【発明が解決しようとする課題】
【0004】
ユーザの演奏に自動演奏を追従させることによって、一人で演奏していたとしても複数人で演奏している感覚を得ることができる。ユーザに対して、より臨場感を高めることが求められている。
【0005】
本発明の目的の一つは、ユーザの演奏に追従した自動処理において、ユーザに与える臨場感を高めることにある。
【課題を解決するための手段】
【0006】
一実施形態によれば、演奏操作によって生成される演奏データを取得することと、前記演奏データに基づいて所定の楽譜における楽譜演奏位置を特定することと、前記楽譜演奏位置に基づいて第1データを再生することと、前記第1データに対応して設定された第1仮想位置に応じた第1位置情報を当該第1データに付与することと、前記第1位置情報が付与された前記第1データを含む再生データを出力することと、を含む、データ出力方法が提供される。
【発明の効果】
【0007】
本発明によれば、ユーザの演奏に追従した自動処理において、ユーザに与える臨場感を高めることができる。
【図面の簡単な説明】
【0008】
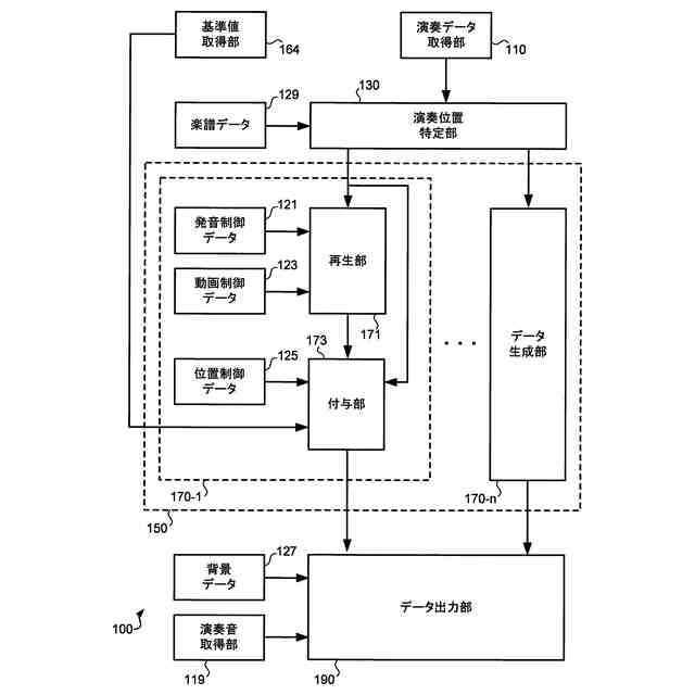
第1実施形態におけるシステム構成を説明するための図である。
第1実施形態における電子楽器の構成を説明する図である。
第1実施形態におけるデータ出力装置の構成を説明する図である。
第1実施形態における位置制御データを説明する図である。
第1実施形態における位置情報および方向情報を説明する図である。
第1実施形態における演奏追従機能を実現する構成を説明する図である。
第1実施形態におけるデータ出力方法を説明する図である。
第2実施形態における演奏追従機能を実現する構成を説明する図である。
【発明を実施するための形態】
【0009】
以下、本発明の一実施形態について、図面を参照しながら詳細に説明する。以下に示す実施形態は一例であって、本発明はこれらの実施形態に限定して解釈されるものではない
。以下に説明する複数の実施形態で参照する図面において、同一部分または同様な機能を有する部分には同一の符号または類似の符号(数字の後にA、Bなど付しただけの符号)を付し、その繰り返しの説明は省略する場合がある。図面は、説明を明確にするために、構成の一部が図面から省略されたりして、模式的に説明される場合がある。
【0010】
<第1実施形態>
[概要]
本発明の一実施形態におけるデータ出力装置は、所定の楽曲について、ユーザによる電子楽器への演奏に追従してその楽曲に対応する自動演奏を実現する。自動演奏の対象となる楽器は、様々に設定される。ユーザが演奏する電子楽器が電子ピアノである場合には、自動演奏の対象となる楽器は、ピアノパート以外の楽器、例えば、ボーカル、ベース、ドラム、ギター、ホーンセクション等が想定される。この例では、データ出力装置は、自動演奏によって得られる再生音と、楽器の演奏者を模した画像(以下、演奏者画像という場合がある)と、をユーザに提供する。このデータ出力装置によれば、ユーザに対して、他の演奏者と一緒に演奏を行っている感覚を与えることができる。以下、データ出力装置およびデータ出力装置を含むシステムについて説明する。
(【0011】以降は省略されています)
この特許をJ-PlatPat(特許庁公式サイト)で参照する
関連特許
ヤマハ株式会社
リード
2か月前
ヤマハ株式会社
鍵盤装置
2か月前
ヤマハ株式会社
イヤーピース
2か月前
ヤマハ株式会社
ドライバユニット
18日前
ヤマハ株式会社
弦楽器用の支持装置
2か月前
ヤマハ株式会社
音処理方法および音処理装置
1か月前
ヤマハ株式会社
音処理装置および音処理方法
1か月前
ヤマハ株式会社
音処理方法および音処理装置
25日前
ヤマハ株式会社
音処理システム及び音処理方法
17日前
ヤマハ株式会社
信号処理方法および信号処理装置
3か月前
ヤマハ株式会社
収音制御方法および収音制御装置
17日前
ヤマハ株式会社
音声処理方法および音声処理装置
17日前
ヤマハ株式会社
信号処理設計方法およびプロセッサ
3か月前
ヤマハ株式会社
駆動装置、音響装置および車両用ドア
21日前
ヤマハ株式会社
連打判定装置および方法、プログラム
3か月前
ヤマハ株式会社
データ処理方法およびデータ処理装置
1か月前
ヤマハ株式会社
解錠管理方法および解錠管理システム
17日前
ヤマハ株式会社
音信号処理方法および音信号処理装置
17日前
ヤマハ株式会社
信号処理の方法、プログラムおよび装置
18日前
ヤマハ株式会社
画像処理方法、画像処理装置及びプログラム
19日前
ヤマハ株式会社
スピーカ装置、音信号処理方法及びプログラム
17日前
ヤマハ株式会社
情報処理方法、情報処理システムおよびプログラム
17日前
ヤマハ株式会社
情報処理システム、情報処理方法およびプログラム
2か月前
ヤマハ株式会社
情報処理システム、情報処理方法およびプログラム
2か月前
ヤマハ株式会社
情報処理システム、情報処理方法およびプログラム
2か月前
ヤマハ株式会社
情報処理システム、動画編集方法およびプログラム
2か月前
ヤマハ株式会社
情報処理システム、情報処理方法およびプログラム
2か月前
ヤマハ株式会社
情報処理方法、情報処理システムおよびプログラム
1か月前
ヤマハ株式会社
情報処理方法、情報処理システム、およびプログラム
2か月前
ヤマハ株式会社
パネル
2か月前
ヤマハ株式会社
定位提供方法、定位提供システムおよび定位提供プログラム
1か月前
ヤマハ株式会社
演奏操作装置
3か月前
ヤマハ株式会社
スピーカ用振動板
2か月前
ヤマハ株式会社
再生データ生成方法
5日前
ヤマハ株式会社
スクリーンユニット
1か月前
ヤマハ株式会社
オーディオデータ処理装置、推論装置、及びオーディオデータ処理方法
17日前
続きを見る
他の特許を見る