TOP
|
特許
|
意匠
|
商標
特許ウォッチ
Twitter
他の特許を見る
10個以上の画像は省略されています。
公開番号
2025156588
公報種別
公開特許公報(A)
公開日
2025-10-14
出願番号
2025134091,2021033149
出願日
2025-08-12,2021-03-03
発明の名称
映像出力方法、映像出力装置および映像出力システム
出願人
ヤマハ株式会社
代理人
弁理士法人 楓国際特許事務所
主分類
H04N
21/234 20110101AFI20251002BHJP(電気通信技術)
要約
【課題】ユーザがイベントとの一体感を得ることができる映像出力方法、映像出力装置および映像出力システムを提供する。
【解決手段】映像出力方法は、複数のユーザのそれぞれの操作を受け付け、受け付けた前記操作に基づく演出画像と演出音とを生成し、第1の映像データと、第1演者の映像を含む第2の映像データと、第2演者の映像を含む第3の映像データとを受け付け、前記第1の映像データと前記第2の映像データおよび前記第3の映像データを合成して出力映像データを生成し、前記出力映像データに前記演出画像をさらに合成し、前記演出画像を合成した前記出力映像データと前記演出音とを出力する映像出力方法であって、前記演出画像と演出音は、前記複数のユーザのそれぞれの操作と対応させた演出情報として構成され、前記演出情報は、前記複数のユーザのそれぞれのディスプレイへの操作位置に基づいて、前記第1演者または前記第2演者のいずれかに関連付けられる。
【選択図】図10
特許請求の範囲
【請求項1】
複数のユーザのそれぞれの操作を受け付け、
受け付けた前記操作に基づく演出画像と演出音とを生成し、
第1の映像データと、第1演者の映像を含む第2の映像データと、第2演者の映像を含む第3の映像データとを受け付け、
前記第1の映像データと前記第2の映像データおよび前記第3の映像データを合成して出力映像データを生成し、
前記出力映像データに前記演出画像をさらに合成し、
前記演出画像を合成した前記出力映像データと前記演出音とを出力する映像出力方法であって、
前記演出画像と演出音は、前記複数のユーザのそれぞれの操作と対応させた演出情報として構成され、
前記演出情報は、前記複数のユーザのそれぞれのディスプレイへの操作位置に基づいて、前記第1演者または前記第2演者のいずれかに関連付けられる、
映像出力方法。
続きを表示(約 1,200 文字)
【請求項2】
前記出力映像データに基づいて表示される映像において、前記第2の映像データが表示される位置は、前記第1演者の位置に対応し、前記第3の映像データが表示される位置は、前記第2演者の位置に対応する、
請求項1に記載の映像出力方法。
【請求項3】
前記演出画像は、前記演出情報に基づいて、前記第2の映像データまたは前記第3の映像データの近傍に合成される、
請求項1または請求項2に記載の映像出力方法。
【請求項4】
前記複数のユーザのそれぞれから、あらかじめ関連付けられる演者の指定を受け付ける、
請求項1乃至請求項3のいずれか1項に記載の映像出力方法。
【請求項5】
前記出力映像データは、複数の前記演出画像を含み、
前記演出音は、複数の演出音を含み、
前記演出音の数の上限は、前記演出画像の数の上限よりも少ない、
請求項1乃至請求項4のいずれか1項に記載の映像出力方法。
【請求項6】
前記演出音の音質は、前記演出情報と前記第1演者の位置または前記演出情報と前記第2演者の位置とに基づいて決定される、
請求項1乃至請求項5のいずれか1項に記載の映像出力方法。
【請求項7】
前記操作に基づいて前記演出音の音質を決定する、
請求項1乃至請求項6のいずれか1項に記載の映像出力方法。
【請求項8】
前記音質はピッチおよびパニングを含む
請求項6または請求項7に記載の映像出力方法。
【請求項9】
複数のユーザのそれぞれの操作を受け付けるユーザ操作受付部と、
受け付けた前記操作に基づく演出画像と演出音とを生成する演出データ生成部と、
第1の映像データと、第1演者の映像を含む第2の映像データと、第2演者の映像を含む第3の映像データとを受け付ける映像データ受付部と、
前記第1の映像データと前記第2の映像データおよび前記第3の映像データを合成して出力映像データを生成し、前記出力映像データに前記演出画像をさらに合成する映像データ生成部と、
前記演出画像を合成した前記出力映像データと前記演出音とを出力する出力部と、
を備えた映像出力装置であって、
前記演出画像と演出音は、前記複数のユーザのそれぞれの操作と対応させた演出情報として構成され、
前記演出情報は、前記複数のユーザのそれぞれのディスプレイへの操作位置に基づいて、前記第1演者または前記第2演者のいずれかに関連付けられる、
映像出力装置。
【請求項10】
前記出力映像データに基づいて表示される映像において、前記第2の映像データが表示される位置は、前記第1演者の位置に対応し、前記第3の映像データが表示される位置は、前記第2演者の位置に対応する、
請求項9に記載の映像出力装置。
(【請求項11】以降は省略されています)
発明の詳細な説明
【技術分野】
【0001】
この発明の一実施形態は、映像出力方法、映像出力装置および映像出力システムに関する。
続きを表示(約 1,400 文字)
【背景技術】
【0002】
特許文献1には、ライブ演奏などを行う会場に設置されるディスプレイに会場外の視聴者の動作を反映した映像を表示するシステムが開示されている。特許文献1のシステムは、会場のライブ演奏などの映像を会場外の視聴者の視聴端末にライブ送信し、会場外の視聴者の動作に応じた映像をディスプレイに表示する。
【0003】
特許文献2の配信サーバは、受信部と、判定部と、合成部と、配信部とを備える。受信部は、配信者端末から生配信用の映像データを受信する。判定部は、演出条件が満足しているか否かを判定する。合成部は、演出条件が満足している時に、映像データに対して演出データを合成し合成映像データを生成する。配信部は、合成映像データを配信者端末および観客端末へ配信する。
【0004】
特許文献3には、視聴者の盛り上がり度を取得し、盛り上がり度をもとに番組コンテンツのハイライトを抽出する情報処理装置が開示されている。
【先行技術文献】
【特許文献】
【0005】
特開2013-21466号公報
特開2019-92146号公報
特開2010-16482号公報
【発明の概要】
【発明が解決しようとする課題】
【0006】
この発明の一実施形態は、ユーザにイベントとの一体感を知覚させることができる映像出力方法、映像出力装置および映像出力システムを提供することを目的とする。
【課題を解決するための手段】
【0007】
本発明の一実施形態に係る映像出力方法は、複数のユーザのそれぞれの操作を受け付け、受け付けた前記操作に基づく演出画像と演出音とを生成し、第1の映像データを受け付け、前記第1の映像データと前記演出画像とを合成して出力映像データを生成し、前記出力映像データと前記演出音とを出力する。
【0008】
また、本発明の別の一実施形態に係る映像出力方法は、複数のユーザのそれぞれの操作を受け付け、受け付けた前記操作に基づく演出を行うデバイスを撮影した第1の映像データを受け付け、前記第1の映像データに基づく出力映像データを出力する。
【発明の効果】
【0009】
本発明の一実施形態によれば、ユーザは、イベントとの一体感を得ることができる。
【図面の簡単な説明】
【0010】
映像出力システム1の構成を示すブロック図である。
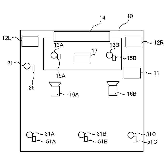
会場10の平面模式図である。
イベントの様子を示す模式図である。
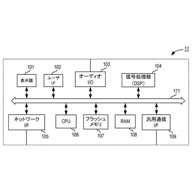
映像出力装置11の構成を示すブロック図である。
ユーザ端末51Aの構成を示すブロック図である。
映像出力装置11の動作を示すフローチャートである。
イベントの様子を示す模式図である。
実施形態2に係る映像出力システム1Aの構成を示すブロック図である。
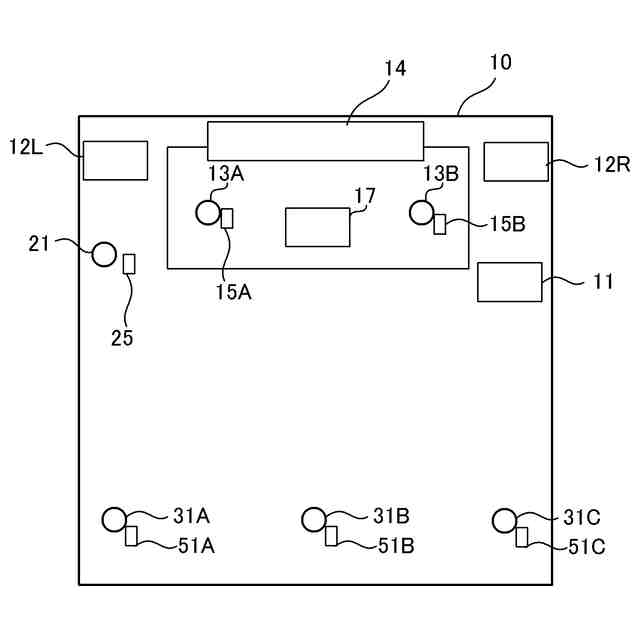
会場10の平面模式図である。
イベントの様子を示す模式図である。
実施形態3に係る映像出力システム1Bの構成を示すブロック図である。
イベントの様子を示す模式図である。
第4実施形態に係る映像出力システム1Cの構成を示すブロック図である。
【発明を実施するための形態】
(【0011】以降は省略されています)
この特許をJ-PlatPat(特許庁公式サイト)で参照する
関連特許
ヤマハ株式会社
リード
3か月前
ヤマハ株式会社
鍵盤装置
3日前
ヤマハ株式会社
放音制御装置
1か月前
ヤマハ株式会社
イヤーピース
3か月前
ヤマハ株式会社
ドライバユニット
1か月前
ヤマハ株式会社
音処理装置及び音処理方法
10日前
ヤマハ株式会社
音処理方法および音処理装置
2か月前
ヤマハ株式会社
音処理方法および音処理装置
2か月前
ヤマハ株式会社
音処理装置および音処理方法
2か月前
ヤマハ株式会社
音処理システム及び音処理方法
1か月前
ヤマハ株式会社
収音制御方法および収音制御装置
1か月前
ヤマハ株式会社
音声処理方法および音声処理装置
1か月前
ヤマハ株式会社
音信号処理方法および音信号処理装置
1か月前
ヤマハ株式会社
解錠管理方法および解錠管理システム
1か月前
ヤマハ株式会社
駆動装置、音響装置および車両用ドア
2か月前
ヤマハ株式会社
データ処理方法およびデータ処理装置
3か月前
ヤマハ株式会社
信号処理の方法、プログラムおよび装置
1か月前
ヤマハ株式会社
画像処理方法、画像処理装置及びプログラム
2か月前
ヤマハ株式会社
スピーカ装置、音信号処理方法及びプログラム
1か月前
ヤマハ株式会社
情報処理方法、情報処理システムおよびプログラム
1か月前
ヤマハ株式会社
情報処理方法、情報処理システムおよびプログラム
2か月前
ヤマハ株式会社
パネル
3か月前
ヤマハ株式会社
処理装置
25日前
ヤマハ株式会社
定位提供方法、定位提供システムおよび定位提供プログラム
3か月前
ヤマハ株式会社
スクリーンユニット
2か月前
ヤマハ株式会社
再生データ生成方法
1か月前
ヤマハ株式会社
オーディオデータ処理装置、推論装置、及びオーディオデータ処理方法
1か月前
ヤマハ株式会社
鍵盤装置及び演奏操作装置
16日前
ヤマハ株式会社
音響信号処理装置、楽器、音響信号処理方法および音響信号処理プログラム
1か月前
ヤマハ株式会社
演奏操作装置および鍵盤楽器
1か月前
ヤマハ株式会社
音の処理方法及び音処理装置
1か月前
ヤマハ株式会社
楽器用検出システムおよび楽器
2か月前
ヤマハ株式会社
モデルデータ決定方法、モデルデータ決定装置およびモデルデータ決定プログラム
1か月前
ヤマハ株式会社
情報処理装置、及びその制御方法
2か月前
ヤマハ株式会社
コード推定装置およびコード推定方法
4日前
ヤマハ株式会社
楽器用ペダルユニットおよび電子鍵盤装置
3か月前
続きを見る
他の特許を見る