TOP
|
特許
|
意匠
|
商標
特許ウォッチ
Twitter
他の特許を見る
公開番号
2025144319
公報種別
公開特許公報(A)
公開日
2025-10-02
出願番号
2024044043
出願日
2024-03-19
発明の名称
ドライバユニット
出願人
ヤマハ株式会社
代理人
個人
,
個人
,
個人
,
個人
主分類
H04R
9/02 20060101AFI20250925BHJP(電気通信技術)
要約
【課題】ドライバユニットにおいて、通気部材に起因する全高調波歪を抑制することができるようにする。
【解決手段】ドライバユニットは、ダイヤフラム、及び、ダイヤフラムの背面側に形成された通気孔を有するドライバユニット本体と、通気孔をドライバユニット本体の外側から覆う通気部材2と、通気部材2を補強する補強部材3と、を備える。通気部材2は、ドライバユニット本体の外面のうち通気孔が開口する周縁領域に取り付ける環状の取付部21を有する。補強部材は、通気孔と通気部材2とが重なる方向から見て、通気部材2の中心Oから取付部21まで互いに異なる方向に延びる複数の帯状部31を有する。
【選択図】図3
特許請求の範囲
【請求項1】
ダイヤフラム、及び、当該ダイヤフラムの背面側に形成された通気孔を有するドライバユニット本体と、
前記通気孔を前記ドライバユニット本体の外側から覆う通気部材と、
前記通気部材を補強する補強部材と、を備え、
前記通気部材は、前記ドライバユニット本体の外面のうち前記通気孔が開口する周縁領域に取り付ける環状の取付部を有し、
前記補強部材は、前記通気孔と前記通気部材とが重なる方向から見て、前記通気部材の中心から前記取付部まで互いに異なる方向に延びる複数の帯状部を有するドライバユニット。
続きを表示(約 450 文字)
【請求項2】
前記通気部材のうち前記ドライバユニット本体側に向く対向面に設けられ、前記取付部を前記周縁領域に固定するための固定部材をさらに備え、
前記補強部材が、前記対向面に設けられるとともに、前記固定部材に一体に形成されている請求項1に記載のドライバユニット。
【請求項3】
複数の前記帯状部が、前記通気部材の中心を軸として、前記通気部材の前記取付部の周方向に等間隔で並ぶ請求項1又は請求項2に記載のドライバユニット。
【請求項4】
ダイヤフラム、及び、当該ダイヤフラムの背面側に形成された通気孔を有するドライバユニット本体と、
前記通気孔を前記ドライバユニット本体の外側から覆う通気部材と、
前記通気部材を補強する補強部材と、を備え、
前記通気部材は、前記ドライバユニット本体の外面のうち前記通気孔が開口する周縁領域に取り付ける環状の取付部を有し、
前記補強部材は、前記通気部材の振動を抑えるドライバユニット。
発明の詳細な説明
【技術分野】
【0001】
本発明は、ドライバユニットに関する。
続きを表示(約 1,500 文字)
【背景技術】
【0002】
特許文献1には、ヘッドホンのドライバユニットが開示されている。特許文献1のドライバユニットは、ダイヤフラムの背面側に形成された通気孔を覆う通気部材(エアフローレジスタ)を有する。当該通気部材は、ダイヤフラムの周波数特性を調整するために設けられる。
【先行技術文献】
【特許文献】
【0003】
米国特許第11082768号明細書
【発明の概要】
【発明が解決しようとする課題】
【0004】
ところで、通気部材を有するドライバユニットでは、当該通気部材に起因する全高調波歪(total harmonic distortion、以下、THDとも呼ぶ。)の抑制が望まれている。
【0005】
本発明は、上述した事情に鑑みてなされたものであって、通気部材に起因する全高調波歪を抑制することが可能なドライバユニットを提供することを目的とする。
【課題を解決するための手段】
【0006】
本発明の第一の態様は、ダイヤフラム、及び、当該ダイヤフラムの背面側に形成された通気孔を有するドライバユニット本体と、前記通気孔を前記ドライバユニット本体の外側から覆う通気部材と、前記通気部材を補強する補強部材と、を備え、前記通気部材は、前記ドライバユニット本体の外面のうち前記通気孔が開口する周縁領域に取り付ける環状の取付部を有し、前記補強部材は、前記通気孔と前記通気部材とが重なる方向から見て、前記通気部材の中心から前記取付部まで互いに異なる方向に延びる複数の帯状部を有するドライバユニットである。
【0007】
本発明の第二の態様は、ダイヤフラム、及び、当該ダイヤフラムの背面側に形成された通気孔を有するドライバユニット本体と、前記通気孔を前記ドライバユニット本体の外側から覆う通気部材と、前記通気部材を補強する補強部材と、を備え、前記通気部材は、前記ドライバユニット本体の外面のうち前記通気孔が開口する周縁領域に取り付ける環状の取付部を有し、前記補強部材は、前記通気部材の振動を抑えるドライバユニットである。
【発明の効果】
【0008】
本発明によれば、ドライバユニットにおいて通気部材に起因する全高調波歪を抑制することができる。
【図面の簡単な説明】
【0009】
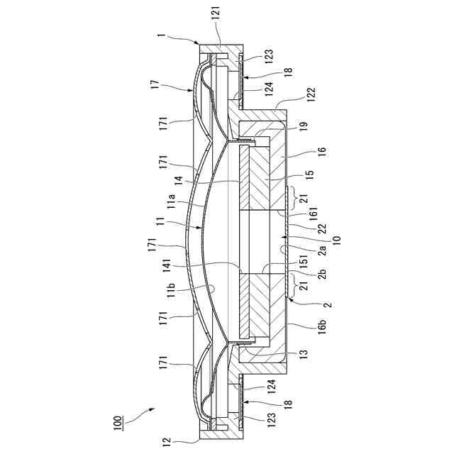
本発明の一実施形態に係るドライバユニットを示す断面図である。
図1のドライバユニットを示す分解斜視図である。
図1、図2のドライバユニットにおいて、補強部材及び固定部材が取り付けられた通気部材を示す平面図である。
図3のIV-IV矢視断面図である。
ドライバユニットの実施例及び比較例の周波数特性を示すグラフである。
補強部材及び固定部材が取り付けられた通気部材の変形例を通気部材の対向面側から見た平面図である。
図6の通気部材を通気部材の反対面側から見た平面図である。
【発明を実施するための形態】
【0010】
以下、図1~図5を参照して本発明の一実施形態について説明する。
図1~図4に示すように、本実施形態のドライバユニット100は、ドライバユニット本体1と、通気部材2と、補強部材3と、固定部材4と、を備える。補強部材3及び固定部材4は、通気部材2に設けられるものであり、図1,図2において記載されていない。
(【0011】以降は省略されています)
この特許をJ-PlatPat(特許庁公式サイト)で参照する
関連特許
ヤマハ株式会社
リード
3か月前
ヤマハ株式会社
放音制御装置
20日前
ヤマハ株式会社
イヤーピース
3か月前
ヤマハ株式会社
ドライバユニット
1か月前
ヤマハ株式会社
音処理方法および音処理装置
2か月前
ヤマハ株式会社
音処理装置および音処理方法
2か月前
ヤマハ株式会社
音処理方法および音処理装置
1か月前
ヤマハ株式会社
音処理システム及び音処理方法
1か月前
ヤマハ株式会社
収音制御方法および収音制御装置
1か月前
ヤマハ株式会社
音声処理方法および音声処理装置
1か月前
ヤマハ株式会社
駆動装置、音響装置および車両用ドア
1か月前
ヤマハ株式会社
音信号処理方法および音信号処理装置
1か月前
ヤマハ株式会社
解錠管理方法および解錠管理システム
1か月前
ヤマハ株式会社
データ処理方法およびデータ処理装置
2か月前
ヤマハ株式会社
信号処理の方法、プログラムおよび装置
1か月前
ヤマハ株式会社
画像処理方法、画像処理装置及びプログラム
1か月前
ヤマハ株式会社
スピーカ装置、音信号処理方法及びプログラム
1か月前
ヤマハ株式会社
情報処理方法、情報処理システムおよびプログラム
1か月前
ヤマハ株式会社
情報処理方法、情報処理システムおよびプログラム
2か月前
ヤマハ株式会社
パネル
3か月前
ヤマハ株式会社
処理装置
14日前
ヤマハ株式会社
定位提供方法、定位提供システムおよび定位提供プログラム
2か月前
ヤマハ株式会社
再生データ生成方法
1か月前
ヤマハ株式会社
スクリーンユニット
2か月前
ヤマハ株式会社
オーディオデータ処理装置、推論装置、及びオーディオデータ処理方法
1か月前
ヤマハ株式会社
鍵盤装置及び演奏操作装置
5日前
ヤマハ株式会社
音響信号処理装置、楽器、音響信号処理方法および音響信号処理プログラム
23日前
ヤマハ株式会社
演奏操作装置および鍵盤楽器
1か月前
ヤマハ株式会社
音の処理方法及び音処理装置
1か月前
ヤマハ株式会社
楽器用検出システムおよび楽器
2か月前
ヤマハ株式会社
モデルデータ決定方法、モデルデータ決定装置およびモデルデータ決定プログラム
1か月前
ヤマハ株式会社
情報処理装置、及びその制御方法
2か月前
ヤマハ株式会社
楽器用ペダルユニットおよび電子鍵盤装置
2か月前
ヤマハ株式会社
音信号処理方法および音信号処理システム
2か月前
ヤマハ株式会社
映像出力方法、映像出力装置および映像出力システム
1か月前
ヤマハ株式会社
データ出力方法、プログラム、データ出力装置および電子楽器
5日前
続きを見る
他の特許を見る