TOP
|
特許
|
意匠
|
商標
特許ウォッチ
Twitter
他の特許を見る
10個以上の画像は省略されています。
公開番号
2025179324
公報種別
公開特許公報(A)
公開日
2025-12-10
出願番号
2024085997
出願日
2024-05-28
発明の名称
超音波送受信器
出願人
日本セラミック株式会社
代理人
主分類
H04R
17/00 20060101AFI20251203BHJP(電気通信技術)
要約
【課題】超音波センサにおいて、共振周波数と駆動周波数が異なると有底筒状ケース内底面の振動効率が悪く音圧が不足する課題を解決できる空中用超音波送受器を提供する。
【解決手段】空中用超音波送受器は、圧電素子の駆動によって振動する部分の領域における短軸長さをA、長軸長さをBとし、圧電素子の短軸長さをA'、長軸長さをB'とするときA'/Aが0.55から0.95かつB'/Bが0.55から0.95にすることにより、共振周波数と駆動周波数が離れている場合でも圧電素子の剛性による振動の阻害を低減させることが出来有底筒状ケース内底面を効率よく振動させることが出来る。これにより、共振周波数と駆動周波数が離れている場合でも音圧が100dB以上でかつ帯域が4.8kHzから13.2kHzとなるような音圧と広帯域を両立させた超音波センサを設計することが出来る。
【選択図】図1
特許請求の範囲
【請求項1】
有底筒状ケースの内側の底面に圧電素子を接着させたユニモルフ振動子を設け、ユニモルフ振動子の振動によって超音波の送受信を行う超音波送受波器において、図1のように圧電素子の駆動によって振動する部分の領域における短軸長さをA、長軸長さをBとし、圧電素子の短軸長さをA'、長軸長さをB'とするときA'/A が0.55から0.95かつB'/Bが0.55から0.95であることを特徴とする空中用超音波送受器。
発明の詳細な説明
【技術分野】
【0001】
本発明は、圧電素子を有底筒状ケースに貼り合わせた空中用の超音波センサに関するものである。
続きを表示(約 4,900 文字)
【背景技術】
【0002】
超音波センサを用いた距離計ユニットを車両に取り付け、車両が物体に接近した際に運転者に衝突の危険を知らせる安全装置が広く使用されている。
特に、車両を後退させる際に後方の物体を距離計ユニットで検出し、運転手に物体の接近を知らせる安全装置がよく利用されている。(例えば特許文献1)
【0003】
具体的には、物体の接近を運転手にブザーで知らせる安全装置や車両の前方に障害物があると車両が発進しないようにブレーキが動作するブレーキ連動式の安全装置が発明されている。
【0004】
ここで使用される超音波センサを用いた距離計ユニットでは、主に防滴型の超音波センサが使用されている。
防滴型の超音波センサは、例えば特許文献2で紹介されている。(文献中では防滴型の超音波センサを防滴型超音波送受波器とよんでいる)
防滴型の超音波センサは有底筒状ケースの底面に、両面に電極が施された圧電素子が接着されており、圧電素子の各電極に電気的に接続された端子は外部に取り出されており、
圧電素子の上部にはスポンジ状もしくはフェルト状の吸音材をかぶせてから、シリコーンゴムなどの弾性を有する充填剤で密閉した構造である。
有底筒状ケースの開口側の背面がシリコーンゴムなどの充填剤で完全に覆われることで内部に液体が浸入しない構造になっている。
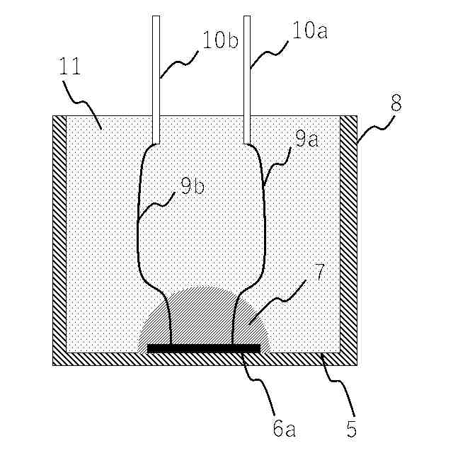
図6に従来の超音波センサにおける有底筒状ケース(8)と圧電素子(6c)を示し、図7に構造図を示す。
超音波センサの構成は、アルミ合金からなる有底筒状ケース(8)の内底面に圧電素子(6c)が接着されておりその上に成形された発泡シリコーン(7)が配置され、リード線(9a)(9b)が圧電素子(6c)の各電極とピン端子(10a)(10b)の各端子とが半田付けにより電気的に接続されており、有底筒状ケース(8)内部の開口側を非多孔質のシリコーン樹脂からなる弾性体(11)を充填することにより封止されている。
前述の構造のため、超音波センサ内部にて圧電素子の各電極同士が短絡することがないため、液体がかかるような屋外でも使用できる。
また、防滴型の超音波センサは圧電素子が金属のケースで覆われるために、比較的強度が高い構造の超音波センサである。
【0005】
車両に搭載される超音波センサの駆動周波数は一般的に固定されていることがほとんどである。 超音波センサは筐体形状に由来する共振周波数と外部から入力される駆動周波数が一致する場合、
音波が効率よく放出されるように設計されているが、製品の製造ばらつきによって共振周波数がずれた場合に駆動周波数との差が大きくなり音波が効率よく放出されなくなり、音圧が小さくなる場合がある。
超音波センサの共振周波数を広帯域化することができれば、共振周波数によらず一定の出力を確保する事ができるようになる。 また複数の駆動周波数で利用する用途でも使用できるようになる。
【先行技術文献】
【特許文献】
【0006】
特開2007-112297
特開2010-154059
特開2021-072589
【発明の概要】
【発明が解決しようとする課題】
【0007】
従来の超音波センサは筐体の形状に起因する共振周波数が存在し、その共振周波数と駆動周波数の間に差があると振動効率が低減し、音波を遠くまで到達させることが出来ず、物体が検知できないという課題があった。また超音波センサの振動効率を抑える事により共振周波数から外れた駆動周波数で動作する構造の物も存在するが(例えば特許文献3)、音圧が小さく音波の到達距離が短かいため遠くの物体を検知できない問題点がある。
【課題を解決するための手段】
【0008】
超音波センサの共振周波数は一般的に筐体の形状で決まる。 これは筐体の形状が決まると、振動の節と節の距離が決まり単一の波長及び共振周波数に決まるためである。
共振周波数と駆動周波数が近く効率よく振動できている場合の振動面の振動モードは山なりのプロファイルである。それに対し、共振周波数と駆動周波数が離れている場合は振動面の変形する力が弱く圧電素子の剛性によって素子周辺の振動モードプロファイルは平らに近い状態となり、共振周波数と駆動周波数が一致している場合に比べて振幅も小さいことから超音波センサとしての機能を満足できない。
今回の発明では、有底筒状ケースが圧電素子の駆動によって振動する部分の領域における短軸長さをA、長軸長さをBとし、圧電素子の短軸長さをA'、長軸長さをB'とするとき、A'/A が0.55から0.95かつB'/Bが0.55から0.95となる様に筐体および圧電素子形状を調整することで、共振周波数と駆動周波数が離れている場合でも圧電素子の剛性による振動の阻害を低減させることが出来るため、共振しやすい領域の振動モードに近づき効率よく振動できるようになる。したがって、広帯域で効率よく振動できる超音波センサとなる。
【図面の簡単な説明】
【0009】
本発明の請求項1に関わる超音波センサの実施形態における有底筒状ケースと圧電素子を示した図
本発明の請求項1に関わる超音波センサの実施形態における超音波センサの断面図
本発明品と従来品における共振周波数と駆動周波数の差に対する音圧のグラフ(最大音圧で規格化)
共振周波数と駆動周波数が一致している場合の有底筒状ケースの長軸断面で見た振動モード
共振周波数と駆動周波数が一致していない場合の有底筒状ケースの長軸断面で見た振動モード
従来の超音波センサ有底筒状ケースと圧電素子を示した図
従来の超音波センサの断面図
本発明の請求項1に関わる超音波センサの実施の形態におけるA'/AおよびB'/Bと音圧の帯域についての関係図
本発明の請求項1に関わる超音波センサの実施の形態におけるA'/AおよびB'/Bと音圧の関係図
本発明の請求項1に関わる超音波センサの別の実施形態における有底筒状ケースと圧電素子を示した図
本発明の請求項1に関わる超音波センサの別の実施形態におけるA'/A, B'/B と音圧の関係図
本発明の請求項1に関わる超音波センサの別の実施形態におけるA'/A, B'/B と帯域の関係図
【発明を実施するための形態】
【発明を実施するための形態】
本発明の請求項1に関わる実施形態
【0010】
図1は本発明の請求項1に関わる超音波センサの実施形態における有底筒状ケースと圧電素子を示した図である。また、図2は本発明の請求項1に関わる超音波センサの実施形態における構造図である。超音波センサの構成は、アルミ合金からなる有底筒状ケース(8)の内底面に圧電素子(6a)が接着されておりその上に成形された発泡シリコーン(7)が配置され、リード線(9a)(9b)が圧電素子(6)の各電極とピン端子(10a)(10b)の各端子とが半田付けにより電気的に接続されており、有底筒状ケース(8)内部の開口側を非多孔質のシリコーン樹脂からなる弾性体(11)を充填することにより封止されている。
図3は本発明の請求項1に関わる実施形態の超音波センサの共振周波数と駆動周波数の差に対する音圧のグラフである。
また、図8に本発明の請求項1に関わる実施形態において、超音波センサの有底筒状ケースが圧電素子の駆動によって振動する部分の領域における短軸長さをA、長軸長さをBとし、圧電素子の短軸長さをA'、長軸長さをB'としたときのA'/AおよびB'/Bと帯域の関係を示す。
この時、有底筒状ケースの底面の振動モードと圧電素子は相似であり、A'/Aが0.92かつB'/Bが0.92の時、最大音圧105.6dBで最大音圧ー6dBの半減値での帯域が8.4kHzとなり、従来品と同程度の音圧を維持したまま最も帯域の広い状態となる。図3においては共振周波数と駆動周波数が一致している場合を0とし、駆動周波数を2kHzずつ変化させ、プラス側マイナス側それぞれ6kHzまで離れている場合の音圧が示されている。
これによると、共振周波数と駆動周波数が一致している場合の音圧は従来品と同程度であることがわかる。また、半減値である最大音圧ー6dBで見ると、従来品は約1kHz程度であるのに対し本発明品は上記のように8.4kHz程度であり8倍以上帯域が広がっていることがわかる。
図4に本発明の請求項1に関わる実施形態の超音波センサと従来の超音波センサにおける共振周波数と駆動周波数が一致している場合のシュミレーション結果による振動モードを示す。
また、図5に本発明の請求項1に関わる実施形態の超音波センサと従来の超音波センサにおける共振周波数と駆動周波数が6kHz離れている場合のシュミレーション結果による振動モードを示す。
図4、5ともに共振周波数と駆動周波数が一致している場合の最大振幅で規格化したものを縦軸、有底筒状ケース底面の長軸中心を0とした振動面の位置を横軸とする。
図4に示すように共振周波数と駆動周波数が一致している場合は従来品と発明品は同じような振動プロファイルを示すが、図5に示す通り共振周波数と駆動周波数が6kHz離れている場合、従来品においては振動面を変形させる力が弱く圧電素子の剛性によって素子周辺の振動モードプロファイルは平らに近い状態となるのに対し、本発明の実施の形態に関わる超音波センサにおいてはA'/AおよびB'/Bを最適化することにより圧電素子の剛性に対して振動面を振動させる力が強まり、結果として振動面の振幅が増大し図4のような山なりの振動モードに近づくため振動効率が改善される。
さらに前述の内容に関して、図8に請求項1に関わる実施形態の超音波センサにおけるA'/AおよびB'/Bと音圧と帯域の関係を示す。この結果より最低でも4kHz、最大で13kHzの帯域があることがわかる。
この結果から最低でも4kHz、最大で13kHzの帯域があることがわかり、先述した従来品の帯域1kHzと比べて大幅な向上がみられる。
図9に本発明の請求項1に関わる実施形態の超音波センサにおけるA'/AおよびB'/Bと音圧の関係を示す。超音波センサとして1m内の物体を検知するには100dB程度が必要であることを考慮すると、A'/A が0.55から0.95かつB'/Bが0.55から0.95であるとき音圧が100dB以上で、帯域が4.8kHzから13.2kHzとなり、音圧と広帯域を両立させた超音波センサを設計することが出来る。
図10は本発明の請求項1に関わる超音波センサの別の実施形態における有底筒状ケースと圧電素子(6b)を示した図である。
図11に本発明の請求項1に関わる別の実施形態における、A'/AとB'/Bに対する帯域の関係を示す。図12に本発明の請求項1に関わる別の実施形態における、A'/AとB'/Bに対すると音圧の関係を示す。
図11、図12に示す通り、有底筒状ケースの内底面に接着する圧電素子(6b)の形状が多角形であってもA'/AとB'/Bを最適化すれば前述したような広帯域において効率よく振動し音波を発する超音波センサの設計が可能になる。
今回の事例では、圧電素子(6b)の形状が長方形でA'/Aが0.72 かつ B'/Bが0.76 である場合に最大音圧104.5dBで最大音圧ー6dBの半減値での帯域が8.5kHzとなる。
【産業上の利用可能性】
(【0011】以降は省略されています)
この特許をJ-PlatPat(特許庁公式サイト)で参照する
関連特許
個人
イヤーピース
1か月前
個人
イヤーマフ
1か月前
個人
監視カメラシステム
1か月前
個人
スイッチシステム
1か月前
キーコム株式会社
光伝送線路
1か月前
個人
スキャン式車載用撮像装置
1か月前
サクサ株式会社
中継装置
2か月前
サクサ株式会社
中継装置
2か月前
ホシデン株式会社
スピーカ
1日前
キヤノン株式会社
撮像装置
7日前
キヤノン株式会社
撮像装置
7日前
キヤノン株式会社
撮像装置
7日前
キヤノン株式会社
撮像装置
1日前
キヤノン株式会社
撮像装置
14日前
キヤノン株式会社
撮像装置
1日前
キヤノン株式会社
撮像装置
1日前
サクサ株式会社
無線制御装置
1日前
ヤマハ株式会社
放音制御装置
1か月前
サクサ株式会社
無線通信装置
2か月前
キヤノン電子株式会社
画像読取装置
1か月前
株式会社リコー
画像形成装置
1か月前
サクサ株式会社
無線通信装置
2か月前
個人
映像表示装置、及びARグラス
1か月前
キヤノン電子株式会社
画像読取装置
1か月前
キヤノン電子株式会社
画像読取装置
1か月前
サクサ株式会社
無線システム
2か月前
キヤノン株式会社
情報処理装置
22日前
個人
発信機及び発信方法
2か月前
キヤノン株式会社
画像処理装置
1か月前
日本電気株式会社
海底分岐装置
1か月前
キヤノン電子株式会社
シート搬送装置
1か月前
シャープ株式会社
端末装置
2日前
日本セラミック株式会社
超音波送受信器
22日前
有限会社エコ・テクノ
イヤーマフ
3日前
株式会社NTTドコモ
端末
1か月前
株式会社NTTドコモ
端末
1か月前
続きを見る
他の特許を見る