TOP
|
特許
|
意匠
|
商標
特許ウォッチ
Twitter
他の特許を見る
公開番号
2025162404
公報種別
公開特許公報(A)
公開日
2025-10-27
出願番号
2024065683
出願日
2024-04-15
発明の名称
音響信号処理装置、楽器、音響信号処理方法および音響信号処理プログラム
出願人
ヤマハ株式会社
代理人
個人
,
個人
,
個人
主分類
G10H
1/00 20060101AFI20251020BHJP(楽器;音響)
要約
【課題】ユーザによる直感的かつ柔軟な操作で多様な表現を可能とした音響信号処理技術を提供することを課題とする。
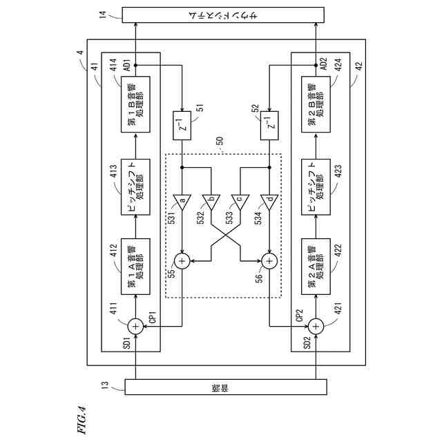
【解決手段】音響信号処理部4は、第1音響信号SD1に第1ピッチシフト処理を行う第1信号処理部41と、第2音響信号SD2に第2ピッチシフト処理を行う第2信号処理部42と、第1信号処理部41から出力された第1エフェクト処理信号AD1と、第2信号処理部42から出力された第2エフェクト処理信号AD2とをクロスカップリングするクロスカップリング部50と、第1エフェクト処理信号AD1と第2エフェクト処理信号AD2との結合度合に連続的な変化を与えるパラメータをクロスカップリング部50に設定するパラメータ設定部25とを備える。
【選択図】図4
特許請求の範囲
【請求項1】
第1音響信号を入力し、前記第1音響信号に第1ピッチシフト処理を行う第1信号処理部と、
第2音響信号を入力し、前記第2音響信号に第2ピッチシフト処理を行う第2信号処理部と、
前記第1信号処理部から出力された第1エフェクト処理信号と、前記第2信号処理部から出力された第2エフェクト処理信号とをクロスカップリングするクロスカップリング部と、
前記第1エフェクト処理信号と前記第2エフェクト処理信号との結合度合に連続的な変化を与えるパラメータを前記クロスカップリング部に設定するパラメータ設定部と、
を備える、音響信号処理装置。
続きを表示(約 1,100 文字)
【請求項2】
前記パラメータ設定部に対するユーザ指示を入力するユーザインタフェースをさらに備える、請求項1に記載の音響信号処理装置。
【請求項3】
前記パラメータ設定部は、前記パラメータが設定されたパラメータデータセットに基づいて前記パラメータを前記クロスカップリング部に設定する、請求項1に記載の音響信号処理装置。
【請求項4】
前記第1信号処理部および前記第2信号処理部は、それぞれリバーブ処理部を含む、請求項1に記載の音響信号処理装置。
【請求項5】
前記第1信号処理部および前記第2信号処理部は、それぞれフィードバック処理部を含む、請求項1に記載の音響信号処理装置。
【請求項6】
前記クロスカップリング部は、回転行列処理を含み、前記パラメータ設定部は、前記パラメータによって前記回転行列の行列要素を設定する、請求項1に記載の音響信号処理装置。
【請求項7】
前記第1信号処理部および前記第2信号処理部は、入力された音響信号に対して同一の信号処理を実行する、請求項1に記載の音響信号処理装置。
【請求項8】
請求項1~請求項7のいずれか一項に記載の音響信号処理装置を備える楽器。
【請求項9】
第1音響信号を入力し、第1信号処理部において前記第1音響信号に第1ピッチシフト処理を行うことと、
第2音響信号を入力し、第2信号処理部において前記第2音響信号に第2ピッチシフト処理を行うことと、
前記第1信号処理部から出力された第1エフェクト処理信号と、前記第2信号処理部から出力された第2エフェクト処理信号とをクロスカップリングすることと、
前記第1エフェクト処理信号と前記第2エフェクト処理信号との前記クロスカップリングにおける結合度合に連続的な変化を与えるパラメータを設定することと、
を含む、音響信号処理方法。
【請求項10】
コンピュータに音響信号処理方法を実行させるプログラムであって、
前記プログラムは、前記コンピュータに、
第1音響信号を入力し、前記第1音響信号に第1ピッチシフト処理を行う第1信号処理、
第2音響信号を入力し、前記第2音響信号に第2ピッチシフト処理を行う第2信号処理、
前記第1信号処理から出力された第1エフェクト処理信号と、前記第2信号処理から出力された第2エフェクト処理信号とをクロスカップリングするクロスカップリング処理、
前記第1エフェクト処理信号と前記第2エフェクト処理信号との前記クロスカップリング処理における結合度合に連続的な変化を与えるパラメータを設定する処理、
を実行させる、音響信号処理プログラム。
発明の詳細な説明
【技術分野】
【0001】
本発明は、音響信号処理装置、音響信号処理装置を備える楽器、音響信号処理方法、音響信号処理プログラムに関する。
続きを表示(約 1,500 文字)
【背景技術】
【0002】
入力された音響信号に様々な音響処理を施す音響信号処理装置がある。下記非特許文献1には、ディレイおよびループ処理を含む2系統の信号処理部を備える音響信号処理装置が開示されている。この装置においては、2系統の信号処理間でクロスカップリング処理が行われている。
【先行技術文献】
【非特許文献】
【0003】
Studio sound,1971年12月号,p634
【発明の概要】
【発明が解決しようとする課題】
【0004】
非特許文献1に開示された装置では、2系統の信号をクロスカップリングすることが可能である。クロスカップリング処理において、より柔軟な処理が可能となるような仕組みが提供されれば、ユーザにとって利便性が高い。
【0005】
本発明の目的は、ユーザによる直感的かつ柔軟な操作で多様な表現を可能とした音響信号処理技術を提供することである。
【課題を解決するための手段】
【0006】
本発明の一態様に係る音響信号処理装置は、第1音響信号を入力し、第1音響信号に第1ピッチシフト処理を行う第1信号処理部と、第2音響信号を入力し、第2音響信号に第2ピッチシフト処理を行う第2信号処理部と、第1信号処理部から出力された第1エフェクト処理信号と、第2信号処理部から出力された第2エフェクト処理信号とをクロスカップリングするクロスカップリング部と、第1エフェクト処理信号と第2エフェクト処理信号との結合度合に連続的な変化を与えるパラメータをクロスカップリング部に設定するパラメータ設定部とを備える。
【0007】
本発明の他の態様に係る音響信号処理方法は、第1音響信号を入力し、第1信号処理部において第1音響信号に第1ピッチシフト処理を行うことと、第2音響信号を入力し、第2信号処理部において第2音響信号に第2ピッチシフト処理を行うことと、第1信号処理部から出力された第1エフェクト処理信号と、第2信号処理部から出力された第2エフェクト処理信号とをクロスカップリングすることと、第1エフェクト処理信号と第2エフェクト処理信号とのクロスカップリングにおける結合度合に連続的な変化を与えるパラメータを設定することとを含む。
【0008】
本発明の他の態様に係る音響信号処理プログラムは、コンピュータに音響信号処理方法を実行させるプログラムであって、前記プログラムは、前記コンピュータに、第1音響信号を入力し、第1音響信号に第1ピッチシフト処理を行う第1信号処理、第2音響信号を入力し、第2音響信号に第2ピッチシフト処理を行う第2信号処理、第1信号処理から出力された第1エフェクト処理信号と、第2信号処理から出力された第2エフェクト処理信号とをクロスカップリングするクロスカップリング処理、第1エフェクト処理信号と第2エフェクト処理信号とのクロスカップリング処理における結合度合に連続的な変化を与えるパラメータを設定する処理を実行させる。
【0009】
本発明は、また、上記音響信号処理装置を備える楽器にも向けられている。
【発明の効果】
【0010】
本発明によれば、ユーザによる直感的かつ柔軟な操作で多様な表現を可能とした音響信号処理装置、楽器、音響信号処理方法および音響信号処理プログラムを提供することができる。
【図面の簡単な説明】
(【0011】以降は省略されています)
この特許をJ-PlatPat(特許庁公式サイト)で参照する
関連特許
ヤマハ株式会社
ドライバユニット
25日前
ヤマハ株式会社
音処理方法および音処理装置
1か月前
ヤマハ株式会社
音処理装置および音処理方法
1か月前
ヤマハ株式会社
音処理方法および音処理装置
1か月前
ヤマハ株式会社
音処理システム及び音処理方法
24日前
ヤマハ株式会社
収音制御方法および収音制御装置
24日前
ヤマハ株式会社
音声処理方法および音声処理装置
24日前
ヤマハ株式会社
音信号処理方法および音信号処理装置
24日前
ヤマハ株式会社
駆動装置、音響装置および車両用ドア
28日前
ヤマハ株式会社
解錠管理方法および解錠管理システム
24日前
ヤマハ株式会社
信号処理の方法、プログラムおよび装置
25日前
ヤマハ株式会社
画像処理方法、画像処理装置及びプログラム
26日前
ヤマハ株式会社
スピーカ装置、音信号処理方法及びプログラム
24日前
ヤマハ株式会社
情報処理方法、情報処理システムおよびプログラム
24日前
ヤマハ株式会社
情報処理方法、情報処理システムおよびプログラム
1か月前
ヤマハ株式会社
再生データ生成方法
12日前
ヤマハ株式会社
オーディオデータ処理装置、推論装置、及びオーディオデータ処理方法
24日前
ヤマハ株式会社
音響信号処理装置、楽器、音響信号処理方法および音響信号処理プログラム
今日
ヤマハ株式会社
演奏操作装置および鍵盤楽器
24日前
ヤマハ株式会社
音の処理方法及び音処理装置
24日前
ヤマハ株式会社
モデルデータ決定方法、モデルデータ決定装置およびモデルデータ決定プログラム
25日前
ヤマハ株式会社
映像出力方法、映像出力装置および映像出力システム
13日前
個人
木管楽器
20日前
個人
管楽器用リガチャ-
6日前
DIC株式会社
吸音材及び吸音部品
今日
株式会社SinasSP
自動騒音低減装置
11日前
トヨタ自動車株式会社
判定装置
13日前
カシオ計算機株式会社
発音装置、発音方法及びプログラム
13日前
日本軽金属株式会社
遮音壁
18日前
株式会社第一興商
カラオケ装置
18日前
ブラザー工業株式会社
カラオケ装置及びカラオケプログラム
18日前
日本電気株式会社
放送用システムおよび字幕作成方法
20日前
シャープ株式会社
電子機器および電子機器の制御方法
18日前
ブラザー工業株式会社
カラオケ用プログラム、及び、カラオケ装置
17日前
ブラザー工業株式会社
音声録音装置、及び、音声録音用プログラム
17日前
株式会社JVCケンウッド
収音装置、収音方法、およびプログラム
13日前
続きを見る
他の特許を見る