TOP
|
特許
|
意匠
|
商標
特許ウォッチ
Twitter
他の特許を見る
10個以上の画像は省略されています。
公開番号
2025166167
公報種別
公開特許公報(A)
公開日
2025-11-05
出願番号
2025135038,2024530195
出願日
2025-08-14,2022-06-30
発明の名称
処理装置
出願人
ヤマハ株式会社
代理人
個人
,
個人
,
個人
,
個人
主分類
H04R
3/00 20060101AFI20251028BHJP(電気通信技術)
要約
【課題】ユーザビリティを確保しながら、コンパクト化及び低コスト化を図る音・映像処理装置及び処理装置を提供する。
【解決手段】処理装置は、処理パラメータに関連するアイコン501、502を表示する表示面2a1を有し、静電容量の変化を検出するタッチパネル2と、表示面2a1に配置され、ユーザによって操作されることでタッチパネル2において検出される静電容量を変化させる第一物理操作子3と、第一物理操作子3の操作に基づく静電容量の変化に応じて処理パラメータを変更する制御部と、第一物理操作子3への操作を介し、静電容量の変化を伴うタッチパネル2への入力に応じて処理パラメータの種類及び当該処理パラメータに対応するアイコン501、502を選択する機能選択部と、を備える。第一物理操作子3は、機能選択部において選択された処理パラメータに対応するユーザの操作を受け付ける。
【選択図】図9
特許請求の範囲
【請求項1】
音及び映像のうち少なくとも一方に関連する信号が入力されるチャンネルと、
前記チャンネルに入力された前記信号に対応する処理パラメータを変更する制御部と、
前記チャンネルに対応して前記処理パラメータに関連するアイコンを表示する表示面を有し、ユーザの操作に伴う静電容量の変化を検出するタッチパネルと、
前記表示面に配置され、ユーザによって操作されることで前記タッチパネルにおいて検出される前記静電容量を変化させる物理操作子と、
前記物理操作子への操作を介し、前記静電容量の変化を伴う前記タッチパネルへの入力に応じて前記処理パラメータの種類及び当該処理パラメータに対応する前記アイコンを選択する機能選択部と、を備え、
前記制御部は、前記物理操作子の操作に基づく前記静電容量の変化に応じて前記処理パラメータを変更し、
前記物理操作子は、前記機能選択部において選択された処理パラメータに対応するユーザの操作を受け付ける音・映像処理装置。
続きを表示(約 340 文字)
【請求項2】
処理パラメータに関連するアイコンを表示する表示面を有し、静電容量の変化を検出するタッチパネルと、
前記表示面に配置され、ユーザによって操作されることで前記タッチパネルにおいて検出される前記静電容量を変化させる物理操作子と、
前記物理操作子の操作に基づく前記静電容量の変化に応じて前記処理パラメータを変更する制御部と、
前記物理操作子への操作を介し、前記静電容量の変化を伴う前記タッチパネルへの入力に応じて前記処理パラメータの種類及び当該処理パラメータに対応する前記アイコンを選択する機能選択部と、を備え、
前記物理操作子は、前記機能選択部において選択された前記処理パラメータに対応するユーザの操作を受け付ける処理装置。
発明の詳細な説明
【技術分野】
【0001】
本発明は、音・映像処理装置及び処理装置に関する。
続きを表示(約 2,300 文字)
【背景技術】
【0002】
特許文献1には、複数の物理操作子(例えば押しスイッチ、エンコーダ、フェーダなど)を備えたデジタルミキサーが開示されている。物理操作子を有するデジタルミキサーにおいて、ユーザは、デジタルミキサーを見なくても、物理操作子を自身の手指で触れることで、手指がどこに触れているか把握することができる。すなわち、物理操作子を有するデジタルミキサーでは、ユーザビリティ(使い易さ)が確保されている。
【先行技術文献】
【特許文献】
【0003】
特開2021-069028号公報
【発明の概要】
【発明が解決しようとする課題】
【0004】
しかしながら、特許文献1のデジタルミキサーなどの従来の処理装置において、各物理操作子は、単一種類の機能しか持たない。例えば、物理操作子が押しスイッチである場合には、押しスイッチを押し込む機能しか有さない。このため、処理装置における物理操作子の数が多くなってしまい、その結果として、処理装置のコンパクト化及び低コスト化には限界がある。
【0005】
本発明は、上述した事情に鑑みてなされたものであって、ユーザビリティを確保しながら、コンパクト化及び低コスト化を図ることが可能な音・映像処理装置及び処理装置を提供することを目的とする。
【課題を解決するための手段】
【0006】
本発明の第一の態様は、音及び映像のうち少なくとも一方に関連する信号が入力されるチャンネルと、前記チャンネルに入力された前記信号に対応する処理パラメータを変更する制御部と、前記チャンネルに対応して前記処理パラメータに関連するアイコンを表示する表示面を有し、ユーザの操作に伴う静電容量の変化を検出するタッチパネルと、前記表示面に配置され、ユーザによって操作されることで前記タッチパネルにおいて検出される前記静電容量を変化させる物理操作子と、前記物理操作子への操作を介し、前記静電容量の変化を伴う前記タッチパネルへの入力に応じて前記処理パラメータの種類及び当該処理パラメータに対応する前記アイコンを選択する機能選択部と、を備え、前記制御部は、前記物理操作子の操作に基づく前記静電容量の変化に応じて前記処理パラメータを変更し、前記物理操作子は、前記機能選択部において選択された処理パラメータに対応するユーザの操作を受け付ける音・映像処理装置である。
【0007】
本発明の第二の態様は、処理パラメータに関連するアイコンを表示する表示面を有し、静電容量の変化を検出するタッチパネルと、前記表示面に配置され、ユーザによって操作されることで前記タッチパネルにおいて検出される前記静電容量を変化させる物理操作子と、前記物理操作子の操作に基づく前記静電容量の変化に応じて前記処理パラメータを変更する制御部と、前記物理操作子への操作を介し、前記静電容量の変化を伴う前記タッチパネルへの入力に応じて前記処理パラメータの種類及び当該処理パラメータに対応する前記アイコンを選択する機能選択部と、を備え、前記物理操作子は、前記機能選択部において選択された前記処理パラメータに対応するユーザの操作を受け付ける処理装置である。
【発明の効果】
【0008】
本発明によれば、音・映像処理装置及び処理装置のユーザビリティを確保しながら、音・映像処理装置及び処理装置のコンパクト化及び低コスト化を図ることができる。
【図面の簡単な説明】
【0009】
本発明の一実施形態に係る処理装置を示す正面図である。
図1の押しスイッチを示す断面図である。
図1の第一エンコーダを示す断面図である。
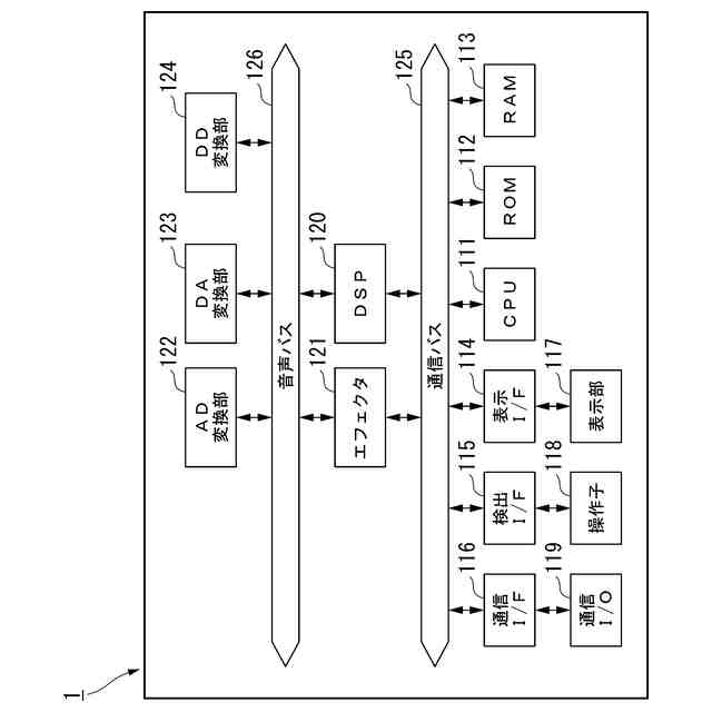
図1に示した処理装置のハードウェア構成例を示すブロック図である。
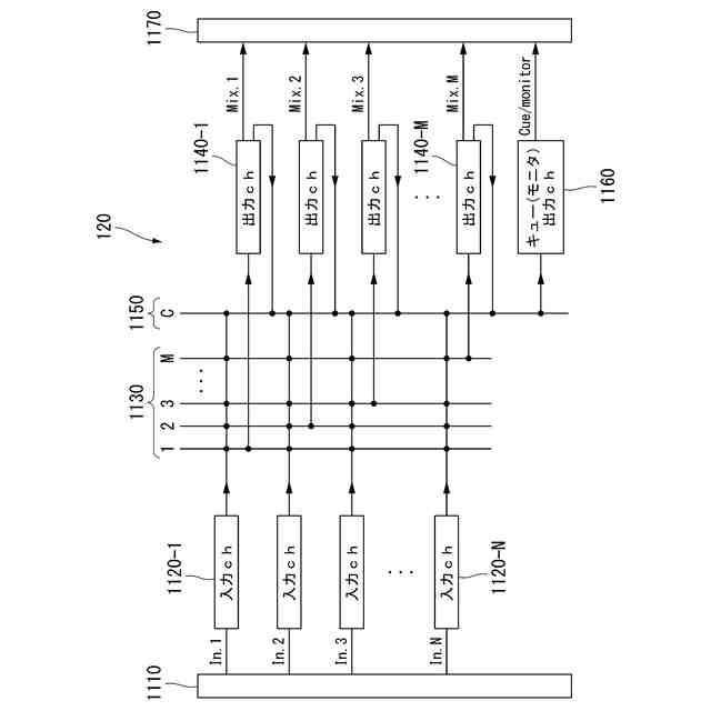
図4のDSPにおいて実行される信号処理の機能構成を示す図である。
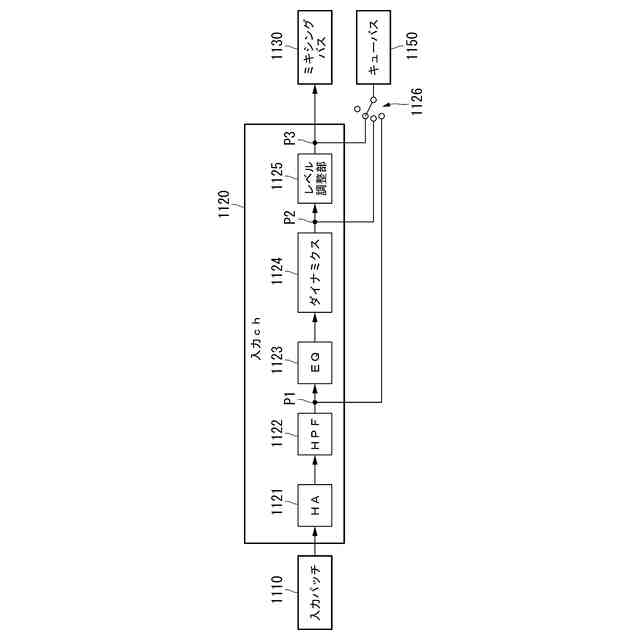
図5の入力chの構成をより詳細に示す図である。
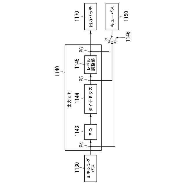
図5の出力chの構成をより詳細に示す図である。
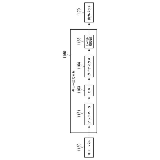
図5に示したキュー出力chの構成をより詳細に示す図である。
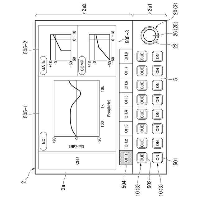
図1の処理装置における表示面の第一表示例を示す図である。
図1の処理装置にける表示面の第二表示例を示す図である。
図1,2の押しスイッチの動作に対応するアイコンの表示の変化について説明する図である。
図1,2の押しスイッチの動作に対応するアイコンの表示の変化について説明する図である。
図1,2の押しスイッチの動作に対応するアイコンの表示の変化について説明する図である。
図1,2の押しスイッチの動作に対応するアイコンの表示の変化について説明する図である。
図1,2の押しスイッチの動作に対応するアイコンの表示の変化について説明する図である。
本発明の他の実施形態に係る処理装置に備えるフェーダの要部を示す正面図である。
図16のXVII-XVII線断面図である。
【発明を実施するための形態】
【0010】
以下、図1~15を参照して本発明の一実施形態について説明する。
本実施形態の処理装置は、入力された音響信号(音に関連する信号)に対して信号処理を実行した上で外部に出力する音処理装置である。図1に示すように、処理装置1は、タッチパネル2と、複数の物理操作子3,4と、を備える。
(【0011】以降は省略されています)
この特許をJ-PlatPat(特許庁公式サイト)で参照する
関連特許
ヤマハ株式会社
鍵盤装置
3日前
ヤマハ株式会社
放音制御装置
1か月前
ヤマハ株式会社
ドライバユニット
1か月前
ヤマハ株式会社
音処理装置及び音処理方法
10日前
ヤマハ株式会社
音処理方法および音処理装置
2か月前
ヤマハ株式会社
音処理装置および音処理方法
2か月前
ヤマハ株式会社
音処理方法および音処理装置
2か月前
ヤマハ株式会社
音処理システム及び音処理方法
1か月前
ヤマハ株式会社
収音制御方法および収音制御装置
1か月前
ヤマハ株式会社
音声処理方法および音声処理装置
1か月前
ヤマハ株式会社
データ処理方法およびデータ処理装置
3か月前
ヤマハ株式会社
駆動装置、音響装置および車両用ドア
2か月前
ヤマハ株式会社
音信号処理方法および音信号処理装置
1か月前
ヤマハ株式会社
解錠管理方法および解錠管理システム
1か月前
ヤマハ株式会社
信号処理の方法、プログラムおよび装置
1か月前
ヤマハ株式会社
画像処理方法、画像処理装置及びプログラム
2か月前
ヤマハ株式会社
スピーカ装置、音信号処理方法及びプログラム
1か月前
ヤマハ株式会社
情報処理方法、情報処理システムおよびプログラム
1か月前
ヤマハ株式会社
情報処理方法、情報処理システムおよびプログラム
2か月前
ヤマハ株式会社
パネル
3か月前
ヤマハ株式会社
処理装置
25日前
ヤマハ株式会社
定位提供方法、定位提供システムおよび定位提供プログラム
3か月前
ヤマハ株式会社
スクリーンユニット
2か月前
ヤマハ株式会社
再生データ生成方法
1か月前
ヤマハ株式会社
オーディオデータ処理装置、推論装置、及びオーディオデータ処理方法
1か月前
ヤマハ株式会社
音響信号処理装置、楽器、音響信号処理方法および音響信号処理プログラム
1か月前
ヤマハ株式会社
鍵盤装置及び演奏操作装置
16日前
ヤマハ株式会社
音の処理方法及び音処理装置
1か月前
ヤマハ株式会社
演奏操作装置および鍵盤楽器
1か月前
ヤマハ株式会社
楽器用検出システムおよび楽器
2か月前
ヤマハ株式会社
モデルデータ決定方法、モデルデータ決定装置およびモデルデータ決定プログラム
1か月前
ヤマハ株式会社
情報処理装置、及びその制御方法
2か月前
ヤマハ株式会社
コード推定装置およびコード推定方法
4日前
ヤマハ株式会社
楽器用ペダルユニットおよび電子鍵盤装置
3か月前
ヤマハ株式会社
音信号処理方法および音信号処理システム
3か月前
ヤマハ株式会社
映像出力方法、映像出力装置および映像出力システム
1か月前
続きを見る
他の特許を見る