TOP
|
特許
|
意匠
|
商標
特許ウォッチ
Twitter
他の特許を見る
10個以上の画像は省略されています。
公開番号
2025143792
公報種別
公開特許公報(A)
公開日
2025-10-02
出願番号
2024043228
出願日
2024-03-19
発明の名称
信号処理の方法、プログラムおよび装置
出願人
ヤマハ株式会社
代理人
個人
主分類
H04S
1/00 20060101AFI20250925BHJP(電気通信技術)
要約
【課題】 コンテンツに適した最良の処理によりコンテンツに含まれる音声を明瞭化する。
【解決手段】 コンピュータが、コンテンツのLチャネル信号とRチャネル信号との相関度を解析し、解析した前記相関度に応じて、コンテンツに対し、第1周波数帯域の信号を強調する第1EQ処理311Lおよび311R、並びに第1周波数帯域とは異なる第2周波数帯域の信号を抑制する第2EQ処理312Lおよび312Rの少なくともいずれかを実行する。
【選択図】図1
特許請求の範囲
【請求項1】
コンピュータが、
コンテンツのLチャネル信号とRチャネル信号との相関度を解析し、
解析した前記相関度に応じて、前記コンテンツに対し、第1周波数帯域の信号を強調する第1イコライザ処理、および前記第1周波数帯域とは異なる第2周波数帯域の信号を抑制する第2イコライザ処理の少なくともいずれかを実行する、信号処理方法。
続きを表示(約 790 文字)
【請求項2】
前記相関度が閾値より高い場合に前記第1イコライザ処理を実行し、前記相関度が前記閾値以下の場合に前記第2イコライザ処理を実行する請求項1に記載の信号処理方法。
【請求項3】
前記相関度の増加に応じて、前記第1イコライザ処理の強調の度合を増加させる請求項1に記載の信号処理方法。
【請求項4】
前記相関度の増加に応じて、前記第2イコライザ処理の抑制の度合を減少させる請求項1に記載の信号処理方法。
【請求項5】
前記相関度の増加に応じて、前記第1イコライザ処理の強調の度合を増加させ、前記第2イコライザ処理の抑制の度合を減少させる請求項1に記載の信号処理方法。
【請求項6】
前記第1周波数帯域は音声のフォルマント周波数帯域を含み、前記第2周波数帯域は前記フォルマント周波数帯域と重複しない周波数帯域を含む請求項1に記載の信号処理方法。
【請求項7】
前記コンテンツの属性に基づいて、前記第1イコライザ処理の強調の度合または前記第2イコライザ処理の抑制の度合を調整する請求項1に記載の信号処理方法。
【請求項8】
前記Lチャネル信号および前記Rチャネル信号のセンタ成分に基づいて、前記第1イコライザ処理または前記第2イコライザ処理を調整する請求項1に記載の信号処理方法。
【請求項9】
前記コンテンツの音量に基づき、前記第1イコライザ処理の強調の度合、または前記第2イコライザ処理の抑制の度合を調整する請求項1に記載の信号処理方法。
【請求項10】
周囲の環境騒音に基づき、前記第1イコライザ処理の強調の度合または前記第2イコライザ処理の抑制の度合を調整する請求項1に記載の信号処理方法。
(【請求項11】以降は省略されています)
発明の詳細な説明
【技術分野】
【0001】
この発明は、音声を明瞭化するための信号処理の方法、プログラムおよび装置に関する。
続きを表示(約 1,600 文字)
【背景技術】
【0002】
音声を含む再生音を生成する装置では、音声を聴き取りやすいものにすることが求められる。そのための技術が例えば特許文献1に開示されている。特許文献1に開示された技術では、入力オーディオ信号から第1フォルマント成分および第2フォルマント成分を抽出して増幅し、増幅した第1フォルマント成分および第2フォルマント成分を入力オーディオ信号に加える。
【先行技術文献】
【特許文献】
【0003】
特許第5590021号
【発明の概要】
【発明が解決しようとする課題】
【0004】
しかしながら、フォルマント成分の増幅により得られる音声の明瞭化の効果は、再生音の音源であるコンテンツに依存し、コンテンツによっては、フォルマント成分の増幅が明瞭化のための最適な手段でない場合がある。
【0005】
この発明は以上のような事情に鑑みてなされたものであり、コンテンツに適した最良の処理により、コンテンツに含まれる音声を明瞭化する技術的手段を提供することを目的とする。
【課題を解決するための手段】
【0006】
この発明は、コンテンツのLチャネル信号とRチャネル信号との相関度を解析し、解析した前記相関度に応じて、前記コンテンツに対し、第1周波数帯域の信号を強調する第1イコライザ、および前記第1周波数帯域とは異なる第2周波数帯域の信号を抑制する第2イコライザの少なくともいずれかの処理を実行する、信号処理方法を提供する。
【図面の簡単な説明】
【0007】
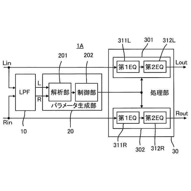
この発明の第1実施形態である信号処理装置の構成を示すブロック図である。
同実施形態の動作を示すフローチャートである。
この発明の第2実施形態である信号処理装置の動作例を示す図である。
同信号処理装置の動作例を示す図である。
同信号処理装置の動作例を示す図である。
この発明の第3実施形態である信号処理装置の構成を示すブロック図である。
この発明の第4実施形態である信号処理装置の構成を示すブロック図である。
この発明の第5実施形態である信号処理装置の構成を示すブロック図である。
この発明の第6実施形態である信号処理装置の構成を示すブロック図である。
この発明の第7実施形態である信号処理装置の構成を示すブロック図である。
この発明の第8実施形態である信号処理装置の構成を示すブロック図である。
【発明を実施するための形態】
【0008】
以下、図面を参照し、この発明の実施形態について説明する。
【0009】
<第1実施形態>
図1はこの発明の第1実施形態である信号処理装置1Aの構成を示すブロック図である。本実施形態による信号処理装置1Aは、スピーカ、ヘッドホン、イヤホン等を有するオーディオ再生機器等に搭載される装置であり、例えばプログラムを記憶したメモリと、このプログラムを実行するプロセッサとを含むコンピュータである。同プロセッサは、同プログラムを実行することにより、LPF(Low Pass Filter)10と、パラメータ生成部20と、処理部30として機能する。また、信号処理装置1Aは、各々電子回路であるLPF10、パラメータ生成部20および処理部30を有するものであってもよい。
【0010】
LPF10は、再生されるコンテンツのLチャネル信号LinおよびRチャネル信号Rinの高域除去を行うことによりスムージング(すなわち、波形の円滑化)されたLチャネル信号LおよびRチャネル信号Rを生成する手段である。
(【0011】以降は省略されています)
この特許をJ-PlatPat(特許庁公式サイト)で参照する
関連特許
ヤマハ株式会社
放音制御装置
18日前
ヤマハ株式会社
ドライバユニット
1か月前
ヤマハ株式会社
音処理方法および音処理装置
2か月前
ヤマハ株式会社
音処理装置および音処理方法
1か月前
ヤマハ株式会社
音処理方法および音処理装置
1か月前
ヤマハ株式会社
音処理システム及び音処理方法
1か月前
ヤマハ株式会社
収音制御方法および収音制御装置
1か月前
ヤマハ株式会社
音声処理方法および音声処理装置
1か月前
ヤマハ株式会社
音信号処理方法および音信号処理装置
1か月前
ヤマハ株式会社
駆動装置、音響装置および車両用ドア
1か月前
ヤマハ株式会社
解錠管理方法および解錠管理システム
1か月前
ヤマハ株式会社
データ処理方法およびデータ処理装置
2か月前
ヤマハ株式会社
信号処理の方法、プログラムおよび装置
1か月前
ヤマハ株式会社
画像処理方法、画像処理装置及びプログラム
1か月前
ヤマハ株式会社
スピーカ装置、音信号処理方法及びプログラム
1か月前
ヤマハ株式会社
情報処理方法、情報処理システムおよびプログラム
1か月前
ヤマハ株式会社
情報処理方法、情報処理システムおよびプログラム
1か月前
ヤマハ株式会社
処理装置
12日前
ヤマハ株式会社
定位提供方法、定位提供システムおよび定位提供プログラム
2か月前
ヤマハ株式会社
再生データ生成方法
1か月前
ヤマハ株式会社
スクリーンユニット
2か月前
ヤマハ株式会社
オーディオデータ処理装置、推論装置、及びオーディオデータ処理方法
1か月前
ヤマハ株式会社
鍵盤装置及び演奏操作装置
3日前
ヤマハ株式会社
音響信号処理装置、楽器、音響信号処理方法および音響信号処理プログラム
21日前
ヤマハ株式会社
演奏操作装置および鍵盤楽器
1か月前
ヤマハ株式会社
音の処理方法及び音処理装置
1か月前
ヤマハ株式会社
楽器用検出システムおよび楽器
2か月前
ヤマハ株式会社
モデルデータ決定方法、モデルデータ決定装置およびモデルデータ決定プログラム
1か月前
ヤマハ株式会社
情報処理装置、及びその制御方法
2か月前
ヤマハ株式会社
映像出力方法、映像出力装置および映像出力システム
1か月前
ヤマハ株式会社
データ出力方法、プログラム、データ出力装置および電子楽器
3日前
個人
イヤーピース
10日前
個人
イヤーマフ
24日前
個人
監視カメラシステム
1か月前
キーコム株式会社
光伝送線路
1か月前
個人
スイッチシステム
18日前
続きを見る
他の特許を見る