TOP
|
特許
|
意匠
|
商標
特許ウォッチ
Twitter
他の特許を見る
10個以上の画像は省略されています。
公開番号
2025170154
公報種別
公開特許公報(A)
公開日
2025-11-14
出願番号
2025153584,2024510007
出願日
2025-09-16,2023-03-10
発明の名称
データ出力方法、プログラム、データ出力装置および電子楽器
出願人
ヤマハ株式会社
代理人
弁理士法人高橋・林アンドパートナーズ
主分類
G10G
1/00 20060101AFI20251107BHJP(楽器;音響)
要約
【課題】ユーザの演奏に基づいて楽譜上の演奏位置を特定するときの精度を向上する。
【解決手段】一実施形態におけるデータ出力方法は、演奏操作に関する入力データを順次取得することと、入力データを第1推定モデルおよび第2推定モデルを含む複数の推定モデルに提供することによって、第1推定情報および第2推定情報を含む複数の推定情報を取得することと、複数の推定情報に基づいて楽譜演奏位置を特定することと、楽譜演奏位置に基づいて所定のデータを再生して出力することと、を含む。第1推定モデルは、演奏操作に関する演奏データと所定の楽譜における楽譜位置との関係を示すモデルである。第2推定モデルは、演奏データと小節内位置との関係を学習させたモデルである。
【選択図】図5
特許請求の範囲
【請求項1】
演奏操作に関する入力データを順次取得することと、
前記入力データを第1推定モデルおよび第2推定モデルを含む複数の推定モデルに提供することによって、第1推定情報および第2推定情報を含む複数の推定情報を取得することと、
前記複数の推定情報に基づいて、前記入力データに対する楽譜演奏位置を特定することと、
前記楽譜演奏位置に基づいて所定のデータを再生して出力することと、
を含み、
前記第1推定モデルは、演奏操作に関する演奏データと所定の楽譜における楽譜位置との関係を示すモデルであり、前記入力データが提供されると当該入力データに対応する楽譜位置に関する前記第1推定情報を出力し、
前記第2推定モデルは、前記演奏データと小節内位置との関係を示すモデルであり、前記入力データが提供されると当該入力データに対応する小節内位置に関する前記第2推定情報を出力する、
データ出力方法。
発明の詳細な説明
【技術分野】
【0001】
本発明はデータを出力する技術に関する。
背景技術
続きを表示(約 1,800 文字)
【0002】
所定の楽曲についてユーザによる演奏によって得られた音データを解析することによって、その楽曲における楽譜上の演奏位置を特定する技術が提案されている。この技術を自動演奏に適用することによって、ユーザによる演奏に追従した自動演奏を実現する技術も提案されている(例えば、特許文献1)。
【先行技術文献】
【特許文献】
【0003】
特開2017-207615号公報
【発明の概要】
【発明が解決しようとする課題】
【0004】
自動演奏がユーザの演奏に追従する精度は、特定される演奏位置の精度の影響を受ける。演奏位置の精度は、楽曲を構成する音符列などに起因して、精度が低下する場合があった。
【0005】
本発明の目的の一つは、ユーザの演奏に基づいて楽譜上の演奏位置を特定するときの精度を向上することにある。
課題を解決するための手段
【0006】
一実施形態によれば、演奏操作に関する入力データを順次取得することと、前記入力データを第1推定モデルおよび第2推定モデルを含む複数の推定モデルに提供することによって、第1推定情報および第2推定情報を含む複数の推定情報を取得することと、前記複数の推定情報に基づいて、前記入力データに対する楽譜演奏位置を特定することと、前記楽譜演奏位置に基づいて所定のデータを再生して出力することと、を含むデータ出力方法が提供される。前記第1推定モデルは、演奏操作に関する演奏データと所定の楽譜における楽譜位置との関係を示すモデルであり、前記入力データが提供されると当該入力データに対応する楽譜位置に関する前記第1推定情報を出力する。前記第2推定モデルは、前記演奏データと小節内位置との関係を示すモデルであり、前記入力データが提供されると当該入力データに対応する小節内位置に関する前記第2推定情報を出力する。
発明の効果
【0007】
本発明によれば、ユーザの演奏に基づいて楽譜上の演奏位置を特定するときの精度を向上することができる。
【図面の簡単な説明】
【0008】
第1実施形態におけるシステム構成を説明するための図である。
第1実施形態における電子楽器の構成を説明する図である。
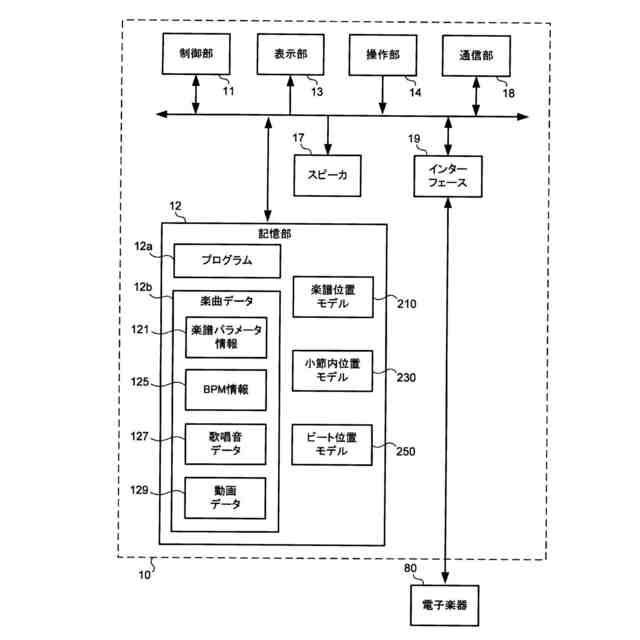
第1実施形態におけるデータ出力装置の構成を説明する図である。
第1実施形態における演奏追従機能を説明する図である。
第1実施形態におけるデータ出力方法を説明する図である。
第2実施形態における楽譜位置モデルを説明する図である。
第3実施形態におけるデータ生成機能を説明する図である。
第4実施形態における楽譜位置モデルを生成するためのモデル生成機能を説明する図である。
第4実施形態における小節内位置モデルを生成するためのモデル生成機能を説明する図である。
第4実施形態におけるビート位置モデルを生成するためのモデル生成機能を説明する図である。発明を実施するための形態
【0009】
以下、本発明の一実施形態について、図面を参照しながら詳細に説明する。以下に示す実施形態は一例であって、本発明はこれらの実施形態に限定して解釈されるものではない。以下に説明する複数の実施形態で参照する図面において、同一部分または同様な機能を有する部分には同一の符号または類似の符号(数字の後にA、Bなど付しただけの符号)を付し、その繰り返しの説明は省略する場合がある。図面は、説明を明確にするために、構成の一部が図面から省略されたりして、模式的に説明される場合がある。
【0010】
<第1実施形態>
[概要]
本発明の一実施形態におけるデータ出力装置は、所定の楽曲について、ユーザによる電子楽器への演奏に追従してその楽曲に対応する自動演奏を実現する。この例では、電子楽器は電子ピアノであり、自動演奏の対象となる楽器はボーカルである。データ出力装置は、自動演奏によって得られる歌唱音と、歌唱者を模した画像を含む動画と、をユーザに提供する。このデータ出力装置によれば、後述する演奏追従機能により、ユーザが演奏している楽譜上の位置を高い精度で特定することができる。以下、データ出力装置およびデータ出力装置を含むシステムについて説明する。
(【0011】以降は省略されています)
この特許をJ-PlatPat(特許庁公式サイト)で参照する
関連特許
個人
遮音材
12日前
個人
歌唱補助器具
21日前
横浜ゴム株式会社
音響材
5日前
個人
音声出力装置
12日前
NOK株式会社
吸音構造体
14日前
矢崎総業株式会社
車両用対話システム
13日前
横浜ゴム株式会社
多層空洞音響材
12日前
株式会社第一興商
カラオケ装置
13日前
有限会社 宮脇工房
モーター挙動音発生装置
21日前
株式会社デンソー
制御装置、制御方法、及び制御プログラム
5日前
株式会社第一興商
カラオケ装置、カラオケシステム
7日前
株式会社コルグ
楽音信号変換装置、楽音信号変換方法、プログラム
15日前
株式会社枚方技研
方向付き楽器固定具
13日前
株式会社デンソー
制御装置、ロボットシステム、制御方法、及び制御プログラム
20日前
パイオニア株式会社
効果音出力装置
22日前
ピクシーダストテクノロジーズ株式会社
遮音ユニット、遮音構造体、および区画設備
14日前
株式会社イービーエム
音声分析装置、音声分析システム、音声分析方法、及び音声分析プログラム
5日前
カシオ計算機株式会社
電子鍵盤楽器
14日前
株式会社トランストロン
アクティブノイズ制御装置、アクティブノイズ制御方法及びアクティブノイズ制御プログラム
20日前
AlphaTheta株式会社
情報処理装置
20日前
パナソニックオートモーティブシステムズ株式会社
能動騒音低減装置、移動体装置、及び、能動騒音低減方法
13日前
カシオ計算機株式会社
電子楽器、方法およびプログラム
5日前
ヤマハ株式会社
鍵盤装置及び演奏操作装置
5日前
Fillgoo株式会社
楽曲配信システム、プログラム及びサーバ
22日前
ノキア テクノロジーズ オサケユイチア
オーディオ表現および関連するレンダリング
7日前
ドルビー・インターナショナル・アーベー
マルチチャネル・オーディオ・コンテンツの符号化
22日前
テイラー - リスタグ、インコーポレイテッド ドゥーイング ビジネス アズ テイラー ギターズ
ネック組立て特徴をもつギター
今日
ビーサイズ株式会社
情報処理装置、情報処理端末、情報処理方法、情報処理プログラム
5日前
ヤマハ株式会社
データ出力方法、プログラム、データ出力装置および電子楽器
5日前
華為技術有限公司
チャネル間位相差パラメータ符号化方法および装置
12日前
華為技術有限公司
マルチチャネル信号の符号化方法およびエンコーダ
1日前
ピンドロップ セキュリティー、インコーポレイテッド
音声からの識別及び照合のための話者非依存性埋め込みのシステム及び方法
7日前
ドルビー ラボラトリーズ ライセンシング コーポレイション
没入的オーディオ信号をエンコードおよび/またはデコードするための方法および装置
1日前
フラウンホファー ゲセルシャフト ツール フェールデルンク ダー アンゲヴァンテン フォルシュンク エー.ファオ.
複数の音声オブジェクトをエンコードする装置および方法、または2つ以上の関連する音声オブジェクトを使用してデコードする装置および方法
1日前
個人
血液中の赤血球に結合したエンドトキシン測定のための試料作製法
13日前
JX金属株式会社
炭素被覆金属粉末及びペースト
7日前
続きを見る
他の特許を見る