TOP
|
特許
|
意匠
|
商標
特許ウォッチ
Twitter
他の特許を見る
10個以上の画像は省略されています。
公開番号
2025171592
公報種別
公開特許公報(A)
公開日
2025-11-20
出願番号
2024077089
出願日
2024-05-10
発明の名称
音処理装置及び音処理方法
出願人
ヤマハ株式会社
代理人
弁理士法人旺知国際特許事務所
主分類
G10H
1/053 20060101AFI20251113BHJP(楽器;音響)
要約
【課題】トーキングモジュレータと同様の演奏効果を非接触で実現可能にする。
【解決手段】音処理装置20は、利用者Uの口を示す入力画像IGに基づいて、利用者Uの音声に関するフォルマントの周波数及び振幅を推定する推定部21と、楽器の演奏信号PSを、推定されたフォルマントの周波数及び振幅に応じて変調することによって得られた音信号SSを出力する変調部22と、を備える。
【選択図】図1
特許請求の範囲
【請求項1】
人の口を示す入力画像に基づいて、前記人の音声に関するフォルマントの周波数及び振幅を推定する推定部と、
楽器の演奏信号を前記推定されたフォルマントの周波数及び振幅に応じて変調することによって得られた音信号を出力する変調部と、
を備える音処理装置。
続きを表示(約 910 文字)
【請求項2】
前記推定されたフォルマントの周波数及び振幅は第1フォルマントの周波数及び振幅である、
請求項1に記載の音処理装置。
【請求項3】
前記推定部は、前記入力画像が示す前記人の口唇の開口度合いに基づいて前記フォルマントの周波数及び振幅を推定する、
請求項1に記載の音処理装置。
【請求項4】
前記推定部は、前記入力画像が示す前記人の口唇の縦幅と横幅とに基づいて前記フォルマントの周波数及び振幅を推定する、
請求項3に記載の音処理装置。
【請求項5】
前記推定部は、前記入力画像に基づいて前記人の音声に含まれる母音を推定し、前記推定された母音から前記フォルマントの周波数及び振幅を決定する、
請求項1に記載の音処理装置。
【請求項6】
前記推定部は、複数の人が発声する場合の口を示す口画像と、前記複数の人が発声した音声に含まれる母音との関係を学習済みである学習モデルに、前記入力画像を入力することにより前記人の音声に含まれる母音を推定する、
請求項5に記載の音処理装置。
【請求項7】
前記推定部は、前記入力画像と、前記人の舌の位置を示す位置情報とに基づいて、前記フォルマントの周波数及び振幅を推定する、
請求項1に記載の音処理装置。
【請求項8】
前記変調部は、前記フォルマントに対応する1以上のピーキングフィルタを含み、前記変調部は、前記1以上のピーキングフィルタから出力される信号を前記音信号として出力する、
請求項1に記載の音処理装置。
【請求項9】
前記1以上のピーキングフィルタのそれぞれはデジタルフィルタにより構成される、
請求項8に記載の音処理装置。
【請求項10】
人の口を示す画像に基づいて、前記人の音声に関するフォルマントの周波数及び振幅を推定し、
楽器の演奏信号を前記推定されたフォルマントの周波数及び振幅に応じて変調することによって得られた音信号を出力する、
音処理方法。
発明の詳細な説明
【技術分野】
【0001】
本開示は、音処理装置及び音処理方法に関する。
続きを表示(約 2,100 文字)
【背景技術】
【0002】
従来から、音楽用のエフェクタとして、人間の発声過程のうち最上流にある喉頭原音を楽器音に置き換えることにより発話風の効果が得られるトーキングモジュレータが知られている。従来のトーキングモジュレータは、楽器からの音響信号を、チューブを用いて口腔内に放射させることにより、擬似的に喉頭原音を楽器音へ置換する。例えば、非特許文献1には、代表的なトーキングモジュレータが開示されている。
【先行技術文献】
【非特許文献】
【0003】
“MXR(登録商標)TALK BOX”,[online],DUNLOP MANUFACTURING社ホームページ,[令和6年2月10日検索],インターネット <URL:https://www.jimdunlop.com/mxr-talk-box/>
red bears,“歌声の研究(ボイトレ研究)”,[online],平成2017年3月14日更新,フリーBGM素材サイト,[令和6年2月10日検索],インターネット <URL:https://nakano-sound.com/voicetraning/voicetraning16.html#google_vignette>
【発明の概要】
【発明が解決しようとする課題】
【0004】
しかし、非特許文献1に開示されているような従来のトーキングモジュレータでは、演奏者の口腔内にチューブが導入されるため、演奏者にとって自然な発話時と同じ口腔形状をとることが難しいという問題があった。
【0005】
以上の事情を考慮して、本開示のひとつの態様は、トーキングモジュレータと同様の演奏効果を非接触で実現可能な音処理装置を得ることを目的とする。
【課題を解決するための手段】
【0006】
以上の課題を解決するために、本開示のひとつの態様に係る音処理装置は、人の口を示す入力画像に基づいて、前記人の音声に関するフォルマントの周波数及び振幅を推定する推定部と、楽器の演奏信号を前記推定されたフォルマントの周波数及び振幅に応じて変調することによって得られた音信号を出力する変調部と、を備える。
【0007】
本開示のひとつの態様に係る音処理方法は、人の口を示す画像に基づいて、前記人の音声に関するフォルマントの周波数及び振幅を推定し、楽器の演奏信号を前記推定されたフォルマントの周波数及び振幅に応じて変調することによって得られた音信号を出力する。
【図面の簡単な説明】
【0008】
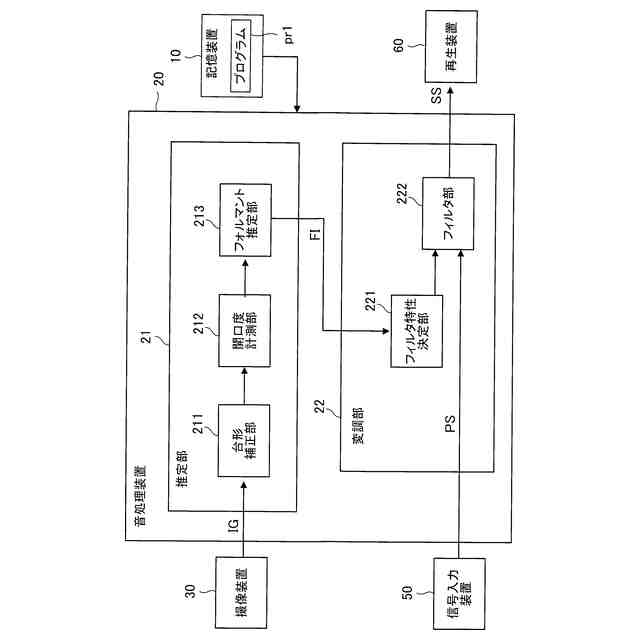
第1実施形態に係る音処理装置を含む演奏システムの一例を示すブロック図である。
人の音声の周波数スペクトルを示す図である。
口唇の開口度を説明する図である。
図1の音処理装置の一例を示すブロック図である。
図1の音処理装置の音処理動作の一例を示すフローチャートである。
第2実施形態に係る音処理装置を含む演奏システムの一例を示すブロック図である。
図6の音処理装置の一例を示すブロック図である。
図6の音処理装置の音処理動作の一例を示すフローチャートである。
第3実施形態に係る音処理装置を含む演奏システムの一例を示すブロック図である。
図9の音処理装置の一例を示すブロック図である。
図9の音処理装置の音処理動作の一例を示すフローチャートである。
第1変形例に係る音処理装置の一例を示すブロック図である。
口唇の縦幅及び横幅を説明する図である。
5つの母音に対応する口唇の形状の一例を示す図である。
図12の音処理装置の音処理動作の一例を示すフローチャートである。
【発明を実施するための形態】
【0009】
A:第1実施形態
A1:音処理装置の構成
図1は、第1実施形態に係る音処理装置20を含む演奏システム1の一例を示すブロック図である。
図1に示したように、演奏システム1は、記憶装置10、音処理装置20、撮像装置、撮像装置30、楽器40、信号入力装置50、及び再生装置60を有している。
【0010】
記憶装置10は、コンピュータによって読み取り可能な記録媒体(例えば、コンピュータによって読み取り可能なnon transitoryな記録媒体)である。記憶装置10は、不揮発性メモリーと、揮発性メモリーと、を含む。不揮発性メモリーは、例えば、ROM(Read Only Memory)、EPROM(Erasable Programmable Read Only Memory)、及びEEPROM(Electrically Erasable Programmable Read Only Memory)である。揮発性メモリーは、例えば、RAM(Random Access Memory)である。
(【0011】以降は省略されています)
この特許をJ-PlatPat(特許庁公式サイト)で参照する
関連特許
ヤマハ株式会社
鍵盤装置
15日前
ヤマハ株式会社
放音制御装置
1か月前
ヤマハ株式会社
音処理装置及び音処理方法
22日前
ヤマハ株式会社
音信号出力装置および音信号出力方法
1日前
ヤマハ株式会社
処理装置
1か月前
ヤマハ株式会社
鍵盤装置及び演奏操作装置
28日前
ヤマハ株式会社
音響信号処理装置、楽器、音響信号処理方法および音響信号処理プログラム
1か月前
ヤマハ株式会社
コード推定装置およびコード推定方法
16日前
ヤマハ株式会社
データ出力方法、プログラム、データ出力装置および電子楽器
28日前
個人
ギター
7日前
横浜ゴム株式会社
音響材
28日前
三井化学株式会社
防音構造体
8日前
三井化学株式会社
防音構造体
8日前
個人
共鳴装置及び共鳴装置ユニット
2日前
豊田合成株式会社
車両の音出力装置
2日前
個人
管楽器用音質改善留め具
22日前
株式会社デンソー
音低減装置
7日前
横浜ゴム株式会社
多層空洞音響材
1か月前
国立大学法人大阪大学
音声分析方法および音声分析装置
1日前
三井化学株式会社
防音構造体および自動車の防音構造
8日前
ヤマハ株式会社
鍵盤装置
15日前
ヤマハ株式会社
音処理装置及び音処理方法
22日前
株式会社デンソー
制御装置、制御方法、及び制御プログラム
28日前
パイオニア株式会社
事故検知装置、事故検知方法および事故検知プログラム
1日前
株式会社第一興商
カラオケ装置、カラオケシステム
14日前
株式会社第一興商
カラオケ装置、カラオケシステム
7日前
株式会社第一興商
カラオケ装置、カラオケシステム
1か月前
個人
和音記号表示システム、和音記号表示プログラム及び音出力システム
2日前
本田技研工業株式会社
音声認識装置、音声認識方法、及びプログラム
9日前
トヨタ自動車株式会社
ブレーキインジケータシステム
7日前
日本電気株式会社
伝達音抑制装置、伝達音抑制システム、伝達音抑制方法およびプログラム
7日前
NOK株式会社
吸音構造体シート、吸音構造体シートセット、及び吸音構造体
1日前
ソフトバンク株式会社
制御装置、システム、制御方法、及びプログラム
1日前
LINEヤフー株式会社
プログラム、情報処理方法、情報処理装置
2日前
パナソニックIPマネジメント株式会社
ノイズキャンセルシステムおよびノイズキャンセル方法
7日前
株式会社イービーエム
音声分析装置、音声分析システム、音声分析方法、及び音声分析プログラム
28日前
続きを見る
他の特許を見る