TOP
|
特許
|
意匠
|
商標
特許ウォッチ
Twitter
他の特許を見る
10個以上の画像は省略されています。
公開番号
2025176559
公報種別
公開特許公報(A)
公開日
2025-12-04
出願番号
2024082798
出願日
2024-05-21
発明の名称
防音構造体
出願人
三井化学株式会社
代理人
個人
,
個人
主分類
G10K
11/16 20060101AFI20251127BHJP(楽器;音響)
要約
【課題】十分な遮音性が得られ、曲面または凹凸を有することもある自動車の車室を部分的に車外から隔てる部材の少なくとも一部に容易に安定的に載置できる薄型で軽量の防音構造体を提供する。
【解決手段】防音構造体1が、自動車の車室を部分的に車外から隔てる部材の少なくとも一部に配置されており、弾性を有する膜部2と、膜部2に立設されており弾性を有する支持壁部3と、膜部2に立設されている錘部4を有する。膜部2は支持壁部3によって複数の区画に分けられ、全ての区画または一部の区画の内部に錘部4が位置している。1つの区画に1つの錘部4が配置されている。支持壁部3の、膜部2に直交する方向に延びる高さは、錘部4の、膜部2に直交する方向に延びる高さよりも大きい。錘部4の各々が、弾性を有するばね部4aと、ばね部4aよりも質量が大きい質量部4bとを有するばねマス共振器を構成している。
【選択図】図7
特許請求の範囲
【請求項1】
自動車の車室を部分的に車外から隔てる部材の少なくとも一部に配置されており、
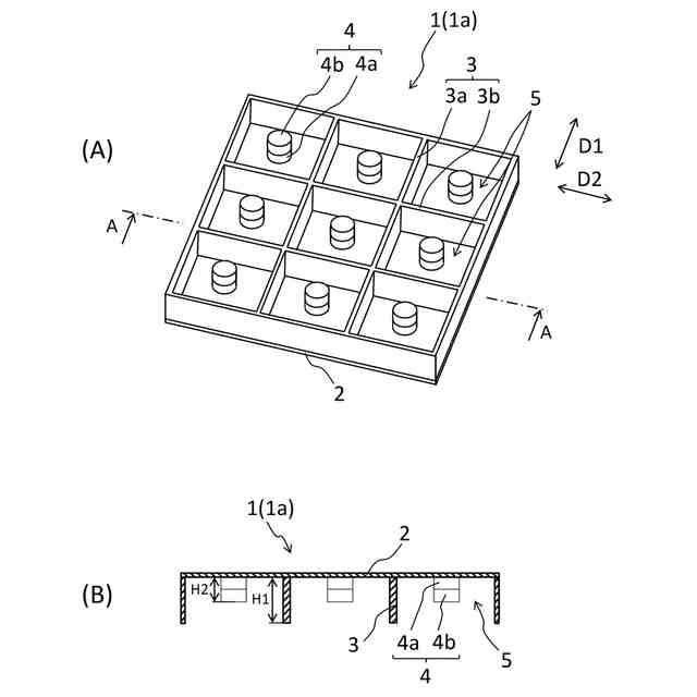
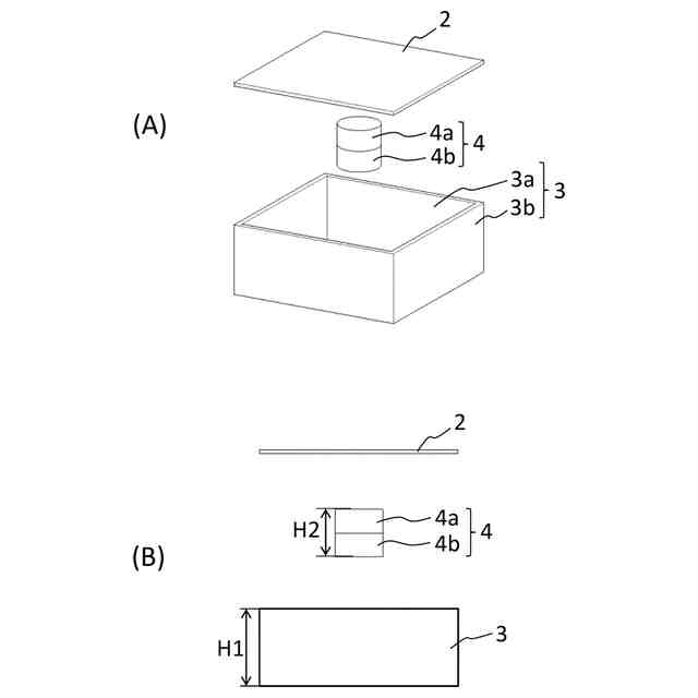
弾性を有する膜部と、前記膜部に立設されており弾性を有する支持壁部と、前記膜部に立設されている錘部と、を有し、
前記膜部は前記支持壁部によって複数の区画に分けられており、複数の前記区画の全ての内部に、または複数の前記区画のうちの一部の区画の内部に、前記錘部がそれぞれ位置しており、
内部に前記錘部が位置している前記区画においては、1つの前記区画に1つの前記錘部が配置されており、
前記支持壁部の、前記膜部に直交する方向に延びる高さは、前記錘部の、前記膜部に直交する方向に延びる高さよりも大きく、
前記錘部の各々が、弾性を有するばね部と、前記ばね部よりも質量が大きい質量部とを有するばねマス共振器を構成していることを特徴とする、防音構造体。
続きを表示(約 1,200 文字)
【請求項2】
前記膜部と前記支持壁部と前記ばね部はいずれも、エネルギー弾性を有しておらずゴム弾性を有する材料と、ゴム弾性を有しておらずエネルギー弾性を有する材料と、ゴム弾性とエネルギー弾性の両方を有する材料とのうちのいずれかからなる、請求項1に記載の防音構造体。
【請求項3】
前記膜部と前記支持壁部と前記ばね部はいずれも、23℃で周波数1Hz~1000Hzにおける動的貯蔵弾性率が0.01MPa以上100MPa以下である、請求項1または2に記載の防音構造体。
【請求項4】
前記膜部と前記支持壁部と前記ばね部はいずれも、23℃で周波数1Hz~1000Hzにおける損失正接が0.01以上0.50以下である、請求項3に記載の防音構造体。
【請求項5】
前記ばね部は、前記錘部の前記膜部に取り付けられている側に位置し、前記質量部は、前記錘部の前記膜部に取り付けられている側と反対側に位置する、請求項1または2に記載の防音構造体。
【請求項6】
自動車の、自動車の車室を部分的に車外から隔てる部材の少なくとも一部に配置されており、
弾性を有する膜部と、前記膜部に立設されており弾性を有する支持壁部と、前記膜部に立設されている錘部と、を有し、
前記膜部は前記支持壁部によって複数の区画に分けられており、複数の前記区画の全ての内部に、または複数の前記区画のうちの一部の区画の内部に、前記錘部がそれぞれ位置しており、
内部に前記錘部が位置している前記区画においては、1つの前記区画に1つの前記錘部が配置されており、
前記支持壁部の、前記膜部に直交する方向に延びる高さは、前記錘部の、前記膜部に直交する方向に延びる高さよりも大きく、
前記膜部がばね部として、前記錘部が質量部としてばねマス共振器を構成していることを特徴とする、防音構造体。
【請求項7】
前記膜部と前記支持壁部はいずれも、エネルギー弾性を有しておらずゴム弾性を有する材料と、ゴム弾性を有しておらずエネルギー弾性を有する材料と、ゴム弾性とエネルギー弾性の両方を有する材料とのうちのいずれかからなる、請求項6に記載の防音構造体。
【請求項8】
前記膜部と前記支持壁部はいずれも、23℃で周波数1Hz~1000Hzにおける動的貯蔵弾性率が0.01MPa以上100MPa以下である、請求項6または7に記載の防音構造体。
【請求項9】
前記膜部と前記支持壁部はいずれも、23℃で周波数1Hz~1000Hzにおける損失正接が0.01以上0.50以下である、請求項8に記載の防音構造体。
【請求項10】
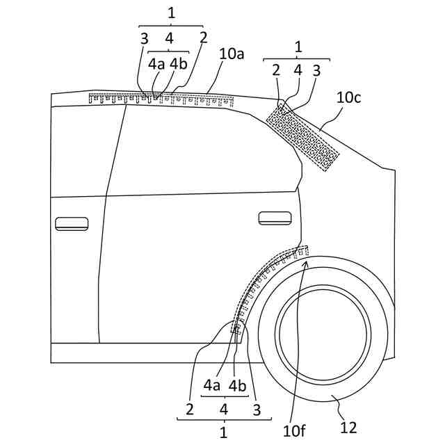
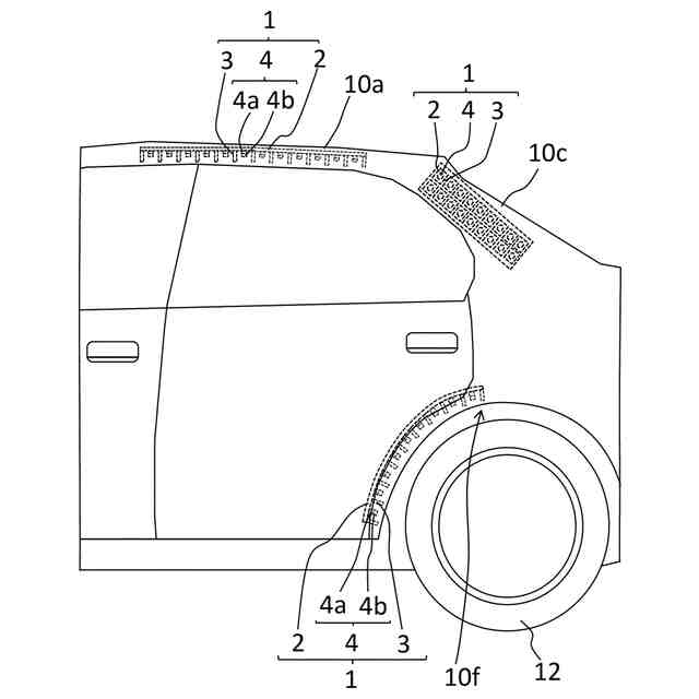
前記防音構造体が、自動車のルーフと、前記ルーフを支えるピラーと、ドアトリムと、タイヤを部分的に覆うフェンダーライナーと、トランクサイドと、トランクトリムのうちの少なくとも1個所に配置されている、請求項1または6に記載の防音構造体。
(【請求項11】以降は省略されています)
発明の詳細な説明
【技術分野】
【0001】
本発明は防音構造体に関する。
続きを表示(約 2,100 文字)
【背景技術】
【0002】
近年、自動車の車室内において、ロードノイズやタイヤパターンノイズ、風切り音やエンジン音に代表される騒音を遮断して、乗員に静粛で快適な空間を提供するために騒音を低減することが望まれている。そのため、自動車の外部から内部への騒音や振動の伝搬、また自動車の内部における車室外から車室内への騒音や振動の伝搬を抑える手段、すなわち、防音性の高い部材が求められている。近年では、自動車におけるエネルギー効率向上のため軽量の防音部材が求められている。自動車等に設置される防音構造体の例が、特許文献1~11に開示されている。
【0003】
特許文献1に開示されている吸音材では、繊維原料にバインダー樹脂を混入し加熱成形によりなる通気性を有する板状物を、複数の屈曲部を有する形状としている。フロントフェンダーパネルとエンジンルームとの間の空間や、リアフェンダーパネルとトランクルームとの間の空間に吸音材が隙間無く挿入され、その空間が3箇所以上の小空間に区切られている。
【0004】
特許文献2に開示されている自動車の後部遮音構造では、ピラートリムが、リトラクタの車内側の面に近接するリトラクタ側方部と、車体側部の車内側面に沿って延設されるリトラクタ前側凹部およびリトラクタ後側凹部と、を有している。リトラクタ前側凹部およびリトラクタ後側凹部と、車体側部の車内側面との間にシール材が延設されて、リトラクタとリトラクタ前側凹部およびリトラクタ後側凹部とシール材とにより、車体側部の車内側面とピラートリムの間に形成された空間内に、該空間への騒音侵入を抑制する遮蔽部が形成されている。
【0005】
特許文献3に開示されている車体構造体は、車両を車室と車室外の空間とに仕切る板体と、板体に設けられ、音圧駆動によって吸音を行う複数の吸音構造体と、を有している。複数の吸音構造体はそれぞれ、振動板と、振動板の背後に画成される空気層とを有している。車体構造体の基台となるシャーシは、複数の吸音構造体の一部を構成している。複数の吸音構造体はそれぞれ寸法が異なり、寸法の大きい吸音構造体ほど、板体上においてより音圧の高い部位に配置されている。
【0006】
特許文献4に開示されている車体構造体は、車両の屋根を支える中空状の支柱と、音圧駆動によって吸音を行う板吸音体と、板吸音体と支柱とを接合する接合手段と、を有している。板吸音体は、開口部を有する筐体と、開口部で筐体に支持される振動板と、筐体内に画成される空気層とを有している。
【0007】
特許文献5に開示されている車体構造体は、車両の支柱に支えられたルーフと、ルーフに設けられ、音圧駆動によって吸音を行う吸音構造体と、を有している。吸音構造体は、振動板と該振動板の背後に画成される空気層とを有する板吸音体と、閉空間とこの閉空間と外部とを連通する管状部材とを有するヘルムホルツ吸音体との組み合わせによって構成されている。ルーフのうち平坦な部分に複数の板吸音体が配置され、ルーフのうち傾斜している部分にヘルムホルツ吸音体が配置されている。
【0008】
特許文献6に開示されている車両では、ホイールハウス内にフェンダープロテクタが取付けられており、フェンダープロテクタのホイールハウス側の面(裏面)に立設したリブと、リブを覆いフェンダープロテクタの裏面またはリブの裏面に少なくとも周縁部が密接して取付けられ、リブに当接した部位がフェンダープロテクタの裏面から持ち上げられている吸音材とを有している。フェンダープロテクタの裏面とリブの側面と吸音材とによって取囲まれる空間が、閉鎖された吸音気室として構成されている。吸音材がフェンダープロテクタに熱溶着され、車両のホイールハウスを構成する車体パネルに、吸音材の外表面を当接させ、フェンダープロテクタの裏面またはリブの裏面に熱溶着した吸音材の熱溶着部であるくぼみ部と車体パネルとの間に、閉鎖された第2吸音気室が構成されている。
【0009】
特許文献7に開示されている吸音部材は、複数の第1凹部と複数の第2凹部とを有し、第1凹部と第2凹部は、開口形状が相違し、かつ内部空間の大きさも相違しており、1/3オクターブバンド中央周波数における1000Hz~4000Hzの範囲において最大ピークを有し、その最大ピークの残響室法吸音率が0.75以上である。この吸音部材の用途の一例では、自動車のドアパネルに吸音部材が取り付けられて用いられる。
【0010】
特許文献8に記載された発明では、複数の個々のセルに分割された剛性のフレームと、フレキシブルな材料のシートと、複数の重りとを備えている音響減衰パネルにおいて、各重りは各セルにそれぞれ重りが設けられるようにフレキシブルな材料のシートに固定されており、減衰された音響は重りの質量の適切な選択により制御される。
(【0011】以降は省略されています)
この特許をJ-PlatPat(特許庁公式サイト)で参照する
関連特許
三井化学株式会社
共重合体
14日前
三井化学株式会社
防音構造体
今日
三井化学株式会社
防音構造体
今日
三井化学株式会社
温度制御装置
27日前
三井化学株式会社
自動車内装材用積層体
1か月前
三井化学株式会社
樹脂組成物及び成形体
1か月前
三井化学株式会社
樹脂組成物及び成形体
1か月前
三井化学株式会社
バックドア及び移動体
1か月前
三井化学株式会社
エチレン共重合体の製造方法
1か月前
三井化学株式会社
臭い除去触媒およびその用途
14日前
三井化学株式会社
光学材料の製造方法及び成形用部材
14日前
三井化学株式会社
組成物、積層体および包装フィルム
1日前
三井化学株式会社
エラストマー組成物およびその用途
29日前
三井化学株式会社
防音構造体および自動車の防音構造
今日
三井化学株式会社
非水電解液及び非水電解液二次電池
1か月前
三井化学株式会社
固体組成物及び固体組成物の製造方法
1か月前
三井化学株式会社
オレフィン系重合体組成物および成形体
1か月前
三井化学株式会社
非接触入力装置、非接触入力システム、及びプログラム
27日前
三井化学株式会社
オレフィン重合用触媒、およびオレフィン重合体の製造方法
1か月前
三井化学株式会社
オレフィン重合用触媒、およびオレフィン重合体の製造方法
1か月前
三井化学株式会社
可撓性導波管
20日前
三井化学株式会社
培養容器の製造方法、培養容器、細胞培養方法、及び細胞観察方法
1か月前
三井化学株式会社
固体状チタン触媒成分の製造方法、およびオレフィン重合体の製造方法
1か月前
三井化学株式会社
EUVリソグラフィ用ペリクル
1か月前
三井化学株式会社
固体状チタン触媒成分の製造方法およびプロピレン系ブロック共重合体の製造方法
1か月前
三井化学株式会社
積層体、包装材、蓋材およびラベル
1か月前
三井化学株式会社
発電量予測装置、将来発電量算出処理プログラム、将来発電量算出処理方法、及び表示方法
8日前
三井化学株式会社
光学部品用樹脂組成物、成形体および光学部品
8日前
ライトニング シリコン テクノロジー,インク.
繊維強化樹脂組成物及びその成形体
28日前
個人
遮音材
27日前
個人
管楽器用リガチャ-
1か月前
個人
歌唱補助器具
1か月前
横浜ゴム株式会社
音響材
20日前
個人
音声出力装置
27日前
三井化学株式会社
防音構造体
今日
三井化学株式会社
防音構造体
今日
続きを見る
他の特許を見る