TOP
|
特許
|
意匠
|
商標
特許ウォッチ
Twitter
他の特許を見る
10個以上の画像は省略されています。
公開番号
2025159700
公報種別
公開特許公報(A)
公開日
2025-10-21
出願番号
2025025004
出願日
2025-02-19
発明の名称
管楽器用リガチャ-
出願人
個人
代理人
主分類
G10D
9/02 20200101AFI20251014BHJP(楽器;音響)
要約
【課題】 従来のリガチャーでは、経年使用での歪みの問題や、メーカーの違いによる様々なマウスピースの形状(図15)によっては締め付けのバランスが完全には一致せず、わずかな隙間や締め付け力の不均一さにより、振動に対するリガチャー自身の共振を完全に抑えきれないという不具合があった。マウスピース(1)にリード(2)を固定する際、最小の接触面積かつ様々なマウスピースの形状(図15)に対してもフレキシブルに対応し、均一な力での締め付けを実現し、音の響きの向上をはかる。
【解決手段】 本発明リガチャーは、球体及び3次元曲面をもつ突起が、複数あるいは連続的に形成された締め付け具2本(3)(4)と、その各々の円周に対し調整できる固定具(図10)との組み合わせにより、様々なマウスピース(図15)に対し柔軟に沿い、点接触で均一な締め付けを実現し、リード(2)をマウスピース(1)に圧接できる管楽器用のリガチャーである。
【選択図】 図1
特許請求の範囲
【請求項1】
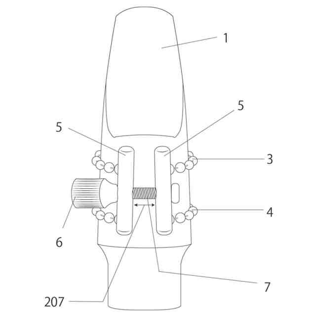
球体が複数形成された締め付け具2本と、締め付け具の両端を取り付けた取り付け具一対と、取り付け具一対の間隔を調整するネジ具から構成され、リードとマウスピースに柔軟に沿う点接触で締め付け具各々が略全周にわたって締め付けることを特徴とする管楽器用リガチャー。
続きを表示(約 400 文字)
【請求項2】
当接面が3次元曲面の突起物が複数形成された締め付け具2本と、締め付け具の両端を取り付けた取り付け具一対と、取り付け具一対の間隔を調整するネジ具から構成され、リードとマウスピースに柔軟に沿う点接触で締め付け具各々が略全周にわたって締め付けることを特徴とする管楽器用リガチャー。
【請求項3】
ネジ具のネジ部を通す、取り付け具の貫通穴の形は円か長丸であり、穴の大きさはネジ部の径に対して大きく、1ミリ程度以上の隙間を有する事を特徴とする、請求項1又は2に記載の管楽器用リガチャー。
【請求項4】
ネジ具のネジ部は取り付け具一対の間の間隔(207)を17ミリ程度以上調節できることを特徴とする請求項3に記載の管楽器用リガチャー。
【請求項5】
締め付け具は、金属製のボールチェーンであることを特徴とする請求項4に記載の管楽器用リガチャー。
発明の詳細な説明
【技術分野】
【0001】
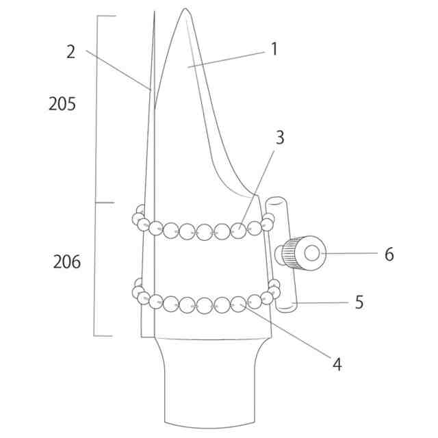
本発明は、管楽器のマウスピ-ス(1)にリ-ド(2)(図3)を固定するためのリガチャ-に関するものである。
続きを表示(約 3,000 文字)
【背景技術】
【0002】
管楽器用リガチャーは、サックス及びクラリネットに用いられるマウスピース(1)とリード(2)(図3)を固定するための締め金具として一般に知られている。例えば、図11(特許文献1)に記載されているような、薄い金属板を金型で切り出し、リング状に形成されたものである。図12(特許文献2)は薄い金属板をリング状に形成しただけでなく、その内側に突起を幾つか設け、マウスピース(1)とリード(2)に対して接触面を少なくするという工夫がされている。最近では図13(特許文献3)のような紐とプレートを組み合わせて作ったものや、皮革、合成ゴム、ワイヤーとプレートを組み合わせたものなども販売されている。
【0003】
リガチャーは単にマウスピース(1)とリード(2)を固定するためだけの道具ではなく、その個性は様々であり、その種類によって音色の印象や吹き心地が変わる。奏者は自分にあったリガチャーを追い求める場合が多い。本発明のリガチャー開発者は一人のサックス奏者として、万人に近い人が心地のよい吹奏感を得られるよう、入れた息が損失なく音に変換されるよう、接する面積や締め付け力のバランス等にこだわり開発を行った。
【先行技術文献】
【特許文献】
【0004】
特開2012-022055
特開2020-64133
特開2006-163382
特開2010-19948
【発明の概要】
【発明が解決しようとする課題】
【0005】
ところで、シングルリード楽器であるサックスの音の源はリード(2)の振動部(205)(図3)で生じた振動である。その振動が空気を震わせ管を通り音になる。リード(2)の固定部(206)(図3)がリガチャー でしっかりと固定されていない場合、固定位置のずれやリガチャー自身に共振が生じる。つまり振動の一部が音に反映されないことになる。
【0006】
特許文献1(図11) や特許文献2(図12) に開示されているような、薄い金属製のリガチャーを使用すると、マウスピース(1)との脱着の際の力の入れ具合や、落下時の衝撃により歪みの問題が経年使用で生じる。一見、正円に見えても、歪みが生じていると、特許文献1や特許文献2 で書かれているような性能は発揮できない。またマウスピース(1)のリガチャー装着部(204)の形状は図15の通り、先細りの形(101)(102)(103)や膨らみのある樽型(104)、あるいは寸胴型(105)(106)であり、その曲面や傾斜角度も様々である。よって、一つのモデルに合うように作られた薄い金属製リガチャーでは、モデル外のマウスピース(図15)に使用すると、そのリガチャー装着範囲(204)の前方部(201)か後方部(202)どちらかの円周が一致せず、わずかに生じる締め付けの甘さや隙間により、リガチャー自身の共振を完全に抑えられないといった問題があった。また、特許文献2のリガチャー装着時では、マウスピース( 1)とリード(2)に対し、必ず正しい角度で取り付けなければ、特許文献2で書かれているような性能は発揮できないという問題もあった。また、例えばアルトサックス用に作られた特許文献2のリガチャーではテナーサックス用マウスピースには太さと傾斜角が合わないためとりつけることができないという問題もあった。
【0007】
特許文献3(図13)に開示されているような紐とプレートを組み合わせたリガチャーは、プレートの前後に取り付けられた2本の紐を縛り上げることで、リード(2)の固定部(206)(図3)をプレートで圧し、マウスピース(1)とリード(2)を固定する。
しかしながら、モデル外の形状のマウスピース(図15)では、プレートはリード(2)の固定部(206)を均一な力で圧接することはできない。このリガチャーの効果が発揮されるには、2本の紐で締める際、マウスピース(1)のリガチャー装着範囲(204)の前方部(201)と後方部(202)に対して、2本共に円周が一致する必要がある。片方でも紐が円周に合わなかった場合、紐にゴムのような伸縮性があるか、どこかに紐の長さの調整や締め付け力の調整機能がなければ、片方の紐に過度な緊張が生まれ、無理に締め続けると切れる恐れもある。特許文献3の全文の記述には紐の伸縮性や締め付け部材(固定部材)等による調整機能については明記されていない。実際、市販されている特許文献3のタイプのリガチャーは、例えばアルトサックス用リガチャーであっても、様々なマウスピース(図15)に合わせて、複数種販売がされている。よって、一つのモデルに合うように作られた紐とプレートのリガチャーでは、モデル外のマウスピース(図15)で使用するとプレート全体に渡った均一な圧接は出来ないという問題があった。また、特許文献3のリガチャー装着時にはマウスピース( 1)とリード(2)に対し、必ず正しい角度で取り付けなければ、特許文献3で書かれているような性能は発揮できないという問題もあった。また、例えばアルトサックス用マウスピース(1)に作られた特許文献3のリガチャーではテナーサックス用マウスピース(1)には傾きが合わないためとりつけることができないという問題もあった。
【0008】
特許文献4(図14)に開示されているようなリガチャーは、リード(2)を抑える部分にはボールチェーン(図17)が使われており、リガチャー装着部分(204)の前方部(201)と後方部(202)でボールチェーンの球の数(長さ)を変える等の工夫で、様々なタイプのマウスピース(図15)にある程度対応し、球による極めて少ない面積でリード(2)を圧接できる工夫がされている。しかしながら、このリガチャー は大部分が金属製のプレートで形成しているため、上記で述べたような、経年使用で起こりうる歪みの問題が生じる。またボールチェーンの球の数で長さを調整する工夫についてだが、球1つ分の増減で、2~3ミリ程度長さが変わるため、0.1ミリ単位で調整したいマウスピース(1)の円周に対して、球1つ分の調整だけでも変わり過ぎてしまう。そのため、一つのモデルに合うように作られた金属製プレートとその計算された球数では、それ以外の様々なマウスピース(図15)では均一にリード(2)を圧接することはできず、その締め付けの不均一さから生じたボールチェーンのたわみに振動が移り、リガチャー自身が振動してしまうという問題があった。また、特許文献4のリガチャー装着時にはマウスピース( 1)とリード(2)に対し、必ず正しい角度で取り付けなければ、特許文献4で書かれているような性能は発揮できないという問題もあった。
【課題を解決するための手段】
【0009】
ところで、本発明のリガチャー でいう固定具(図10)とは、一対2本の取り付け具(5)、ネジ具(7)、ネジ具のつまみ(6)の3部品の複合体を指す事とする。
【0010】
ここでいう点接触とは、マウスピース(1)とリード(2)側の曲面と、締め付け具(3)(4)側の曲面が接する、小さな接触面積を指す事とする。
(【0011】以降は省略されています)
この特許をJ-PlatPat(特許庁公式サイト)で参照する
関連特許
個人
ギター
7日前
三井化学株式会社
防音構造体
8日前
三井化学株式会社
防音構造体
8日前
個人
共鳴装置及び共鳴装置ユニット
2日前
豊田合成株式会社
車両の音出力装置
2日前
個人
管楽器用音質改善留め具
22日前
国立大学法人大阪大学
音声分析方法および音声分析装置
1日前
株式会社デンソー
音低減装置
7日前
ヤマハ株式会社
鍵盤装置
15日前
三井化学株式会社
防音構造体および自動車の防音構造
8日前
パイオニア株式会社
事故検知装置、事故検知方法および事故検知プログラム
1日前
株式会社第一興商
カラオケ装置、カラオケシステム
14日前
株式会社第一興商
カラオケ装置、カラオケシステム
7日前
個人
和音記号表示システム、和音記号表示プログラム及び音出力システム
2日前
本田技研工業株式会社
音声認識装置、音声認識方法、及びプログラム
9日前
トヨタ自動車株式会社
ブレーキインジケータシステム
7日前
日本電気株式会社
伝達音抑制装置、伝達音抑制システム、伝達音抑制方法およびプログラム
7日前
ソフトバンク株式会社
制御装置、システム、制御方法、及びプログラム
1日前
NOK株式会社
吸音構造体シート、吸音構造体シートセット、及び吸音構造体
1日前
パナソニックIPマネジメント株式会社
ノイズキャンセルシステムおよびノイズキャンセル方法
7日前
LINEヤフー株式会社
プログラム、情報処理方法、情報処理装置
2日前
NTTドコモビジネス株式会社
情報処理装置、情報処理方法および情報処理プログラム
1日前
パナソニックIPマネジメント株式会社
ノイズキャンセル装置、ノイズキャンセル方法および照明装置
7日前
ヤマハ株式会社
コード推定装置およびコード推定方法
16日前
株式会社リコー
情報処理システム、情報処理装置、情報処理方法、及びプログラム
14日前
ソフトバンクグループ株式会社
データ処理装置、データ処理方法、及びデータ処理プログラム
14日前
株式会社東芝
パラ言語情報認識装置、パラ言語情報認識方法、及びパラ言語情報認識プログラム
9日前
シャープ株式会社
制御装置、及び、装置制御方法
14日前
株式会社インタラクティブソリューションズ
コンピュータを用いた会話支援方法
9日前
ThinkX株式会社
生成シーケンスの文節区間分割による応答テキスト生成と音声合成の並列実行パイプラインによる高速音声対話システム
14日前
ドルビー・インターナショナル・アーベー
後処理遅延低減との高周波再構成技術の統合
9日前
ソノス・インコーポレイテッド
生成メディアコンテンツの再生
3日前
ルシード インコーポレイテッド
情動音楽の推薦および作曲のための方法、システム、および媒体
16日前
華為技術有限公司
遅延推定方法および遅延推定装置
9日前
株式会社ベルニック
情報処理装置、作業台、作業システム、情報処理方法およびプログラム
14日前
ザ リサーチ インスティテュート アット ネーションワイド チルドレンズ ホスピタル
乳児起動式音声再生機の利用
16日前
続きを見る
他の特許を見る