TOP
|
特許
|
意匠
|
商標
特許ウォッチ
Twitter
他の特許を見る
公開番号
2025154966
公報種別
公開特許公報(A)
公開日
2025-10-10
出願番号
2024058284
出願日
2024-03-29
発明の名称
能動型振動騒音制御装置
出願人
本田技研工業株式会社
代理人
弁理士法人磯野国際特許商標事務所
主分類
G10K
11/178 20060101AFI20251002BHJP(楽器;音響)
要約
【課題】計算量を大きく増加させずに、音声成分を除去することで、騒音を安定的に、かつ、効果的に低減できる。
【解決手段】騒音制御装置100は、騒音を打ち消すための打消音yを出力するスピーカ12a-12dと、騒音dおよび打消音yから誤差信号eを生成する誤差マイク13a-13dと、参照信号rを検出する参照マイク13eと、を備える。騒音制御装置100は、現在の参照信号r(t)と過去の参照信号r(t-T)と、に基づいて適応更新される除去フィルタ21と、打消音を生成するフィルタ処理部10と、を備える。
【選択図】図2
特許請求の範囲
【請求項1】
騒音を打ち消すための打消音を出力するスピーカと、
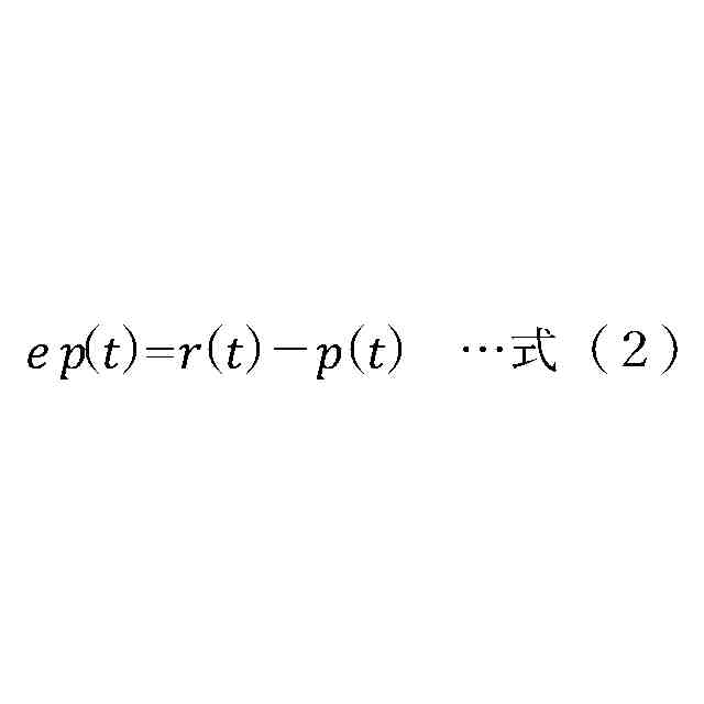
前記騒音および前記打消音から誤差信号を生成する誤差マイクと、
参照信号を検出する参照マイクと、
現在の前記参照信号と過去の前記参照信号と、に基づいて適応更新される除去フィルタと、を備え、
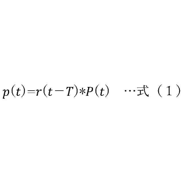
前記除去フィルタは、過去の前記参照信号から除去信号を生成し、現在の前記参照信号から前記除去信号を除した修正参照信号によって前記打消音を生成する、ことを特徴とする能動型振動騒音制御装置。
続きを表示(約 320 文字)
【請求項2】
特定の周波数帯域を除去するバンドストップフィルタを備え、
前記除去フィルタは、前記バンドストップフィルタに通されたランダムノイズをさらに加えて適応更新されることを特徴とする、請求項1に記載の能動型振動騒音制御装置。
【請求項3】
現在の前記誤差信号と、過去の前記誤差信号と、に基づいて適応更新される第二の除去フィルタを備え、
前記第二の除去フィルタは、過去の前記誤差信号から第二の除去信号を生成し、現在の前記誤差信号から前記第二の除去信号を除した修正誤差信号を生成し、前記フィルタ処理部は、前記修正誤差信号に基づいて適応更新される、ことを特徴とする、請求項1に記載の能動型振動騒音制御装置。
発明の詳細な説明
【技術分野】
【0001】
本発明は、能動型振動騒音制御装置に関する。
続きを表示(約 2,200 文字)
【背景技術】
【0002】
従来、能動型騒音制御装置は、騒音を打ち消すための打消音を出力する打消音出力装置と、騒音に基づいて複数の騒音信号を生成する複数の騒音マイクと、複数の騒音信号に基づいて打消音出力装置を制御する制御装置と、を備えている。
制御装置は、複数の騒音マイクから出力される複数の騒音信号を取得し、複数の騒音信号の中から、騒音に対応する参照信号と、騒音と打消音との誤差に対応する誤差信号と、を選択する。
そして、参照信号から打消音の成分を除去することで補正参照信号を生成し、補正参照信号に基づいて、打消音出力装置を制御するための制御信号を生成している(例えば特許文献1等参照)。
【先行技術文献】
【特許文献】
【0003】
特開2023-144581号公報
【発明の概要】
【発明が解決しようとする課題】
【0004】
しかしながら、マイクをヘッドレストに配置した場合、乗員の口にも近くなる。このため、乗員の会話音も検出しやすくなる。特に、マイク信号を参照信号として利用する場合、マイク信号から生成した制御出力は、音声成分を含む。このため、スピーカから出力すると、車室内で音声のエコーになり、乗員に違和感を与える虞がある。
また、実際にマイクで拾った参照信号から除去する音声成分を計算する場合、周波数帯域で抽出して複雑な畳み込み計算を行う必要があり計算量が増大してしまう。このため、短い時間で打消音を生成する必要がある能動型振動騒音制御装置では、さらなる改良が求められている。
本案の目的は、計算量を大きく増加させずに音声成分を除去することで、騒音を安定的に、かつ、効果的に低減できる、能動型振動騒音制御装置を提供することである。
【課題を解決するための手段】
【0005】
前記課題を解決するため、本発明の能動型振動騒音制御装置は、騒音を打ち消すための打消音を出力するスピーカと、騒音および打消音から誤差信号を生成する誤差マイクと、参照信号を検出する参照マイクと、を備える。また、能動型振動騒音制御装置は、現在の参照信号と、過去の参照信号と、に基づいて適応更新される除去フィルタと、を備える。除去フィルタは、過去の参照信号から除去信号を生成し、現在の参照信号から除去信号を除した修正参照信号によって打消音を生成する、ことを特徴としている。
【発明の効果】
【0006】
本発明によれば、計算量を大きく増加させずに、音声成分を除去することで、騒音を安定的に、かつ、効果的に低減できる、能動型振動騒音制御装置が提供される。
【図面の簡単な説明】
【0007】
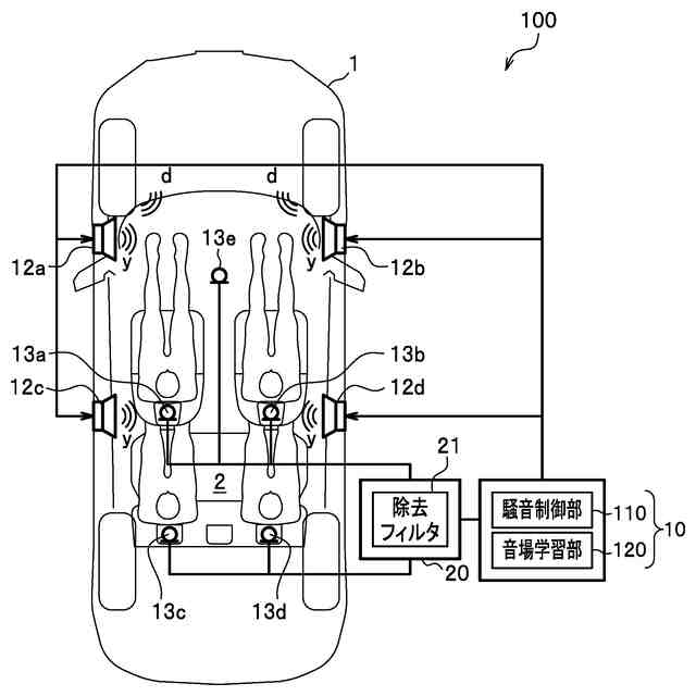
第一実施形態の能動型振動騒音制御装置を適用した車両の模式的な平面図である。
第一実施形態の能動型振動騒音制御装置を機能ごとに示すブロック図である。
第一実施形態の除去フィルタを示す機能ブロック図である。
マイク信号に音声の成分が乗っている状態を示す図である。
マイク信号から音声の成分を除去した状態を示す図である。
第二実施形態の能動型振動騒音制御装置で要部の構成を示すブロック図である。
第二実施形態でバンドストップフィルタが除去する周波数帯域の一例を示すグラフである。
第三実施形態の能動型振動騒音制御装置で全体の構成を示すブロック図である。
【発明を実施するための形態】
【0008】
以下は、本発明の実施形態について、適宜図面を参照しながら説明するものである。同一の構成要素には同一の符号を付し、重複する説明を省略する。なお、本明細書中において、各種符号に併記される「^」(ハット)は、同定値または推定値を示す。「^」は、図中では、各種符号の上に付されているが、本文中では、各種符号の後に付されている。
[第一実施形態]
図1は、第一実施形態に係る能動型振動騒音制御装置100(以下、「騒音制御装置100」とも略称する)が適用された車両1を示している。車両1の説明において、同一の要素には同一の番号を付し、重複する説明は省略する。また、方向を説明する場合は、車両1の運転者から見た前後左右上下に基づいて説明する。なお、車幅方向と左右方向は同義である。
【0009】
騒音制御装置100は、車両1の車室2内で発生する騒音dを低減するためのANC装置(Active Noise Control Device)である。より詳細には、騒音制御装置100は、騒音dとは逆位相の打消音yを生成し、生成した打消音yを騒音dと干渉させる。これにより、騒音制御装置100は、低減対象となる騒音dを低減させることができる。
【0010】
例えば、騒音制御装置100の低減対象となる騒音dは、路面からの力による車輪の振動に起因するロードノイズである。なお、騒音制御装置100の低減対象となる騒音dは、ロードノイズ以外の騒音(例えば、内燃機関や電動モータ等の駆動源の振動に起因する駆動系騒音または風切り音など)であっても良い。
(【0011】以降は省略されています)
この特許をJ-PlatPat(特許庁公式サイト)で参照する
関連特許
本田技研工業株式会社
車両
1か月前
本田技研工業株式会社
車両
1か月前
本田技研工業株式会社
車両
1か月前
本田技研工業株式会社
制御装置
1か月前
本田技研工業株式会社
除草装置
1か月前
本田技研工業株式会社
排気装置
1か月前
本田技研工業株式会社
排気装置
1か月前
本田技研工業株式会社
二次電池
1か月前
本田技研工業株式会社
固体電池
1か月前
本田技研工業株式会社
内燃機関
1か月前
本田技研工業株式会社
触媒装置
1か月前
本田技研工業株式会社
固体電池
1か月前
本田技研工業株式会社
発電セル
1か月前
本田技研工業株式会社
排気装置
1か月前
本田技研工業株式会社
全固体電池
1か月前
本田技研工業株式会社
全固体電池
1か月前
本田技研工業株式会社
電極積層体
1か月前
本田技研工業株式会社
鞍乗型車両
1か月前
本田技研工業株式会社
電動船外機
1か月前
本田技研工業株式会社
鞍乗型車両
1か月前
本田技研工業株式会社
リアクトル
1か月前
本田技研工業株式会社
鞍乗型車両
1か月前
本田技研工業株式会社
作業システム
1か月前
本田技研工業株式会社
始動制御装置
1か月前
本田技研工業株式会社
電池製造装置
1か月前
本田技研工業株式会社
蓄電システム
今日
本田技研工業株式会社
始動制御装置
1か月前
本田技研工業株式会社
燃料電池装置
1か月前
本田技研工業株式会社
燃料電池構造
1か月前
本田技研工業株式会社
車両制御装置
1か月前
本田技研工業株式会社
鞍乗り型車両
1か月前
本田技研工業株式会社
差圧式電解装置
1か月前
本田技研工業株式会社
電池モジュール
1か月前
本田技研工業株式会社
電池モジュール
1か月前
本田技研工業株式会社
電池の処理方法
1か月前
本田技研工業株式会社
燃料電池スタック
1か月前
続きを見る
他の特許を見る