TOP
|
特許
|
意匠
|
商標
特許ウォッチ
Twitter
他の特許を見る
公開番号
2025154542
公報種別
公開特許公報(A)
公開日
2025-10-10
出願番号
2024057600
出願日
2024-03-29
発明の名称
燃料電池構造
出願人
本田技研工業株式会社
代理人
弁理士法人磯野国際特許商標事務所
主分類
H01M
8/0258 20160101AFI20251002BHJP(基本的電気素子)
要約
【課題】簡単な構成で滞留水の逆流を抑制することができる燃料電池構造を提供する。
【解決手段】セパレータ3には、シール部8を迂回して連通孔4と流体通路7とを連通するトンネル部10が形成されている。トンネル部10は、連通孔4から流体通路7に向かって延設された複数のトンネル本体11と、複数のトンネル本体11の先端部12同士を通流可能に連結する連結路13と、を有している。また、トンネル部10は、連結路13と流体通路7とを連通する複数の開口部14を有している。複数のトンネル本体11のうち連結路13の端部13aに連結する端部トンネル本体15は、連結路13に対して鋭角に接続されている。そして、連結路13と端部トンネル本体15との接続部16は、弧状に湾曲している。
【選択図】図1
特許請求の範囲
【請求項1】
膜電極接合体および前記膜電極接合体を囲う枠部材を有する膜電極構造体と、前記膜電極構造体同士を仕切るセパレータと、を交互に積層してなる燃料電池構造であって、
前記枠部材及び前記セパレータには、積層方向に貫通するとともに互いに連通して発電材料流体が流れる連通孔が形成され、前記膜電極構造体と前記セパレータとの間には、前記膜電極接合体に前記発電材料流体を供給する流体通路が設けられ、前記連通孔の周囲には、前記連通孔と前記流体通路との間をシールするシール部が設けられ、前記セパレータには、前記シール部を迂回して前記連通孔と前記流体通路とを連通するトンネル部が形成され、前記トンネル部は、前記連通孔から前記流体通路に向かって延設された複数のトンネル本体と、複数の前記トンネル本体の先端部同士を通流可能に連結する連結路と、前記連結路と前記流体通路とを連通する複数の開口部と、を有し、
複数のトンネル本体のうち前記連結路の端部に連結する端部トンネル本体は、前記連結路に対して鋭角に接続されており、前記連結路と前記端部トンネル本体との接続部は弧状に湾曲している、
燃料電池構造。
続きを表示(約 150 文字)
【請求項2】
前記連結路は、前記連通孔と前記流体通路とが隣接する範囲にわたって延設されている、
請求項1に記載の燃料電池構造。
【請求項3】
前記開口部は、前記端部トンネル本体の前記接続部から離間した位置に設けられている、
請求項1に記載の燃料電池構造。
発明の詳細な説明
【技術分野】
【0001】
本発明は、燃料電池構造に関する。
続きを表示(約 2,100 文字)
【背景技術】
【0002】
従来の燃料電池構造は、燃料流体流路の水平方向の一端に連通し、電解質膜・電極構造体とセパレータとの積層方向に燃料流体を排出させるアノード排出連通孔を有している。また、燃料電池構造は、酸化剤流体流路の水平方向の他端に連通し、積層方向に酸化剤流体を排出させるカソード排出連通孔を有している。そして、このような燃料電池構造は、最も下側のアノード排出連通孔の底部よりも、最も下側のカソード排出連通孔の底部を下方に設けている(例えば特許文献1参照)。
【先行技術文献】
【特許文献】
【0003】
特開2022-71445号
【発明の概要】
【発明が解決しようとする課題】
【0004】
ところで、セパレータには、流体流路と連通孔とをシールするシール部を迂回して両者を連通するトンネルが形成されている。従来の燃料電池構造では、アノード排出連通孔とカソード排出連通孔の位置関係に制約があるため、必然的にトンネルを形成する位置にも制約が生じてしまうといった問題があった。また、トンネルを形成する位置は、トンネル内の流体の流れにも影響を与え、生成水が滞留して逆流を抑制することは容易ではない。このように、アノード排出連通孔とカソード排出連通孔の位置関係を優先すると滞留水の逆流を抑制することが出来なくなるおそれがあり、さらなる改良が求められている。
本案は、簡単な構成で滞留水の逆流を抑制することができる燃料電池構造を提供することを課題している。
【課題を解決するための手段】
【0005】
前記課題を解決するため、本発明の燃料電池構造は、膜電極接合体および膜電極接合体を囲う枠部材を有する膜電極構造体と、膜電極構造体同士を仕切るセパレータと、を交互に積層している。枠部材及びセパレータには、積層方向に貫通するとともに互いに連通して発電材料流体が流れる連通孔が形成されている。膜電極構造体とセパレータとの間には、膜電極接合体に発電材料流体を供給する流体通路が設けられている。連通孔の周囲には、連通孔と流体通路との間をシールするシール部が設けられている。
【0006】
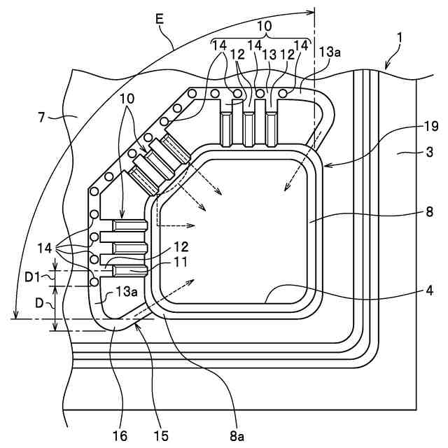
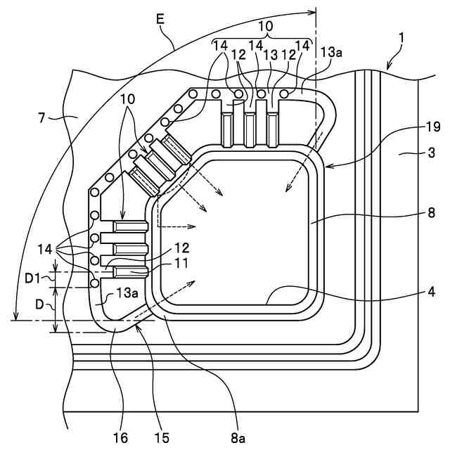
セパレータには、シール部を迂回して連通孔と流体通路とを連通するトンネル部が形成されている。トンネル部は、連通孔から流体通路に向かって延設された複数のトンネル本体と、複数のトンネル本体の先端部同士を通流可能に連結する連結路と、連結路と流体通路とを連通する複数の開口部と、を有している。複数のトンネル本体のうち連結路の端部に連結する端部トンネル本体は、連結路に対して鋭角に接続されており、連結路と端部トンネル本体との接続部は弧状に湾曲している。
【発明の効果】
【0007】
本発明によれば、簡単な構成で滞留水の逆流を抑制することができる燃料電池構造が提供される。
【図面の簡単な説明】
【0008】
実施形態の燃料電池構造で、流体通路がトンネル部により連通孔と連通される部分を示すセパレータの平面図である。
実施形態の燃料電池構造で、要部の構成を説明する平面図である。
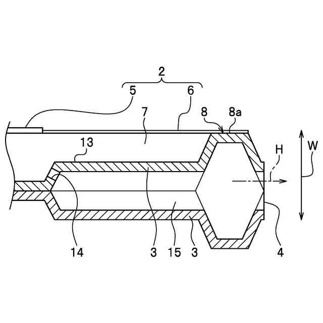
実施形態の燃料電池構造で、要部の構成を説明する図2中III-III線に沿った位置での断面図である。
実施形態の燃料電池構造で、全体の構成を説明するセパレータの平面図である。
【発明を実施するための形態】
【0009】
以下は、本発明である燃料電池構造について適宜図面を用いて実施形態の説明を行うものである。なお、同一の構成要素には同一の符号を付し、重複する説明を省略する。
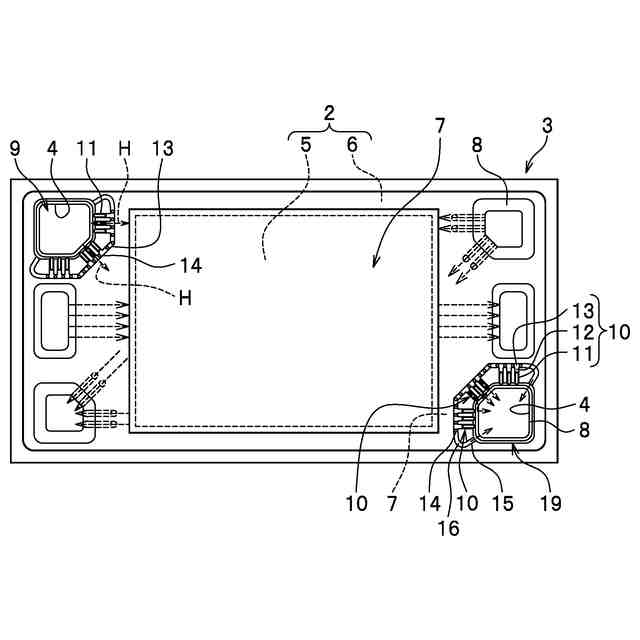
実施形態の燃料電池構造は、セパレータ3および膜電極構造体2(図3参照)を有する複数の単位セル1が積層方向Wに積層されて形成された積層セルスタックを電池筐体の内部に収容している。各単位セル1は、膜電極構造体2と、膜電極構造体2の両側に配置されて膜電極構造体2同士を仕切るセパレータ3とが交互に積層されている。
【0010】
このうち、膜電極構造体2は、活性領域を形成する膜電極接合体5および膜電極接合体5を囲う枠部材6を有している。枠部材6及びセパレータ3には、積層方向Wに貫通するとともに互いに連通して発電材料流体(以下、流体とも記す)Hが流れる連通孔4が形成されている。
積層セルスタックには、図4に示すように流体通路7に発電材料流体Hを分配供給する流体供給用マニホルド9が設けられている。また、積層セルスタックには、流体通路7から流下する流体Hを集めて排出する流体排出用マニホルド19が設けられいる。流体供給用マニホルド9及び流体排出用マニホルド19は、枠部材6及びセパレータ3に形成された連通孔4が積層方向Wに連通することで構成されている。実施形態では主に流体排出用マニホルド19の構成について説明し、同様に構成される流体供給用マニホルド9についての説明を一部省略する。
(【0011】以降は省略されています)
この特許をJ-PlatPat(特許庁公式サイト)で参照する
関連特許
本田技研工業株式会社
車両
1か月前
本田技研工業株式会社
飛行体
今日
本田技研工業株式会社
回転電機
2日前
本田技研工業株式会社
灯火器構造
今日
本田技研工業株式会社
冷却液タンク
7日前
本田技研工業株式会社
蓄電システム
9日前
本田技研工業株式会社
差圧式電解装置
1か月前
本田技研工業株式会社
回転電機用ロータ
16日前
本田技研工業株式会社
駆動装置ユニット
1か月前
本田技研工業株式会社
電動無段変速装置
1か月前
本田技研工業株式会社
加水分解処理装置
今日
本田技研工業株式会社
回転電機のロータ
1か月前
本田技研工業株式会社
スポット溶接方法
29日前
本田技研工業株式会社
非接触電力伝送システム
9日前
本田技研工業株式会社
金属シリコンの製造方法
16日前
本田技研工業株式会社
水素同位体分離システム
今日
本田技研工業株式会社
積層体、積層体の製造方法
8日前
本田技研工業株式会社
電力変換装置、および車両
8日前
本田技研工業株式会社
情報処理方法及びプログラム
28日前
本田技研工業株式会社
制御装置、および、制御方法
29日前
本田技研工業株式会社
給電システムおよび給電方法
1か月前
本田技研工業株式会社
軟磁性鋼板およびその製造方法
今日
本田技研工業株式会社
有機物処理装置および有機物処理方法
今日
本田技研工業株式会社
有機物処理装置および有機物処理方法
今日
本田技研工業株式会社
負極、固体電池及び積層体の製造方法
1か月前
本田技研工業株式会社
正極、固体電池及び固体電池の製造方法
1か月前
本田技研工業株式会社
二酸化炭素回収装置及び二酸化炭素回収方法
1か月前
本田技研工業株式会社
電解システムの制御装置および電解システム
1日前
本田技研工業株式会社
音声認識装置、音声認識方法、及びプログラム
2日前
本田技研工業株式会社
情報処理装置、情報処理方法、およびプログラム
28日前
本田技研工業株式会社
三次元モデル生成装置及び三次元モデル評価システム
今日
本田技研工業株式会社
制御装置
1か月前
株式会社ダイセル
アルミニウム合金製摺動部材用潤滑剤
今日
本田技研工業株式会社
学習装置、推定装置、学習方法、推定方法及びプログラム
1か月前
本田技研工業株式会社
作動装置
28日前
本田技研工業株式会社
移動体の制御装置、移動体の制御方法、およびプログラム
23日前
続きを見る
他の特許を見る