TOP
|
特許
|
意匠
|
商標
特許ウォッチ
Twitter
他の特許を見る
公開番号
2025154683
公報種別
公開特許公報(A)
公開日
2025-10-10
出願番号
2024057820
出願日
2024-03-29
発明の名称
始動制御装置
出願人
本田技研工業株式会社
代理人
個人
,
個人
主分類
F02P
5/15 20060101AFI20251002BHJP(燃焼機関;熱ガスまたは燃焼生成物を利用する機関設備)
要約
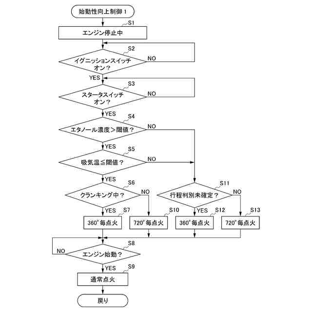
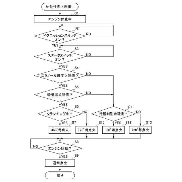
【課題】燃料中のエタノール濃度が高く、かつ吸気温や内燃機関の温度が低い場合でも良好な始動性を確保することができる始動制御装置を提供する。
【解決手段】エタノールを含む燃料を燃焼させて駆動する内燃機関(E)に適用される始動制御装置(30)において、前記燃料中のエタノール濃度を判定するエタノール濃度判定手段(31)と、前記エタノール濃度に応じて、前記内燃機関(E)を始動する際の点火タイミングを変更する点火タイミング変更手段(33)とを備え、前記点火タイミング変更手段(33)は、前記内燃機関(E)を始動する際に、前記エタノール濃度判定手段(31)によって前記エタノール濃度が閾値を超えていると判定されると、前記内燃機関(E)が始動するまで、前記内燃機関(E)のクランクシャフト(3)が360°回転する毎に点火を行う360°毎点火を実行する。
【選択図】図3
特許請求の範囲
【請求項1】
エタノールを含む燃料を燃焼させて駆動する内燃機関(E)に適用される始動制御装置(30)において、
前記燃料中のエタノール濃度を判定するエタノール濃度判定手段(31)と、
前記エタノール濃度に応じて、前記内燃機関(E)を始動する際の点火タイミングを変更する点火タイミング変更手段(33)とを備え、
前記点火タイミング変更手段(33)は、前記内燃機関(E)を始動する際に、前記エタノール濃度判定手段(31)によって前記エタノール濃度が閾値を超えていると判定されると、前記内燃機関(E)が始動するまで、前記内燃機関(E)のクランクシャフト(3)が360°回転する毎に点火を行う360°毎点火を実行することを特徴とする始動制御装置。
続きを表示(約 750 文字)
【請求項2】
吸気温を検知する吸気温センサ(10)を備え、
前記点火タイミング変更手段(33)は、前記内燃機関(E)を始動する際に、前記エタノール濃度判定手段(31)によって前記エタノール濃度が閾値を超えていると判定されても、前記吸気温が閾値を超えている場合は、前記内燃機関(E)の行程判別が完了した後に、前記360°毎点火から、前記内燃機関(E)のクランクシャフト(3)が720°回転する毎に点火を行う720°毎点火に切り換えることを特徴とする請求項1に記載の始動制御装置。
【請求項3】
前記点火タイミング変更手段(33)は、前記内燃機関(E)の始動前に前記360°毎点火を実行する際に、前記内燃機関(E)の始動後に適用される点火タイミング(A)より進角させた点火タイミング(B)を適用することを特徴とする請求項1または2に記載の始動制御装置。
【請求項4】
前記点火タイミング変更手段(33)は、前記内燃機関(E)の始動前に前記720°毎点火を実行する際に、前記内燃機関(E)の始動後に適用される点火タイミング(A)より進角させた点火タイミング(B)を適用し、一方、前記360°毎点火を実行する際は、前記720°毎点火の点火タイミング(C)より遅角させた点火タイミング(D)を適用することを特徴とする請求項3に記載の始動制御装置。
【請求項5】
前記始動制御装置(30)は、前記エタノール濃度判定手段(31)によって前記エタノール濃度が閾値を超えていると判定され、かつ前記吸気温が閾値以下である場合は、前記内燃機関(E)に供給する燃料を温める燃料加温手段(18a)を作動させることを特徴とする請求項2に記載の始動制御装置。
発明の詳細な説明
【技術分野】
【0001】
本発明は、始動制御装置に係り、特に、エタノールを含む燃料を燃焼させて駆動する内燃機関に適用される始動制御装置に関する。
続きを表示(約 1,600 文字)
【背景技術】
【0002】
従来から、内燃機関の始動制御装置において、クランクシャフトをクランキングして内燃機関を始動する際に、始動性を向上させるため、始動後に適用される点火タイミングとは異なる点火タイミングを適用する構成が知られている。
【0003】
特許文献1には、内燃機関の始動時に、クランクシャフトが360°回転する毎に点火を行う360°毎点火を実行し、内燃機関の行程判別が完了すると、クランクシャフトが720°回転する毎に点火を行う720°毎点火に切り換える始動制御装置が開示されている。
【先行技術文献】
【特許文献】
【0004】
特許第4930401号公報
【発明の概要】
【発明が解決しようとする課題】
【0005】
ここで、エタノールを含む燃料を燃焼させて駆動する内燃機関は、燃料中のエタノール濃度が所定の閾値を超えると共に、吸気温や内燃機関の温度が低い場合に、始動性が低下することが知られている。しかし、特許文献1の構成では、始動時に、初爆の発生機会が増える360°毎点火を実行するものの、行程判別が完了すると720°毎点火に切り換えるため、360°毎点火の実行中に始動しなかった場合には、始動性向上の効果が十分に得られないという課題があった。
【0006】
本発明の目的は、上記従来技術の課題を解決し、燃料中のエタノール濃度が高く、かつ吸気温や内燃機関の温度が低い場合でも良好な始動性を確保することができる始動制御装置を提供することにある。
【課題を解決するための手段】
【0007】
前記目的を達成するために、本発明は、エタノールを含む燃料を燃焼させて駆動する内燃機関(E)に適用される始動制御装置(30)において、前記燃料中のエタノール濃度を判定するエタノール濃度判定手段(31)と、前記エタノール濃度に応じて、前記内燃機関(E)を始動する際の点火タイミングを変更する点火タイミング変更手段(33)とを備え、前記点火タイミング変更手段(33)は、前記内燃機関(E)を始動する際に、前記エタノール濃度判定手段(31)によって前記エタノール濃度が閾値を超えていると判定されると、前記内燃機関(E)が始動するまで、前記内燃機関(E)のクランクシャフト(3)が360°回転する毎に点火を行う360°毎点火を実行する点に第1の特徴がある。
【0008】
また、吸気温を検知する吸気温センサ(10)を備え、前記点火タイミング変更手段(33)は、前記内燃機関(E)を始動する際に、前記エタノール濃度判定手段(31)によって前記エタノール濃度が閾値を超えていると判定されても、前記吸気温が閾値を超えている場合は、前記内燃機関(E)の行程判別が完了した後に、前記360°毎点火から、前記内燃機関(E)のクランクシャフト(3)が720°回転する毎に点火を行う720°毎点火に切り換える点に第2の特徴がある。
【0009】
また、前記点火タイミング変更手段(33)は、前記内燃機関(E)の始動前に前記360°毎点火を実行する際に、前記内燃機関(E)の始動後に適用される点火タイミング(A)より進角させた点火タイミング(B)を適用する点に第3の特徴がある。
【0010】
また、前記点火タイミング変更手段(33)は、前記内燃機関(E)の始動前に前記720°毎点火を実行する際に、前記内燃機関(E)の始動後に適用される点火タイミング(A)より進角させた点火タイミング(B)を適用し、一方、前記360°毎点火を実行する際は、前記720°毎点火の点火タイミング(C)より遅角させた点火タイミング(D)を適用する点に第4の特徴がある。
(【0011】以降は省略されています)
この特許をJ-PlatPat(特許庁公式サイト)で参照する
関連特許
本田技研工業株式会社
車両
6日前
本田技研工業株式会社
車両
6日前
本田技研工業株式会社
二次電池
2日前
本田技研工業株式会社
固体電池
2日前
本田技研工業株式会社
電気機器
7日前
本田技研工業株式会社
制御装置
6日前
本田技研工業株式会社
エンジン
7日前
本田技研工業株式会社
内燃機関
6日前
本田技研工業株式会社
固体電池
6日前
本田技研工業株式会社
排気装置
6日前
本田技研工業株式会社
排気装置
6日前
本田技研工業株式会社
除草装置
6日前
本田技研工業株式会社
発電セル
6日前
本田技研工業株式会社
排気装置
6日前
本田技研工業株式会社
触媒装置
2日前
本田技研工業株式会社
鞍乗型車両
6日前
本田技研工業株式会社
電極積層体
6日前
本田技研工業株式会社
鞍乗型車両
6日前
本田技研工業株式会社
鞍乗型車両
6日前
本田技研工業株式会社
リアクトル
6日前
本田技研工業株式会社
全固体電池
2日前
本田技研工業株式会社
樹脂成型品
7日前
本田技研工業株式会社
全固体電池
2日前
本田技研工業株式会社
電動船外機
2日前
本田技研工業株式会社
車両制御装置
6日前
本田技研工業株式会社
鞍乗り型車両
7日前
本田技研工業株式会社
始動制御装置
6日前
本田技研工業株式会社
燃料電池装置
6日前
本田技研工業株式会社
V型エンジン
7日前
本田技研工業株式会社
電池製造装置
6日前
本田技研工業株式会社
作業システム
6日前
本田技研工業株式会社
作業システム
7日前
本田技研工業株式会社
鞍乗り型車両
6日前
本田技研工業株式会社
始動制御装置
6日前
本田技研工業株式会社
燃料電池構造
6日前
本田技研工業株式会社
移動システム
7日前
続きを見る
他の特許を見る