TOP
|
特許
|
意匠
|
商標
特許ウォッチ
Twitter
他の特許を見る
公開番号
2025153228
公報種別
公開特許公報(A)
公開日
2025-10-10
出願番号
2024055593
出願日
2024-03-29
発明の名称
車両制御装置
出願人
本田技研工業株式会社
代理人
弁理士法人航栄事務所
主分類
G08G
1/16 20060101AFI20251002BHJP(信号)
要約
【課題】運転者に煩わしさを与える過剰な警報を抑制する。
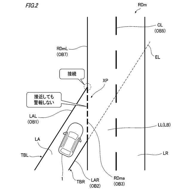
【解決手段】制御装置30は、車両1の周辺状況を認識する認識部31と、認識部31の認識結果に基づき、警報装置90を介して、車両1の乗員に対する警報を行う警報制御部32とを備える。認識部31は、車両1の左方から前方へ向かって延びる線状物体を、自車線の左側を区画する左側走路境界として認識し、車両1の右方から前方へ向かって延びる線状物体を、自車線の右側を区画する右側走路境界として認識する。警報制御部32は、左側走路境界として認識された線状物体、又は右側走路境界として認識された線状物体に車両1が接近した場合に、警報を行う一方、左側走路境界として認識された線状物体と、右側走路境界として認識された線状物体とのうちの一方が他方と接続されている場合には、当該線状物体に車両1が接近した際の警報を抑制する。
【選択図】図1
特許請求の範囲
【請求項1】
車両を制御する車両制御装置であって、
前記車両の周辺状況を認識する認識部と、
前記認識部の認識結果に基づき、前記車両が備える警報装置を介して、前記車両の乗員に対する警報を行うことが可能な警報制御部と、
を備え、
前記認識部は、
前記車両の左方から前方へ向かって延びる線状物体を、前記車両が走行する自車線の左側を区画する左側走路境界として認識し、
前記車両の右方から前方へ向かって延びる線状物体を、前記車両が走行する自車線の右側を区画する右側走路境界として認識し、
前記警報制御部は、
前記左側走路境界として認識された線状物体、又は前記右側走路境界として認識された線状物体に前記車両が接近した場合に、前記警報を行うことが可能である一方、
前記左側走路境界として認識された線状物体と、前記右側走路境界として認識された線状物体とのうちの一方が他方と接続されている場合には、当該線状物体に前記車両が接近した際の前記警報を抑制する、
車両制御装置。
続きを表示(約 1,300 文字)
【請求項2】
請求項1に記載の車両制御装置であって、
前記警報制御部は、
前記左側走路境界として認識された線状物体と、前記右側走路境界として認識された線状物体とのうちの一方が他方と接続されており、且つ、当該線状物体が破線をあらわすものである場合には、当該線状物体に前記車両が接近した際の前記警報を抑制する、
車両制御装置。
【請求項3】
請求項1に記載の車両制御装置であって、
前記認識部は、
前記左側走路境界として認識された線状物体が、前記右側走路境界として認識された線状物体と接続されており、且つ、過去に前記左側走路境界として認識された線状物体の延長線上にない場合には、当該線状物体に前記車両が接近した際の前記警報を抑制し、
前記右側走路境界として認識された線状物体が、前記左側走路境界として認識された線状物体と接続されており、且つ、過去に前記右側走路境界として認識された線状物体の延長線上にない場合には、当該線状物体に前記車両が接近した際の前記警報を抑制する、
車両制御装置。
【請求項4】
請求項1に記載の車両制御装置であって、
前記認識部は、
前記車両の左方から前方へ向かって延びる線状物体が、前記車両の右方から前方へ向かって延びる他の線状物体と接続されている場合には、当該他の線状物体と接続されていない場合と比べて、前記線状物体を前記左側走路境界として認識し難くし、
前記車両の右方から前方へ向かって延びる線状物体が、前記車両の左方から前方へ向かって延びる他の線状物体と接続されている場合には、当該他の線状物体と接続されていない場合と比べて、前記線状物体を前記右側走路境界として認識し難くする、
車両制御装置。
【請求項5】
請求項1に記載の車両制御装置であって、
前記認識部は、
前記車両の前方を走行する他車両を認識可能であり、
前記警報制御部は、
前記左側走路境界又は前記右側走路境界として認識された線状物体と前記他車両との間の距離が閾値以下となった場合には、当該線状物体に前記車両が接近した際の前記警報を抑制する、
車両制御装置。
【請求項6】
請求項1から5のいずれか1項に記載の車両制御装置であって、
前記警報制御部は、
前記警報を抑制しているときに、前記左側走路境界として認識された線状物体と、前記右側走路境界として認識された線状物体とが平行となったか否かを判定し、
前記左側走路境界として認識された線状物体と、前記右側走路境界として認識された線状物体とが平行となったと判定した場合に、前記警報の抑制を解除する、
車両制御装置。
【請求項7】
請求項1から5のいずれか1項に記載の車両制御装置であって、
前記認識部は、
前記自車線と他車線とが合流する合流地点を認識可能であり、
前記警報制御部は、
前記警報を抑制しているときに前記車両が前記合流地点を通過すると、前記警報の抑制を解除する、
車両制御装置。
発明の詳細な説明
【技術分野】
【0001】
本発明は、車両を制御する車両制御装置に関する。
続きを表示(約 1,600 文字)
【背景技術】
【0002】
近年、脆弱な立場にある交通参加者にも配慮した持続可能な輸送システムへのアクセスを提供するための取り組みが活発化している。この取り組みの1つとして、交通の安全性や利便性をより改善すべく、自動車等の車両における運転支援技術や自動運転技術に関する研究開発が行われている。
【0003】
運転支援技術の一例として、例えば、車両に搭載されたカメラにより撮像された画像から当該車両の走行すべきレーン(右側区画線と左側区画線との間のエリア)を認識し、上記車両の運転者が意図せずに、当該レーンから逸脱しそうであると判断した場合や、逸脱すると判断した場合に、運転者に対して警告を行うようにしたものがある(例えば下記特許文献1、2を参照)。
【先行技術文献】
【特許文献】
【0004】
特許5692668号公報
特許5716945号公報
【発明の概要】
【発明が解決しようとする課題】
【0005】
しかしながら、従来技術では、運転者に煩わしさを与え得る過剰な警報を抑制しつつ、運転者への警報を適切に行う観点で改善の余地があった。
【0006】
本発明は、運転者に煩わしさを与え得る過剰な警報を抑制しつつ、運転者への警報を適切に行うことを可能にする車両制御装置を提供する。
【課題を解決するための手段】
【0007】
本発明の一態様は、
車両を制御する車両制御装置であって、
前記車両の周辺状況を認識する認識部と、
前記認識部の認識結果に基づき、前記車両が備える警報装置を介して、前記車両の乗員に対する警報を行うことが可能な警報制御部と、
を備え、
前記認識部は、
前記車両の左方から前方へ向かって延びる線状物体を、前記車両が走行する自車線の左側を区画する左側走路境界として認識し、
前記車両の右方から前方へ向かって延びる線状物体を、前記車両が走行する自車線の右側を区画する右側走路境界として認識し、
前記警報制御部は、
前記左側走路境界として認識された線状物体、又は前記右側走路境界として認識された線状物体に前記車両が接近した場合に、前記警報を行うことが可能である一方、
前記左側走路境界として認識された線状物体と、前記右側走路境界として認識された線状物体とのうちの一方が他方と接続されている場合には、当該線状物体に前記車両が接近した際の前記警報を抑制する、
車両制御装置である。
【発明の効果】
【0008】
本発明によれば、運転者に煩わしさを与え得る過剰な警報を抑制しつつ、運転者への警報を適切に行うことを可能にする車両制御装置を提供できる。
【図面の簡単な説明】
【0009】
一実施形態の制御装置30を備える車両1の概略構成を示すブロック図である。
制御装置30による車両1の制御の第1例及び第2例を示す図である。
制御装置30による車両1の制御の第3例を示す図である。
制御装置30による車両1の制御の第4例を示す図である。
制御装置30が実行する処理の一例を示すフローチャートである。
【発明を実施するための形態】
【0010】
以下、本発明の車両制御装置の一実施形態について、図面を参照しながら説明する。以下の実施形態は本発明を限定するものではなく、以下の実施形態で説明する要素のすべてが本発明に必須のものとは限らない。また、本発明の趣旨を逸脱しない範囲において、以下の実施形態で説明する2以上の要素を任意に組み合わせてもよい。なお、以下では、同一又は類似の要素には同一又は類似の符号を付して、その説明を省略又は簡略化することがある。
(【0011】以降は省略されています)
この特許をJ-PlatPat(特許庁公式サイト)で参照する
関連特許
本田技研工業株式会社
車両
26日前
本田技研工業株式会社
車両
19日前
本田技研工業株式会社
車両
26日前
本田技研工業株式会社
固体電池
22日前
本田技研工業株式会社
排気装置
26日前
本田技研工業株式会社
排気装置
26日前
本田技研工業株式会社
発電セル
26日前
本田技研工業株式会社
二次電池
22日前
本田技研工業株式会社
触媒装置
22日前
本田技研工業株式会社
電動船外機
22日前
本田技研工業株式会社
全固体電池
22日前
本田技研工業株式会社
鞍乗型車両
26日前
本田技研工業株式会社
全固体電池
22日前
本田技研工業株式会社
電極積層体
26日前
本田技研工業株式会社
始動制御装置
26日前
本田技研工業株式会社
鞍乗り型車両
26日前
本田技研工業株式会社
始動制御装置
26日前
本田技研工業株式会社
燃料電池装置
26日前
本田技研工業株式会社
電池モジュール
22日前
本田技研工業株式会社
電池モジュール
22日前
本田技研工業株式会社
差圧式電解装置
13日前
本田技研工業株式会社
バッテリシステム
22日前
本田技研工業株式会社
回転電機のロータ
12日前
本田技研工業株式会社
バッテリシステム
22日前
本田技研工業株式会社
電気部品冷却構造
26日前
本田技研工業株式会社
電動無段変速装置
15日前
本田技研工業株式会社
駆動装置ユニット
16日前
本田技研工業株式会社
燃料電池スタック
26日前
本田技研工業株式会社
可変ファンネル装置
26日前
本田技研工業株式会社
コンデンサユニット
26日前
本田技研工業株式会社
再生正極の製造方法
22日前
本田技研工業株式会社
固体電池の製造方法
22日前
本田技研工業株式会社
固体電池の製造方法
22日前
本田技研工業株式会社
固体電池の製造方法
22日前
本田技研工業株式会社
二酸化炭素回収装置
22日前
本田技研工業株式会社
固体電池の製造方法
22日前
続きを見る
他の特許を見る