TOP
|
特許
|
意匠
|
商標
特許ウォッチ
Twitter
他の特許を見る
公開番号
2025158251
公報種別
公開特許公報(A)
公開日
2025-10-17
出願番号
2024060615
出願日
2024-04-04
発明の名称
車両
出願人
本田技研工業株式会社
代理人
弁理士法人桐朋
主分類
B60K
1/04 20190101AFI20251009BHJP(車両一般)
要約
【課題】蓄電装置と電動機とを最短距離で電気的に接続する。
【解決手段】車両10において、パッセンジャールームよりも車両10の進行方向における前方には、前側モータルーム24が配置されている。前側モータルーム24は、モータユニット14を収容する。前側モータルーム24には、モバイルバッテリ12を保持するスロット44が配置されている。
【選択図】図3
特許請求の範囲
【請求項1】
車体と、
蓄電装置を着脱可能に保持する保持部と、
該保持部と電気的に接続されると共に、車輪を駆動する電動機と、
を備える車両であって、
前記車体は、乗員が搭乗可能に設けられる乗員室と、該乗員室よりも前記車両の進行方向における前方に配置され、前記電動機を収容する電動機室と、を有し、
前記保持部は、前記電動機室に配置される、車両。
続きを表示(約 1,100 文字)
【請求項2】
請求項1記載の車両において、
前記保持部は、複数の前記蓄電装置をそれぞれ保持する複数の前記保持部を有する、車両。
【請求項3】
請求項2記載の車両において、
複数の前記保持部のうちの一の前記保持部と他の前記保持部とは、前記進行方向に対して前後に並ぶように前記電動機室に配置される、車両。
【請求項4】
請求項3記載の車両において、
前記一の前記保持部は、前記他の前記保持部よりも前記前方に配置され、
前記一の前記保持部における前記蓄電装置の着脱方向である一の着脱方向と、前記他の前記保持部における前記蓄電装置の着脱方向である他の着脱方向とが、互いに平行とならないように、前記一の前記保持部と前記他の前記保持部とが前記電動機室に配置される、車両。
【請求項5】
請求項4記載の車両において、
前記他の着脱方向は、鉛直方向に対して該他の着脱方向の上端側が前記進行方向における前記前方に傾斜するように設けられる、車両。
【請求項6】
請求項1~5のいずれか1項に記載の車両において、
前記電動機室は、該電動機室における上部に形成され、前記車両の外部に開放される開口と、該開口を開閉可能に閉塞する閉塞部と、を有する、車両。
【請求項7】
請求項6記載の車両において、
前記蓄電装置は、前記開口を介して前記保持部に着脱され、
前記保持部は、上方から視て、該保持部に保持された前記蓄電装置が前記開口の内端縁の内側に位置するように設けられる、車両。
【請求項8】
請求項7記載の車両において、
前記保持部は、複数の前記蓄電装置をそれぞれ保持する複数の前記保持部を有し、
複数の前記保持部の全ては、複数の該保持部に保持された複数の前記蓄電装置の全てが、前記上方から視て、前記開口の前記内端縁の内側に位置するように設けられる、車両。
【請求項9】
請求項6~8のいずれか1項に記載の車両において、
前記保持部は、前記閉塞部を開けた状態で、該保持部に保持された前記蓄電装置の上方を向く面が、該上方から視て、全て視認可能となるように設けられる、車両。
【請求項10】
請求項1~9のいずれか1項に記載の車両において、
前記保持部は、該保持部に保持された前記蓄電装置の前端が、前記前方の前記車輪である前輪の前端よりも後方に位置するように設けられる、車両。
(【請求項11】以降は省略されています)
発明の詳細な説明
【技術分野】
【0001】
本発明は、車両に関する。
続きを表示(約 1,300 文字)
【背景技術】
【0002】
国際公開第2020/085293号には、四輪の電動車両(車両)が開示されている。電動車両には、複数のバッテリパック(蓄電装置)が搭載される。電動車両に備わる電動モータ(電動機)は、複数のバッテリパックから供給される電力で駆動する。電動モータが駆動して車輪が回転することで、電動車両が走行する。
【先行技術文献】
【特許文献】
【0003】
国際公開第2020/085293号
【発明の概要】
【発明が解決しようとする課題】
【0004】
四輪の電動車両は、エンジンを搭載した四輪の車両(エンジン車)と略同じ外観形状を有する。エンジン車では、エンジンを収容するエンジンルームが車体の前部に設けられる。エンジン車の車体を流用して電動車両を構成する場合、エンジンルームであった車体の前部に電動機が配置される。この場合、蓄電装置と電動機とが最短距離で電気的に接続されるように、該蓄電装置を配置することが望まれている。
【0005】
本発明は、上記した課題を解決することを目的とする。
【課題を解決するための手段】
【0006】
本発明の態様は、車体と、蓄電装置を着脱可能に保持する保持部と、該保持部と電気的に接続されると共に、車輪を駆動する電動機と、を備える車両であって、前記車体は、乗員が搭乗可能に設けられる乗員室と、該乗員室よりも前記車両の進行方向における前方に配置され、前記電動機を収容する電動機室と、を有し、前記保持部は、前記電動機室に配置される。
【発明の効果】
【0007】
本発明によれば、電動機室に電動機及び保持部が配置されるので、該保持部に保持された蓄電装置と電動機とを最短距離で電気的に接続することができる。
【図面の簡単な説明】
【0008】
図1は、本実施形態に係る車両の側面図である。
図2は、図1の車両の底面図である。
図3は、図1の車両の前部の模式的平面図である。
図4は、図1の車両の模式的正面図である。
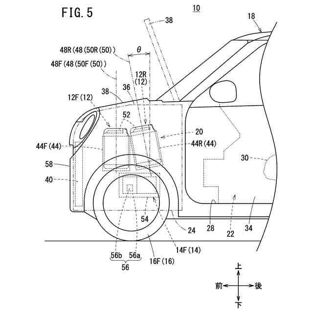
図5は、変形例に係る車両の前部の側面図である。
【発明を実施するための形態】
【0009】
[本実施形態に係る車両10の構成]
図1は、本実施形態に係る車両10の側面図である。図2は、車両10の底面図である。図3は、車両10の前部の模式的平面図である。図4は、車両10の模式的正面図である。以下の説明では、車両10の進行方向を前方として、前後、上下及び左右の方向を説明する。
【0010】
車両10は、モバイルバッテリ12(蓄電装置)の電力によって駆動するモータユニット14(電動機)を備えた電気自動車(EV)である。車両10は、前方の車輪16である2つの前輪16Fと、後方の車輪16である2つの後輪16Rとを備える四輪の電動車両である。車両10は、2つの前輪16Fと2つの後輪16Rとがそれぞれ回転することで走行する四輪駆動(4WD)の電気自動車である。
(【0011】以降は省略されています)
この特許をJ-PlatPat(特許庁公式サイト)で参照する
関連特許
本田技研工業株式会社
車両
1か月前
本田技研工業株式会社
車両
1か月前
本田技研工業株式会社
車両
1か月前
本田技研工業株式会社
車両
1か月前
本田技研工業株式会社
車両
1か月前
本田技研工業株式会社
飛行体
1か月前
本田技研工業株式会社
除草装置
1か月前
本田技研工業株式会社
排気装置
1か月前
本田技研工業株式会社
触媒装置
1か月前
本田技研工業株式会社
内燃機関
1か月前
本田技研工業株式会社
固体電池
1か月前
本田技研工業株式会社
固体電池
1か月前
本田技研工業株式会社
内燃機関
1か月前
本田技研工業株式会社
制御装置
1か月前
本田技研工業株式会社
電気機器
1か月前
本田技研工業株式会社
排気装置
1か月前
本田技研工業株式会社
二次電池
1か月前
本田技研工業株式会社
収容装置
1か月前
本田技研工業株式会社
電気部品
1か月前
本田技研工業株式会社
排気装置
1か月前
本田技研工業株式会社
清掃装置
1か月前
本田技研工業株式会社
発電セル
1か月前
本田技研工業株式会社
エンジン
1か月前
本田技研工業株式会社
電気機器
1か月前
本田技研工業株式会社
リアクトル
1か月前
本田技研工業株式会社
電動船外機
1か月前
本田技研工業株式会社
全固体電池
1か月前
本田技研工業株式会社
鞍乗型車両
1か月前
本田技研工業株式会社
鞍乗型車両
1か月前
本田技研工業株式会社
電極積層体
1か月前
本田技研工業株式会社
樹脂成型品
1か月前
本田技研工業株式会社
鞍乗型車両
1か月前
本田技研工業株式会社
全固体電池
1か月前
本田技研工業株式会社
燃料電池構造
1か月前
本田技研工業株式会社
燃料電池装置
1か月前
本田技研工業株式会社
始動制御装置
1か月前
続きを見る
他の特許を見る