TOP
|
特許
|
意匠
|
商標
特許ウォッチ
Twitter
他の特許を見る
公開番号
2025154969
公報種別
公開特許公報(A)
公開日
2025-10-10
出願番号
2024058289
出願日
2024-03-29
発明の名称
電極積層体
出願人
本田技研工業株式会社
代理人
個人
,
個人
,
個人
主分類
H01M
10/0585 20100101AFI20251002BHJP(基本的電気素子)
要約
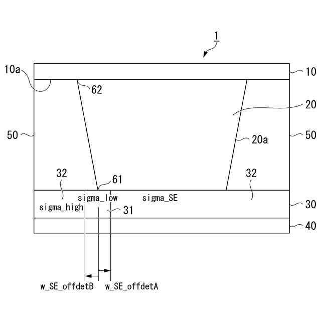
【課題】電池の正極において正極活物質層と絶縁部材の境目に電流が集中すること及び金属リチウムまたはリチウム合金を含む負極側で局所的にリチウムの析出を抑制する。
【解決手段】固体電解質層30は正極活物質層20と絶縁部材50の境界線から固体電解質層30の厚さ方向に対して垂直方向の一方の方向に距離Aまでの領域及び他方の方向に距離Bまでの領域において低イオン伝導領域31を有し正極活物質層20は正極集電体10から離れる方向に向かって幅が狭くなるように傾斜する傾斜部20aを有し距離Aと距離Bは、下記の関係式(1)を満たす電極積層体1。距離A=距離B、距離A≦距離B、距離A≧距離B (1)
【選択図】図1
特許請求の範囲
【請求項1】
負極の反応として金属リチウムの析出-溶解反応を利用した電極積層体であって、
正極集電体と、正極活物質層と、固体電解質層と、負極集電体と、を備え、
前記正極活物質層の外周に絶縁部材が配置され、
前記固体電解質層は、前記正極活物質層と前記絶縁部材の境界線から前記固体電解質層の厚さ方向に対して垂直方向の一方の方向に距離Aまでの領域、および前記正極活物質層と前記絶縁部材の境界線から前記固体電解質層の厚さ方向に対して垂直方向の他方の方向に距離Bまでの領域において、固体電解質のイオン伝導度が、前記固体電解質層の中央部における固体電解質のイオン伝導度よりも低い低イオン伝導領域を有し、
前記正極活物質層は、前記正極集電体から離れる方向に向かって幅が狭くなるように傾斜する傾斜部を有し、
前記距離Aと前記距離Bは、下記の関係式(1)を満たす、電極積層体。
距離A=距離B、距離A≦距離B、距離A≧距離B (1)
続きを表示(約 200 文字)
【請求項2】
前記傾斜部と前記固体電解質層が接触する第1の接触部は、前記傾斜部と前記正極集電体が接触する第2の接触部から、積層方向に直線を引いた時の前記固体電解質層上の点までの距離において、も前記低イオン伝導領域の占める割合が高い、請求項1に記載の電極積層体。
【請求項3】
前記距離Aが500μm以下、前記距離Bが500μm以下である、請求項1に記載の電極積層体。
発明の詳細な説明
【技術分野】
【0001】
本発明は、電極積層体の製造方法に関する。
続きを表示(約 1,400 文字)
【背景技術】
【0002】
全固体電池等の電池は、例えば、正極集電体上に電極合剤を塗工して正極活物質層を形成し、さらに、正極活物質層の外周に絶縁部材を形成したシートに対して、正極活物質層の上面に固体電解質を配置したシートを、任意の形状に切り出し、正極、負極を交互に積層して、プレス成形することにより製造されている。
【0003】
このようにして得られた電池の正極では、正極活物質層が、正極集電体に向かって広がるように傾斜する傾斜部を有する(例えば、特許文献1参照)。
【先行技術文献】
【特許文献】
【0004】
特開2020-173954号公報
【発明の概要】
【発明が解決しようとする課題】
【0005】
正極活物質層が、正極集電体に向かって広がるように傾斜する傾斜部を有する場合、正極活物質層と絶縁部材の境目に電流が集中し、金属リチウムまたはリチウム合金を含む負極側で局所的にリチウムが析出することが課題である。
【0006】
本願は上記課題の解決のため、電池の正極において、正極活物質層と絶縁部材の境目に電流が集中することを抑制し、金属リチウムまたはリチウム合金を含む負極側で局所的にリチウムが析出することを抑制することを目的としたものである。そして、延いてはエネルギーの効率化に寄与するものである。
【課題を解決するための手段】
【0007】
上記目的を達成するために、本発明は以下の手段を提供する。
[1]負極の反応として金属リチウムの析出-溶解反応を利用した電極積層体であって、
正極集電体と、正極活物質層と、固体電解質層と、負極集電体と、を備え、
前記正極活物質層の外周に絶縁部材が配置され、
前記固体電解質層は、前記正極活物質層と前記絶縁部材の境界線から前記固体電解質層の厚さ方向に対して垂直方向の一方の方向に距離Aまでの領域、および前記正極活物質層と前記絶縁部材の境界線から前記固体電解質層の厚さ方向に対して垂直方向の他方の方向に距離Bまでの領域において、固体電解質のイオン伝導度が、前記固体電解質層の中央部における固体電解質のイオン伝導度よりも低い低イオン伝導領域を有し、
前記正極活物質層は、前記正極集電体から離れる方向に向かって幅が狭くなるように傾斜する傾斜部を有し、
前記距離Aと前記距離Bは、下記の関係式(1)を満たす、電極積層体。
距離A=距離B、距離A≦距離B、距離A≧距離B (1)
【0008】
本発明の電極積層体は、正極活物質層と絶縁部材の境目に電流が集中することを抑制でき、金属リチウムまたはリチウム合金を含む全固体電池用負極側で局所的にリチウムが析出することを抑制できる。
【0009】
[2]前記傾斜部と前記固体電解質層が接触する第1の接触部は、前記傾斜部と前記正極集電体が接触する第2の接触部から、積層方向に直線を引いた時の前記固体電解質層上の点までの距離において、前記低イオン伝導領域の占める割合が高い、[1]に記載の電極積層体。
【0010】
本発明の電極積層体は、正極活物質層と絶縁部材の境目に電流が集中することを抑制でき、金属リチウムまたはリチウム合金を含む全固体電池用負極側で局所的にリチウムが析出することを抑制できる。
(【0011】以降は省略されています)
この特許をJ-PlatPat(特許庁公式サイト)で参照する
関連特許
本田技研工業株式会社
車両
28日前
本田技研工業株式会社
車両
27日前
本田技研工業株式会社
車両
27日前
本田技研工業株式会社
車両
20日前
本田技研工業株式会社
車両
28日前
本田技研工業株式会社
飛行体
28日前
本田技研工業株式会社
発電セル
27日前
本田技研工業株式会社
電気機器
28日前
本田技研工業株式会社
エンジン
28日前
本田技研工業株式会社
固体電池
23日前
本田技研工業株式会社
触媒装置
23日前
本田技研工業株式会社
制御装置
27日前
本田技研工業株式会社
内燃機関
27日前
本田技研工業株式会社
固体電池
27日前
本田技研工業株式会社
排気装置
27日前
本田技研工業株式会社
電気機器
28日前
本田技研工業株式会社
二次電池
23日前
本田技研工業株式会社
排気装置
27日前
本田技研工業株式会社
電気部品
28日前
本田技研工業株式会社
清掃装置
28日前
本田技研工業株式会社
収容装置
28日前
本田技研工業株式会社
除草装置
27日前
本田技研工業株式会社
排気装置
27日前
本田技研工業株式会社
内燃機関
28日前
本田技研工業株式会社
鞍乗型車両
27日前
本田技研工業株式会社
全固体電池
23日前
本田技研工業株式会社
電動船外機
23日前
本田技研工業株式会社
電極積層体
27日前
本田技研工業株式会社
鞍乗型車両
27日前
本田技研工業株式会社
リアクトル
27日前
本田技研工業株式会社
樹脂成型品
28日前
本田技研工業株式会社
全固体電池
23日前
本田技研工業株式会社
鞍乗型車両
27日前
本田技研工業株式会社
駆動システム
28日前
本田技研工業株式会社
作業システム
27日前
本田技研工業株式会社
鞍乗り型車両
27日前
続きを見る
他の特許を見る